Запчасти Komatsu D60A-8 ПОЛ (ШУМОПОДАВЛ. ДЛЯ EC) (DA-8A)(№-) ШУМОПОДАВЛ. ДЛЯ EC

Схема запчастей Komatsu D60A-8 - ПОЛ (ШУМОПОДАВЛ. ДЛЯ EC) (DA-8A)(№-) ШУМОПОДАВЛ. ДЛЯ EC
FIT
1:1
100%

Артикул

Название

Примечание

Количество

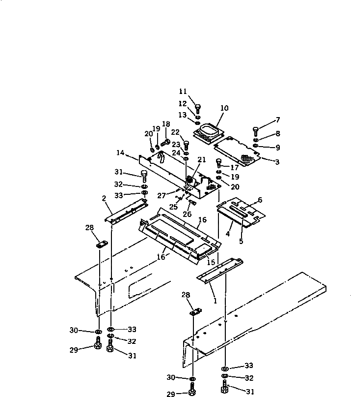
1

130-54-72280

FLOOR,L.H.

SN: 45330-UP

1шт.

2

130-54-72270

FLOOR,R.H.

SN: 45330-UP

1шт.

3

144-A62-8750

FLOOR

SN: 45330-UP

1шт.

4

144-A62-8760

ABSORBER

SN: 45330-UP

1шт.

5

144-A62-8770

ABSORBER

SN: 45330-UP

1шт.

6

144-A62-8410

SEAL

SN: 45330-UP

1шт.

7

01010-31225

BOLT

SN: 45330-UP

4шт.

8

01602-01236

WASHER,SPRING

SN: 45330-UP

4шт.

9

01643-31232

WASHER

SN: 45330-UP

4шт.

10

144-A62-8590

FLOOR

SN: 45330-UP

1шт.

11

01010-31225

BOLT

SN: 45330-UP

2шт.

12

01602-01236

WASHER,SPRING

SN: 45330-UP

2шт.

13

01643-31232

WASHER

SN: 45330-UP

2шт.

14

144-A62-8720

FLOOR

SN: 45330-UP

1шт.

15

144-A62-8730

ABSORBER

SN: 45330-UP

1шт.

16

144-A62-8410

SEAL

SN: 45330-UP

3шт.

17

01010-31225

BOLT

SN: 45330-UP

6шт.

18

01010-31230

BOLT

SN: 45330-UP

3шт.

19

01602-01236

WASHER,SPRING

SN: 45330-UP

9шт.

20

01643-31232

WASHER

SN: 45330-UP

9шт.

21

144-54-26250

COVER

SN: 45330-UP

1шт.

22

01010-31025

BOLT

SN: 45330-UP

2шт.

23

01602-01030

WASHER,SPRING

SN: 45330-UP

2шт.

24

01643-31032

WASHER

SN: 45330-UP

2шт.

25

141-54-12290

SPRING

SN: 45330-UP

1шт.

26

04205-10616

PIN

SN: 45330-UP

2шт.

27

04050-11610

PIN,COTTER

SN: 45330-UP

2шт.

28

120-54-35240

PLATE

SN: 45330-UP

2шт.

29

01010-31645

BOLT

SN: 45330-UP

4шт.

30

01643-31645

WASHER

SN: 45330-UP

4шт.

31

01010-31230

BOLT

SN: 45330-UP

10шт.

32

01602-01236

WASHER,SPRING

SN: 45330-UP

10шт.

33

01643-31232

WASHER

SN: 45330-UP

10шт.

Выбрано товаров: 33