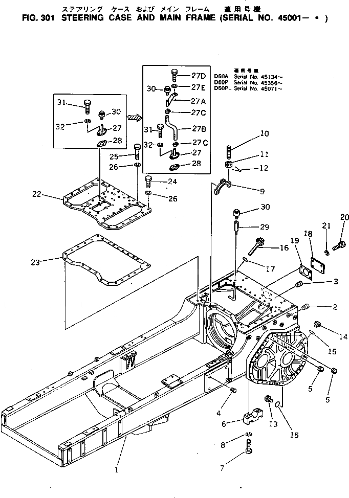
Запчасти Komatsu D60A-8 КОРПУС БЛОКА УПРАВЛЕНИЯ ПОВОРОТОМ И ОСНОВНАЯ РАМА(№-.) СИСТЕМАУПРАВЛЕНИЯ ПОВОРОТОМ И КОНЕЧНАЯ ПЕРЕДАЧА

Схема запчастей Komatsu D60A-8 - КОРПУС БЛОКА УПРАВЛЕНИЯ ПОВОРОТОМ И ОСНОВНАЯ РАМА(№-.) СИСТЕМАУПРАВЛЕНИЯ ПОВОРОТОМ И КОНЕЧНАЯ ПЕРЕДАЧА
FIT
1:1
100%

Артикул

Название

Примечание

Количество

|$0

144-21-00401

MAIN FRAME ASS'Y

SN: 45134-.

1шт.

|$1

144-21-00400

MAIN FRAME ASS'Y

SN: 45001-45133

1шт.

1

144-21-51300

CASE AND FRAME

SN: 45134-.

1шт.

1

0

CASE AND FRAME

SN: 45001-45133

1шт.

2

07049-03342

PLUG

SN: 45001-@

6шт.

3

07049-02430

PLUG

SN: 45001-@

9шт.

4

07049-02025

PLUG

SN: 45001-@

8шт.

5

131-21-41520

PLUG

SN: 45001-@

4шт.

6

141-21-31330

CAP

SN: 45001-@

4шт.

7

01010-52295

BOLT

SN: 45001-@

8шт.

8

01602-22268

WASHER,SPRING

SN: 45001-@

8шт.

9

144-21-12190

CAP

SN: 45001-@

2шт.

10

01123-62200

STUD

SN: 45001-@

4шт.

11

01592-02226

NUT

SN: 45001-@

4шт.

12

04050-15040

PIN,COTTER

SN: 45001-@

4шт.

13

07044-13620

PLUG

SN: 45001-@

4шт.

14

07040-13618

PLUG

SN: 45001-@

2шт.

15

07002-03634

O-RING

SN: 45001-@

6шт.

16

144-21-51380

GAUGE

SN: 45134-@

1шт.

16

144-21-11252

GAUGE

SN: 45001-45133

1шт.

17

07000-03038

O-RING

SN: 45001-@

1шт.

18

144-21-11950

PLATE

SN: 45001-@

1шт.

19

144-21-11960

GASKET

SN: 45001-@

1шт.

20

01010-51635

BOLT

SN: 45001-@

4шт.

21

01602-21648

WASHER,SPRING

SN: 45001-@

4шт.

22

144-21-11970

COVER

SN: 45001-@

1шт.

23

144-21-11421

GASKET

SN: 45001-@

1шт.

24

01010-51435

BOLT

SN: 45001-@

5шт.

25

01010-51445

BOLT

SN: 45001-@

5шт.

26

01602-21442

WASHER,SPRING

SN: 45001-@

10шт.

27

144-21-11981

FLANGE

SN: 45582-@

1шт.

27

144-21-11980

FLANGE

SN: 45001-45581

1шт.

27A

144-21-51210

EXTENSION

SN: 45134-@

1шт.

27B

144-21-51220

HOSE

SN: 45134-@

1шт.

27C

07281-00289

CLAMP

SN: 45134-@

2шт.

27D

01010-51020

BOLT

SN: 45134-@

1шт.

27E

01602-21030

WASHER,SPRING

SN: 45134-@

1шт.

28

135-43-31160

GASKET

SN: 45001-@

1шт.

29

154-21-11830

NIPPLE

SN: 45001-@

2шт.

30

07030-00252

BREATHER

SN: 45001-@

3шт.

31

01010-51025

BOLT

SN: 45001-@

2шт.

32

01602-21030

WASHER,SPRING

SN: 45001-@

2шт.

Выбрано товаров: 42