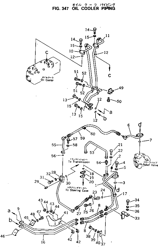
Запчасти Komatsu D60A-8 ЛИНИИ МАСЛООХЛАДИТЕЛЯ СИСТЕМАУПРАВЛЕНИЯ ПОВОРОТОМ И КОНЕЧНАЯ ПЕРЕДАЧА

Схема запчастей Komatsu D60A-8 - ЛИНИИ МАСЛООХЛАДИТЕЛЯ СИСТЕМАУПРАВЛЕНИЯ ПОВОРОТОМ И КОНЕЧНАЯ ПЕРЕДАЧА
FIT
1:1
100%

Артикул

Название

Примечание

Количество

1

144-49-19310

TUBE

SN: 45001-UP

1шт.

2

07042-20108

PLUG

SN: 45001-UP

1шт.

3

07000-03025

O-RING

SN: 45001-UP

1шт.

4

01010-51070

BOLT

SN: 45001-UP

2шт.

5

01602-21030

WASHER,SPRING

SN: 45001-UP

2шт.

6

144-49-19342

TUBE

SN: 45001-UP

1шт.

7

07000-03025

O-RING

SN: 45001-UP

1шт.

8

07102-20504

HOSE

SN: 45001-UP

2шт.

9

144-49-51110

TUBE

SN: 45001-UP

1шт.

10

144-49-51140

TUBE

SN: 45001-UP

1шт.

11

144-49-51130

TUBE

SN: 45001-UP

1шт.

12

07000-03025

O-RING

SN: 45001-UP

4шт.

13

01010-51030

BOLT

SN: 45001-UP

4шт.

14

01010-51055

BOLT

SN: 45001-UP

4шт.

15

01602-21030

WASHER,SPRING

SN: 45001-UP

8шт.

16

144-49-51120

TUBE

SN: 45001-UP

1шт.

17

144-49-51510

TUBE

SN: 45001-UP

1шт.

18

07000-03025

O-RING

SN: 45001-UP

1шт.

19

144-49-13671

SPACER

SN: 45001-UP

1шт.

20

144-49-13680

GASKET

SN: 45001-UP

1шт.

21

01010-51075

BOLT

SN: 45001-UP

2шт.

22

01602-21030

WASHER,SPRING

SN: 45001-UP

2шт.

23

144-49-18352

TUBE

SN: 45001-UP

1шт.

24

07000-03025

O-RING

SN: 45001-UP

1шт.

25

01010-51030

BOLT

SN: 45001-UP

2шт.

26

01602-21030

WASHER,SPRING

SN: 45001-UP

2шт.

27

07102-20504

HOSE

SN: 45001-UP

1шт.

28

144-49-19321

TUBE

SN: 45001-UP

1шт.

29

07042-20108

PLUG

SN: 45001-UP

1шт.

30

07000-03022

O-RING

SN: 45001-UP

1шт.

31

01010-51070

BOLT

SN: 45001-UP

2шт.

32

01602-21030

WASHER,SPRING

SN: 45001-UP

2шт.

33

144-49-18550

BRACKET

SN: 45001-UP

1шт.

34

01010-51230

BOLT

SN: 45001-UP

2шт.

35

01602-21236

WASHER,SPRING

SN: 45001-UP

2шт.

36

01643-31232

WASHER

SN: 45001-UP

2шт.

37

144-49-18560

PLATE

SN: 45001-UP

1шт.

38

01010-51020

BOLT

SN: 45001-UP

1шт.

39

01602-21030

WASHER,SPRING

SN: 45001-UP

1шт.

40

01643-31032

WASHER

SN: 45001-UP

1шт.

41

144-49-13462

BRACKET

SN: 45001-UP

1шт.

42

07283-22236

CLIP

SN: 45001-UP

2шт.

43

01599-01011

NUT

SN: 45001-UP

4шт.

44

01643-31032

WASHER

SN: 45001-UP

4шт.

45

144-49-13491

PLATE

SN: 45001-UP

1шт.

46

144-49-13472

CLAMP

SN: 45001-UP

1шт.

47

01010-51230

BOLT

SN: 45001-UP

1шт.

48

01602-21236

WASHER,SPRING

SN: 45001-UP

1шт.

49

144-49-51150

BRACKET

SN: 45001-UP

1шт.

50

01010-51040

BOLT

SN: 45001-UP

2шт.

51

01010-51030

BOLT

SN: 45001-UP

2шт.

52

01602-21030

WASHER,SPRING

SN: 45001-UP

2шт.

53

144-49-51520

TUBE

SN: 45001-UP

1шт.

54

07213-50813

CONNECTOR

SN: 45001-UP

2шт.

55

144-49-19372

TUBE

SN: 45001-UP

1шт.

56

07000-03025

O-RING

SN: 45001-UP

1шт.

57

01010-51035

BOLT

SN: 45001-UP

2шт.

58

01602-21030

WASHER,SPRING

SN: 45001-UP

2шт.

59

07102-20409

HOSE

SN: 45001-UP

1шт.

60

08036-02514

CLIP

SN: 45001-UP

1шт.

Выбрано товаров: 0