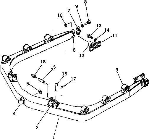
Запчасти Komatsu D60A-8 УСИЛЕНН. С-ОБРАЗН. РАМА ОПЦИОННЫЕ КОМПОНЕНТЫ

Схема запчастей Komatsu D60A-8 - УСИЛЕНН. С-ОБРАЗН. РАМА ОПЦИОННЫЕ КОМПОНЕНТЫ
FIT
1:1
100%

Артикул

Название

Примечание

Количество

|1

144-854-0052

C-FRAME ASS'Y

SN: 45001-UP

1шт.

1

0

FRAME

SN: 45001-UP

1шт.

2

144-854-2812

BRACKET,L.H. (WELDED)

SN: 45001-UP

1шт.

|2

144-854-2822

BRACKET,R.H. (WELDED)

SN: 45001-UP

1шт.

3

144-70-13210

BRACKET,L.H. (WELDED)

SN: 45001-UP

3шт.

|3

144-70-13220

BRACKET,R.H. (WELDED)

SN: 45001-UP

3шт.

4

144-854-2870

SHAFT (WELDED)

SN: 45001-UP

1шт.

5

140-70-13130

COLLAR (WELDED)

SN: 45001-UP

1шт.

6

0

PIVOT,(WELDED) (KIT)

SN: 45001-UP

2шт.

7

140-70-13151

CAP (KIT)

SN: 45001-UP

2шт.

8

01011-82430

BOLT (KIT)

SN: 45001-UP

4шт.

9

01643-32460

WASHER (KIT)

SN: 45001-UP

4шт.

10

130-70-13241

NUT (KIT)

SN: 45001-UP

4шт.

11

144-70-13180

TRUNNION

SN: 45001-UP

2шт.

12

144-70-13190

SHAFT

SN: 45001-UP

1шт.

13

01010-52045

BOLT

SN: 45001-UP

16шт.

14

01643-32060

WASHER

SN: 45001-UP

16шт.

15

144-817-4110

SHAFT

SN: 45001-UP

2шт.

16

140-70-14230

PIN

SN: 45001-UP

2шт.

17

04050-13015

PIN

SN: 45001-UP

2шт.

18

07020-00000

FITTING,GREASE

SN: 45001-UP

2шт.

|$$22

SERVICE KIT

-1шт.

|6

140-70-00032

PIVOT ASS'Y

SN: 45001-UP

2шт.

6

0

PIVOT

SN: 45001-UP

1шт.

7

140-70-13151

CAP

SN: 45001-UP

1шт.

8

01011-82430

BOLT

SN: 45001-UP

2шт.

9

01643-32460

WASHER

SN: 45001-UP

2шт.

10

130-70-13241

NUT

SN: 45001-UP

2шт.

Выбрано товаров: 0