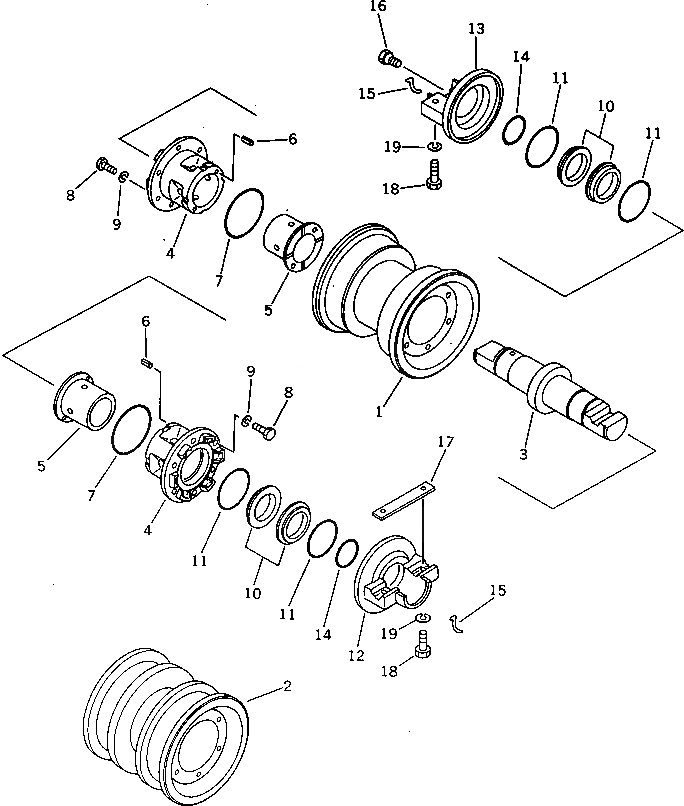
Запчасти Komatsu D60A-8 ОПОРНЫЙ КАТОК(№-8) ГУСЕНИЦЫ

Схема запчастей Komatsu D60A-8 - ОПОРНЫЙ КАТОК(№-8) ГУСЕНИЦЫ
FIT
1:1
100%

Артикул

Название

Примечание

Количество

|1

14X-30-00080

TRACK ROLLER ASS'Y,SIMGLE FLANGE

SN: 45409-@

8шт.

|1

0

TRACK ROLLER ASS'Y,SINGLE FLANGE

SN: 45042-45408

8шт.

|1

0

TRACK ROLLER ASS'Y,SINGLE FLANGE

SN: 45001-45041

8шт.

|1

14X-30-00090

TRACK ROLLER ASS'Y,DOUBLE FLANGE

SN: 45409-@

4шт.

|1

0

TRACK ROLLER ASS'Y,DOUBLE FLANGE

SN: 45042-45408

4шт.

|1

0

TRACK ROLLER ASS'Y,DOUBLE FLANGE

SN: 45001-45041

4шт.

1

141-30-36111

ROLLER,TRACK¤ SINGLE

SN: 45370-45408

1шт.

|1

0

ROLLER,TRACK¤ SINGLE

SN: 45001-45369

1шт.

2

141-30-36121

ROLLER,TRACK¤ DOUBLE

SN: 45370-45408

1шт.

|2

0

ROLLER,TRACK¤ DOUBLE

SN: 45001-45369

1шт.

3

141-30-36130

SHAFT

SN: 45001-45408

1шт.

3

141-30-00592

BUSHING ASS'Y

SN: 45001-45408

2шт.

4

141-30-36144

BUSHING

SN: 45001-45408

1шт.

5

141-30-36150

BUSHING

SN: 45001-45408

1шт.

6

141-30-36310

PIN

SN: 45001-45408

2шт.

7

07000-05105

O-RING (K9)

SN: 45001-45408

2шт.

8

01010-51030

BOLT

SN: 45001-45408

12шт.

9

01602-21030

WASHER,SPRING

SN: 45001-45408

12шт.

|10

141-30-00616

FLOATING SEAL ASS'Y

SN: 45042-45408

2шт.

|10

0

FLOATING SEAL ASS'Y

SN: 45001-45041

2шт.

10

0

RING

SN: 45042-45408

2шт.

|10

0

RING

SN: 45001-45041

2шт.

11

0

O-RING

SN: 45001-45408

2шт.

12

141-30-36334

COLLAR,INNER

SN: 45001-45408

1шт.

13

141-30-36344

COLLAR,OUTER

SN: 45001-45408

1шт.

14

07000-03052

O-RING (K9)

SN: 45001-45408

2шт.

15

141-30-36190

PIN

SN: 45001-45408

2шт.

16

07052-21624

PLUG

SN: 45001-45408

1шт.

17

141-30-36180

KEY

SN: 45001-45408

12шт.

18

01010-51865

BOLT

SN: 45001-@

48шт.

19

01602-21854

WASHER,SPRING

SN: 45001-45408

48шт.

Выбрано товаров: 31