Запчасти Komatsu D60A-8 ГИДР. БАК. (/) УПРАВЛ-Е РАБОЧИМ ОБОРУДОВАНИЕМ

Схема запчастей Komatsu D60A-8 - ГИДР. БАК. (/) УПРАВЛ-Е РАБОЧИМ ОБОРУДОВАНИЕМ
FIT
1:1
100%

Артикул

Название

Примечание

Количество

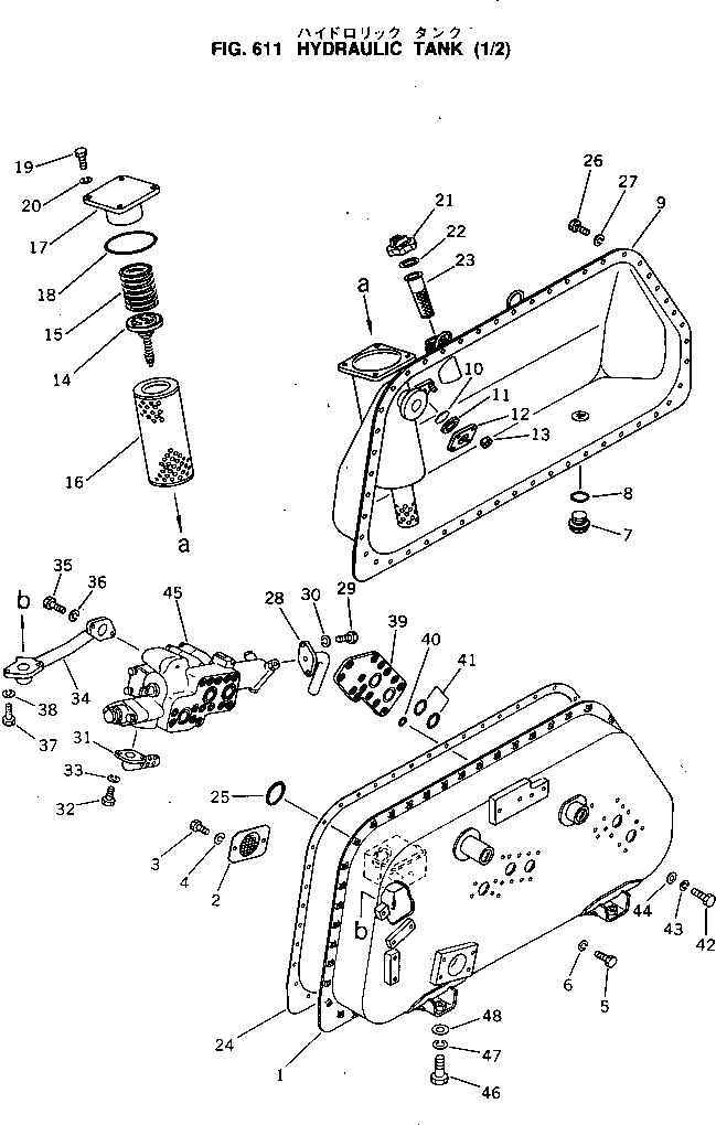
|1

144-60-21101

HYDRAULIC TANK ASS'Y

SN: 45014-UP

1шт.

|1

0

HYDRAULIC TANK ASS'Y

SN: 45001-45013

1шт.

1

144-60-21110

TANK

SN: 45001-UP

1шт.

2

144-60-13311

STRAINER

SN: 45001-UP

1шт.

3

01010-31016

BOLT

SN: 45001-UP

2шт.

4

01602-01030

WASHER,SPRING

SN: 45001-UP

2шт.

5

01010-51225

BOLT

SN: 45001-UP

2шт.

6

01602-21236

WASHER,SPRING

SN: 45001-UP

2шт.

7

07044-13620

PLUG,DRAIN

SN: 45001-UP

1шт.

8

07002-03634

O-RING (K13)

SN: 45001-UP

1шт.

9

144-60-21121

TANK

SN: 45014-UP

1шт.

|9

0

TANK

SN: 45001-45013

1шт.

10

07715-00651

COVER

SN: 45001-UP

1шт.

11

07715-11257

RING (K13)

SN: 45001-UP

1шт.

12

07715-21074

CASE

SN: 45001-UP

1шт.

13

01598-11011

NUT

SN: 45001-UP

4шт.

14

144-60-21160

VALVE ASS'Y

SN: 45001-UP

1шт.

15

125-62-21170

SPRING

SN: 45001-UP

1шт.

16

144-60-11160

ELEMENT

SN: 45001-UP

1шт.

17

144-60-21151

COVER

SN: 45014-UP

1шт.

|17

0

COVER

SN: 45001-45013

1шт.

18

07000-02125

O-RING (K13)

SN: 45001-UP

1шт.

19

01010-51030

BOLT

SN: 45001-UP

4шт.

20

01602-21030

WASHER,SPRING

SN: 45001-UP

4шт.

21

07051-00000

CAP

SN: 45001-UP

1шт.

22

07051-00003

GASKET (K13)

SN: 45001-UP

1шт.

23

141-60-33730

STRAINER

SN: 45001-UP

1шт.

24

144-60-21130

GASKET (K13)

SN: 45001-UP

1шт.

25

130-Z20-5250

O-RING (K13)

SN: 45001-UP

1шт.

26

01010-51025

BOLT

SN: 45001-UP

49шт.

27

01602-21030

WASHER,SPRING

SN: 45001-UP

49шт.

28

144-60-12230

TUBE

SN: 45001-UP

1шт.

29

01010-31030

BOLT

SN: 45001-UP

2шт.

30

01602-01030

WASHER,SPRING

SN: 45001-UP

2шт.

31

144-920-5142

BAFFLE

SN: 45001-UP

1шт.

32

01010-30825

BOLT

SN: 45001-UP

2шт.

33

01602-00825

WASHER,SPRING

SN: 45001-UP

2шт.

34

144-60-21170

PIPE

SN: 45001-UP

1шт.

35

01010-31445

BOLT

SN: 45001-UP

2шт.

36

01602-01442

WASHER,SPRING

SN: 45001-UP

2шт.

37

01010-31440

BOLT

SN: 45001-UP

2шт.

38

01602-01442

WASHER,SPRING

SN: 45001-UP

2шт.

39

144-60-13213

COVER

SN: 45001-UP

1шт.

40

07000-02015

O-RING (K13)

SN: 45001-UP

14шт.

41

07000-03042

O-RING (K13)

SN: 45001-UP

2шт.

42

01010-51230

BOLT

SN: 45001-UP

14шт.

43

01602-21236

WASHER,SPRING

SN: 45001-UP

14шт.

44

01643-31232

WASHER

SN: 45001-UP

14шт.

45

701-31-11002

VALVE ASS'Y

SN: 45001-UP

1шт.

46

01010-51460

BOLT

SN: 45001-UP

5шт.

47

01602-21442

WASHER,SPRING

SN: 45001-UP

5шт.

48

01643-31445

WASHER

SN: 45001-UP

5шт.

Выбрано товаров: 52