Запчасти Komatsu D60A-8 ГИДР. БАК. (/) УПРАВЛ-Е РАБОЧИМ ОБОРУДОВАНИЕМ

Схема запчастей Komatsu D60A-8 - ГИДР. БАК. (/) УПРАВЛ-Е РАБОЧИМ ОБОРУДОВАНИЕМ
FIT
1:1
100%

Артикул

Название

Примечание

Количество

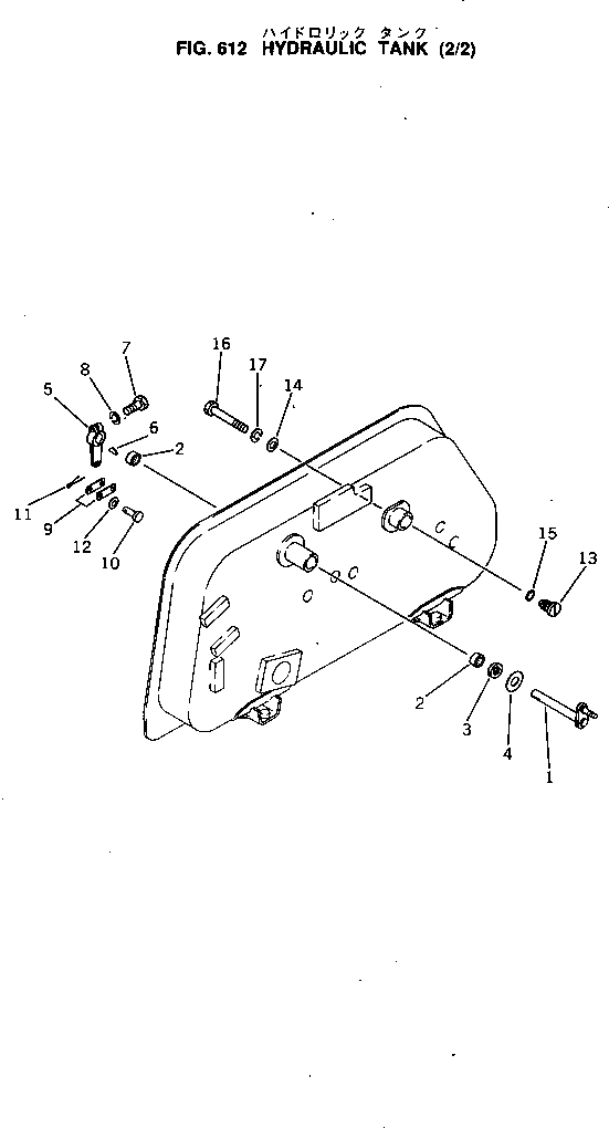
|1

144-60-21101

HYDRAULIC TANK ASS'Y

SN: 45014-UP

1шт.

|1

0

HYDRAULIC TANK ASS'Y

SN: 45001-45013

1шт.

1

144-60-21140

LEVER

SN: 45001-UP

1шт.

2

06120-02016

BEARING

SN: 45001-UP

2шт.

3

130-09-11450

SEAL (K13)

SN: 45001-UP

1шт.

4

130-60-43150

PLATE

SN: 45001-UP

1шт.

5

141-60-33270

LEVER

SN: 45001-UP

1шт.

6

04010-00519

KEY

SN: 45001-UP

1шт.

7

01010-30830

BOLT

SN: 45001-UP

1шт.

8

01602-00825

WASHER,SPRING

SN: 45001-UP

1шт.

9

141-60-32170

YOKE

SN: 45001-UP

2шт.

10

04205-01028

PIN

SN: 45001-UP

2шт.

11

04050-03015

PIN,COTTER

SN: 45001-UP

2шт.

12

01641-01016

WASHER

SN: 45001-UP

2шт.

13

140-60-13350

PLUG

SN: 45001-UP

1шт.

14

140-60-13360

COLLAR

SN: 45001-UP

1шт.

15

07000-03020

O-RING (K13)

SN: 45001-UP

1шт.

16

01010-31090

BOLT

SN: 45001-UP

1шт.

17

01602-01030

WASHER,SPRING

SN: 45001-UP

1шт.

Выбрано товаров: 19