Запчасти Komatsu D60A-8 АККУМУЛЯТОР КОМПОНЕНТЫ ДВИГАТЕЛЯ И ЭЛЕКТРИКА

Схема запчастей Komatsu D60A-8 - АККУМУЛЯТОР КОМПОНЕНТЫ ДВИГАТЕЛЯ И ЭЛЕКТРИКА
FIT
1:1
100%

Артикул

Название

Примечание

Количество

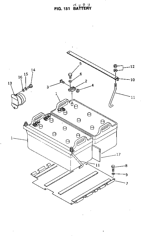
1

08000-02220

BATTERY (190H52)

SN: 45001-UP

2шт.

|1

08000-12220

BATTERY (190H52),DRY TYPE

SN: 45001-UP

2шт.

|1

08000-02221

BATTERY,(C200 OR F300-20)

SN: 45001-UP

2шт.

|1

08000-12221

BATTERY (C200),(C200 OR F300-20)

SN: 45001-UP

2шт.

2

08000-00000

TERMINAL¤ (+)

SN: 45001-UP

2шт.

|2

08000-00001

TERMINAL¤ (-)

SN: 45001-UP

2шт.

3

01010-50830

BOLT

SN: 45001-UP

1шт.

4

01580-10806

NUT

SN: 45001-UP

1шт.

5

01050-51018

BOLT

SN: 45001-UP

1шт.

6

01640-21016

WASHER

SN: 45001-UP

1шт.

7

130-06-71120

PLATE

SN: 45001-UP

1шт.

8

01010-51230

BOLT

SN: 45001-UP

4шт.

9

01602-21236

WASHER,SPRING

SN: 45001-UP

4шт.

10

120-06-31141

HOLDER

SN: 45001-UP

2шт.

11

120-06-31151

BOLT

SN: 45001-UP

4шт.

12

01580-11008

NUT

SN: 45001-UP

8шт.

13

08088-10000

SWITCH,BATTERY

SN: 45001-UP

1шт.

14

01010-50820

BOLT

SN: 45001-UP

2шт.

15

01602-20825

WASHER,SPRING

SN: 45001-UP

2шт.

16

01643-30823

WASHER

SN: 45001-UP

2шт.

17

120-06-31171

PLATE

SN: 45001-UP

1шт.

Выбрано товаров: 21