Запчасти Komatsu 6D125-1E - -

Схема запчастей Komatsu 6D125-1E - - -
FIT
1:1
100%

Артикул

Название

Примечание

Количество

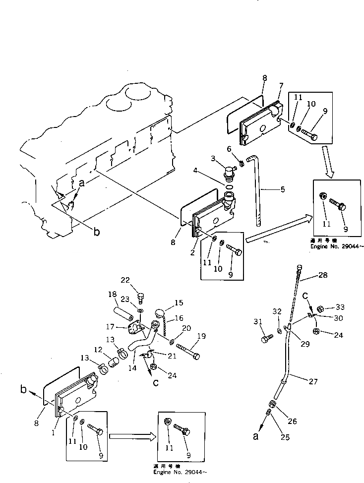
1

6150-21-6500

SN: 10001-UP

1шт.

|1

0

SN: 10001-UP

1шт.

|1

0

SN: 10001-UP

1шт.

2

6150-21-6601

SN: 10001-UP

1шт.

|2

0

SN: 10001-UP

1шт.

|2

0

SN: 10001-UP

1шт.

3

6150-21-6710

SN: 10001-UP

1шт.

4

6114-21-5190

SN: 10001-UP

1шт.

5

07286-01963

SN: 10001-UP

1шт.

6

07285-00220

SN: 10001-UP

1шт.

7

6150-21-6310

SN: 10001-UP

1шт.

8

6150-21-6460

SN: 10001-UP

3шт.

9

6210-21-6471

SN: 29044-UP

9шт.

|9

0

SN: 10001-29043

9шт.

|$$15

-1шт.

10

6136-11-8130

SN: 10001-29043

9шт.

11

6150-21-6390

SN: 29044-UP

9шт.

|11

0

SN: 10001-29043

9шт.

12

6150-21-6530

SN: 10001-UP

1шт.

13

07281-00609

SN: 10001-UP

2шт.

14

6150-21-7110

SN: 10001-UP

1шт.

15

6136-21-7120

SN: 10001-UP

1шт.

|15

6136-21-7180

SN: 10001-UP

1шт.

16

6136-21-7190

SN: 10001-UP

1шт.

17

6150-21-6540

SN: 10001-UP

1шт.

18

6136-11-5120

SN: 10001-UP

2шт.

19

01011-51000

SN: 10001-UP

2шт.

20

01640-21016

SN: 10001-UP

2шт.

21

6150-21-6570

SN: 25445-UP

1шт.

|21

0

SN: 10001-25444

1шт.

22

01010-51025

SN: 10001-UP

2шт.

23

01642-21016

SN: 10001-UP

2шт.

24

01580-11008

SN: 10001-UP

2шт.

25

6150-21-5920

SN: 10001-UP

1шт.

26

6150-21-5930

SN: 10001-UP

1шт.

27

6150-21-5450

SN: 10001-UP

1шт.

28

6150-21-5331

SN: 10001-UP

1шт.

29

6144-21-5650

SN: 10001-UP

1шт.

30

6150-21-5720

SN: 10001-UP

1шт.

31

01010-50816

SN: 10001-UP

1шт.

32

01642-20810

SN: 10001-UP

1шт.

33

01580-10806

SN: 10001-UP

1шт.

1

6150-21-6500

SN: 10001-UP

1шт.

|1

0

SN: 10001-UP

1шт.

|1

0

SN: 10001-UP

1шт.

2

6150-21-6601

SN: 10001-UP

1шт.

|2

0

SN: 10001-UP

1шт.

|2

0

SN: 10001-UP

1шт.

3

6150-21-6710

SN: 10001-UP

1шт.

4

6114-21-5190

SN: 10001-UP

1шт.

5

07286-01963

SN: 10001-UP

1шт.

6

07285-00220

SN: 10001-UP

1шт.

7

6150-21-6310

SN: 10001-UP

1шт.

8

6150-21-6460

SN: 10001-UP

3шт.

9

6210-21-6471

SN: 29044-UP

9шт.

|9

0

SN: 10001-29043

9шт.

|$$15

-1шт.

10

6136-11-8130

SN: 10001-29043

9шт.

11

6150-21-6390

SN: 29044-UP

9шт.

|11

0

SN: 10001-29043

9шт.

12

6150-21-6530

SN: 10001-UP

1шт.

13

07281-00609

SN: 10001-UP

2шт.

14

6150-21-7110

SN: 10001-UP

1шт.

15

6136-21-7120

SN: 10001-UP

1шт.

|15

6136-21-7180

SN: 10001-UP

1шт.

16

6136-21-7190

SN: 10001-UP

1шт.

17

6150-21-6540

SN: 10001-UP

1шт.

18

6136-11-5120

SN: 10001-UP

2шт.

19

01011-51000

SN: 10001-UP

2шт.

20

01640-21016

SN: 10001-UP

2шт.

21

6150-21-6570

SN: 25445-UP

1шт.

|21

0

SN: 10001-25444

1шт.

22

01010-51025

SN: 10001-UP

2шт.

23

01642-21016

SN: 10001-UP

2шт.

24

01580-11008

SN: 10001-UP

2шт.

25

6150-21-5920

SN: 10001-UP

1шт.

26

6150-21-5930

SN: 10001-UP

1шт.

27

6150-21-5450

SN: 10001-UP

1шт.

28

6150-21-5331

SN: 10001-UP

1шт.

29

6144-21-5650

SN: 10001-UP

1шт.

30

6150-21-5720

SN: 10001-UP

1шт.

31

01010-50816

SN: 10001-UP

1шт.

32

01642-20810

SN: 10001-UP

1шт.

33

01580-10806

SN: 10001-UP

1шт.

Выбрано товаров: 84