Запчасти Komatsu 6D125-1E - -

Схема запчастей Komatsu 6D125-1E - - -
FIT
1:1
100%

Артикул

Название

Примечание

Количество

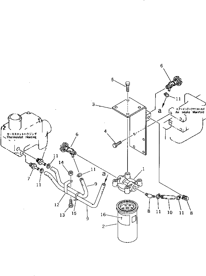
|1

6150-61-8171

SN: 22250-UP

1шт.

|1

0

SN: 10001-22249

1шт.

1

6150-61-8211

SN: 22250-UP

1шт.

|1

0

SN: 10001-22249

1шт.

2

600-411-1150

SN: 22250-UP

1шт.

|2

0

SN: 10001-22249

1шт.

3

6150-61-8141

SN: 10001-UP

1шт.

4

01010-51025

SN: 10001-UP

4шт.

5

02010-70625

SN: 10001-UP

4шт.

6

6150-61-8410

SN: 10001-UP

2шт.

7

6138-55-7610

SN: 10001-UP

2шт.

8

6150-61-8620

SN: 13377-UP

2шт.

|8

0

SN: 10001-13376

2шт.

9

07260-20940

SN: 10001-UP

2шт.

10

07260-20908

SN: 10001-UP

1шт.

11

07281-00197

SN: 10001-UP

6шт.

12

6150-61-8810

SN: 10001-UP

1шт.

13

01010-51025

SN: 10001-UP

1шт.

14

01580-11008

SN: 10001-UP

1шт.

15

08034-00414

SN: 10001-UP

1шт.

16

09647-04202

SN: 10001-UP

1шт.

|1

6150-61-8171

SN: 22250-UP

1шт.

|1

0

SN: 10001-22249

1шт.

1

6150-61-8211

SN: 22250-UP

1шт.

|1

0

SN: 10001-22249

1шт.

2

600-411-1150

SN: 22250-UP

1шт.

|2

0

SN: 10001-22249

1шт.

3

6150-61-8141

SN: 10001-UP

1шт.

4

01010-51025

SN: 10001-UP

4шт.

5

02010-70625

SN: 10001-UP

4шт.

6

6150-61-8410

SN: 10001-UP

2шт.

7

6138-55-7610

SN: 10001-UP

2шт.

8

6150-61-8620

SN: 13377-UP

2шт.

|8

0

SN: 10001-13376

2шт.

9

07260-20940

SN: 10001-UP

2шт.

10

07260-20908

SN: 10001-UP

1шт.

11

07281-00197

SN: 10001-UP

6шт.

12

6150-61-8810

SN: 10001-UP

1шт.

13

01010-51025

SN: 10001-UP

1шт.

14

01580-11008

SN: 10001-UP

1шт.

15

08034-00414

SN: 10001-UP

1шт.

16

09647-04202

SN: 10001-UP

1шт.

Выбрано товаров: 42