Запчасти Komatsu D60E-8 УСИЛЕНН. ОТВАЛ С ИЗМ. УГЛОМ ПОВОРОТА И БАЛКА РАБОЧЕЕ ОБОРУДОВАНИЕ

Схема запчастей Komatsu D60E-8 - УСИЛЕНН. ОТВАЛ С ИЗМ. УГЛОМ ПОВОРОТА И БАЛКА РАБОЧЕЕ ОБОРУДОВАНИЕ
FIT
1:1
100%

Артикул

Название

Примечание

Количество

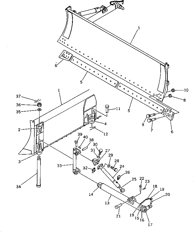
1

144-854-1213

BLADE

SN: 45001-UP

1шт.

2

144-854-1360

BRACKET (WELDED)

SN: 45001-UP

2шт.

3

144-854-1370

BRACKET (WELDED)

SN: 45001-UP

2шт.

4

144-854-1380

BRACKET (WELDED)

SN: 45001-UP

1шт.

5

144-70-11131

EDGE

SN: 45001-UP

2шт.

6

144-70-11250

END BIT,L.H.

SN: 45001-UP

1шт.

6

144-70-11260

END BIT,R.H.

SN: 45001-UP

1шт.

7

02090-11275

BOLT

SN: 45001-UP

28шт.

8

02290-11219

NUT

SN: 45001-UP

28шт.

9

02091-11210

BOLT

SN: 45001-UP

4шт.

10

02290-01219

NUT

SN: 45001-UP

4шт.

11

144-70-11160

PIN

SN: 45001-UP

1шт.

12

04050-18080

PIN,COTTER

SN: 45001-UP

1шт.

13

144-854-1221

ARM ASS'Y

SN: 45001-UP

2шт.

14

144-854-1231

BOSS

SN: 45001-UP

1шт.

15

140-915-2140

STOPPER

SN: 45001-UP

1шт.

16

144-70-12181

PIN

SN: 45001-UP

1шт.

17

150-70-12120

BUSHING

SN: 45001-UP

1шт.

18

09245-04830

CHAIN

SN: 45001-UP

1шт.

19

170-70-12160

LOCK

SN: 45001-UP

2шт.

20

170-70-12150

PIN

SN: 45001-UP

1шт.

21

150-70-13410

PIN

SN: 45001-UP

2шт.

22

170-70-12240

PIN

SN: 45001-UP

2шт.

23

04050-14025

PIN,COTTER

SN: 45001-UP

2шт.

|$24

144-854-0034

BRACE ASS'Y

SN: 45001-UP

1шт.

24

144-854-1242

BRACE

SN: 45001-UP

1шт.

25

144-817-2312

JOINT

SN: 45001-UP

1шт.

26

07020-00000

FITTING,GREASE

SN: 45001-UP

1шт.

27

170-70-12221

BEARING

SN: 45001-UP

1шт.

28

01010-52050

BOLT

SN: 45001-UP

8шт.

29

01643-32060

WASHER

SN: 45001-UP

8шт.

30

150-70-12242

SCREW

SN: 45001-UP

1шт.

31

01602-21236

WASHER,SPRING

SN: 45001-UP

1шт.

32

07020-00000

FITTING,GREASE

SN: 45001-UP

1шт.

33

144-854-2760

HOLDER

SN: 45001-UP

2шт.

34

140-915-2110

SHAFT

SN: 45001-UP

2шт.

35

144-871-5140

WASHER

SN: 45001-UP

2шт.

36

01593-14225

NUT

SN: 45001-UP

2шт.

37

04050-18065

PIN,COTTER

SN: 45001-UP

2шт.

38

144-854-1280

PIN

SN: 45001-UP

4шт.

39

144-854-1290

PIN

SN: 45001-UP

4шт.

40

04050-14025

PIN,COTTER

SN: 45001-UP

4шт.

Выбрано товаров: 42