Запчасти Komatsu D60E-8 КАБЕЛЬНЫЙ БАРАБАН И ВАЛ (ДЛЯ ТЯГОВ. ЛЕБЕДКИ) РАБОЧЕЕ ОБОРУДОВАНИЕ

Схема запчастей Komatsu D60E-8 - КАБЕЛЬНЫЙ БАРАБАН И ВАЛ (ДЛЯ ТЯГОВ. ЛЕБЕДКИ) РАБОЧЕЕ ОБОРУДОВАНИЕ
FIT
1:1
100%

Артикул

Название

Примечание

Количество

|$0

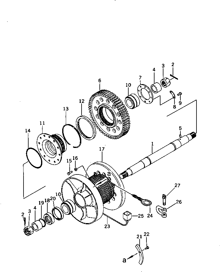
144-916-0050

DRUM ASS'Y

SN: 45001-UP

1шт.

1

144-916-1690

SHAFT

SN: 45001-UP

1шт.

2

140-901-2130

PIN,COTTER

SN: 45001-UP

2шт.

3

140-901-2120

NUT

SN: 45001-UP

2шт.

4

144-916-1680

WASHER

SN: 45001-UP

2шт.

5

150-95-12410

PIN

SN: 45001-UP

1шт.

6

144-916-1550

GEAR

SN: 45001-UP

1шт.

7

144-916-1530

PLATE

SN: 45001-UP

1шт.

8

144-916-1540

PLATE,LOCK

SN: 45001-UP

4шт.

9

01010-31430

BOLT

SN: 45001-UP

8шт.

10

144-916-7990

BEARING

SN: 45001-UP

2шт.

11

144-916-1610

GEAR

SN: 45001-UP

1шт.

12

144-916-7980

SEAL

SN: 45001-UP

1шт.

13

04071-00270

RING,SNAP

SN: 45001-UP

1шт.

14

07000-05240

O-RING

SN: 45001-UP

1шт.

15

01010-31645

BOLT

SN: 45001-UP

12шт.

16

144-916-1360

DOWEL

SN: 45001-UP

12шт.

17

144-916-1620

DRUM

SN: 45001-UP

1шт.

18

144-916-1670

COLLAR

SN: 45001-UP

1шт.

19

07000-02080

O-RING

SN: 45001-UP

1шт.

20

07012-10130

SEAL

SN: 45001-UP

1шт.

|$21

144-916-0140

CABLE ASS'Y

SN: 45001-UP

1шт.

21

144-916-1730

FILLER

SN: 45001-UP

1шт.

22

01212-20835

SCREW

SN: 45001-UP

1шт.

23

144-916-1790

WIRE

SN: 45001-UP

1шт.

24

150-95-15650

THIMBLE

SN: 45001-UP

1шт.

25

150-95-15620

END

SN: 45001-UP

1шт.

26

144-947-1410

HOOK

SN: 45001-UP

1шт.

27

144-947-1420

PIN

SN: 45001-UP

1шт.

Выбрано товаров: 29