Запчасти Komatsu D60E-8 ТОПЛИВН. БАК. (ШУМОПОДАВЛ. СПЕЦ-Я ДЛЯ EC) (DE-8B)(№7-) ОПЦИОННЫЕ КОМПОНЕНТЫ¤ ИНСТРУМЕНТ И РЕМКОМПЛЕКТЫ

Схема запчастей Komatsu D60E-8 - ТОПЛИВН. БАК. (ШУМОПОДАВЛ. СПЕЦ-Я ДЛЯ EC) (DE-8B)(№7-) ОПЦИОННЫЕ КОМПОНЕНТЫ¤ ИНСТРУМЕНТ И РЕМКОМПЛЕКТЫ
FIT
1:1
100%

Артикул

Название

Примечание

Количество

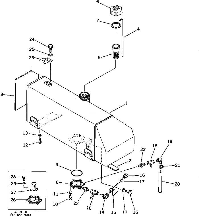
1

144-A62-8780

TANK

SN: 45672-UP

1шт.

2

144-A62-6490

SEAL

SN: 45672-UP

1шт.

3

134-A62-3360

ABSORBER

SN: 45672-UP

1шт.

4

144-04-12310

GAUGE

SN: 45672-UP

1шт.

5

07056-18416

STRAINER

SN: 45672-UP

1шт.

6

07050-41200

CAP

SN: 45672-UP

1шт.

7

07050-21202

GASKET

SN: 45672-UP

1шт.

8

141-04-33110

FLANGE

SN: 45672-UP

1шт.

9

07000-02135

O-RING

SN: 45672-UP

1шт.

10

01010-51025

BOLT

SN: 45672-UP

6шт.

11

01602-21030

WASHER,SPRING

SN: 45672-UP

6шт.

12

01010-51440

BOLT

SN: 45672-UP

6шт.

13

01602-21442

WASHER,SPRING

SN: 45672-UP

6шт.

14

144-04-51140

ELBOW

SN: 45672-UP

1шт.

15

144-04-51170

BRACKET

SN: 45672-UP

1шт.

16

01010-51025

BOLT

SN: 45672-UP

3шт.

17

01643-31032

WASHER

SN: 45672-UP

3шт.

18

07700-40460

VALVE

SN: 45672-UP

2шт.

19

131-04-54130

ELBOW

SN: 45672-UP

1шт.

20

07270-01260

TUBE

SN: 45672-UP

1шт.

20

07270-31260

TUBE,(FOR COLD WEATHER)

SN: 45672-UP

1шт.

21

07280-01620

CLAMP

SN: 45672-UP

1шт.

22

131-04-54120

NIPPLE

SN: 45672-UP

2шт.

23

120-04-31141

BRACKET

SN: 45672-UP

1шт.

24

01010-51025

BOLT

SN: 45672-UP

4шт.

25

01602-21030

WASHER,SPRING

SN: 45672-UP

4шт.

26

01643-31032

WASHER

SN: 45672-UP

4шт.

27

07049-01012

PLUG

SN: 45672-UP

4шт.

28

141-04-33310

FLANGE,(FOR ANTIFREEZE)

SN: 45672-UP

1шт.

29

141-04-33320

STRAINER,(FOR ANTIFREEZE)

SN: 45672-UP

1шт.

30

01010-50812

BOLT,(FOR ANTIFREEZE)

SN: 45672-UP

2шт.

31

01602-20825

WASHER,(FOR ANTIFREEZE)

SN: 45672-UP

2шт.

Выбрано товаров: 32