Запчасти Komatsu D60E-8 ЗАЩИТА РАДИАТОРА (ШУМОПОДАВЛ. СПЕЦ-Я ДЛЯ EC) (DE-8B №7-) (DE-8D №89-)(№7-) ОПЦИОННЫЕ КОМПОНЕНТЫ¤ ИНСТРУМЕНТ И РЕМКОМПЛЕКТЫ

Схема запчастей Komatsu D60E-8 - ЗАЩИТА РАДИАТОРА (ШУМОПОДАВЛ. СПЕЦ-Я ДЛЯ EC)         (DE-8B №7-) (DE-8D №89-)(№7-) ОПЦИОННЫЕ КОМПОНЕНТЫ¤ ИНСТРУМЕНТ И РЕМКОМПЛЕКТЫ
FIT
1:1
100%

Артикул

Название

Примечание

Количество

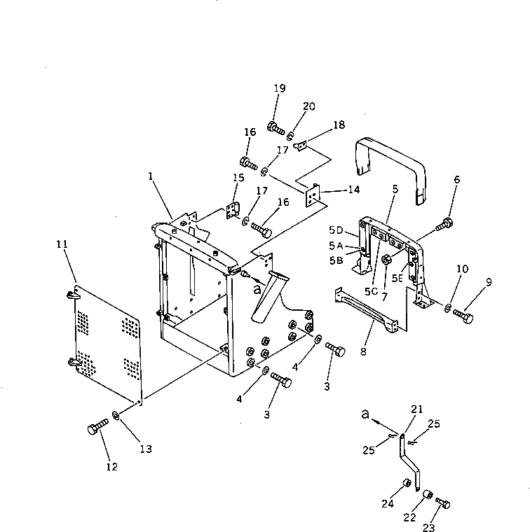
1

144-54-51380

GUARD,RADIATOR

SN: 45672-UP

1шт.

3

01019-32005

BOLT

SN: 45672-UP

16шт.

4

01643-32060

WASHER

SN: 45672-UP

16шт.

|$3

144-A62-6370

FRAME

SN: 45672-UP

1шт.

5

144-54-24211

FRAME

SN: 45672-UP

1шт.

5A

04431-20000

CLIP

SN: 45672-UP

9шт.

5B

04431-30000

PLATE,CLIP

SN: 45672-UP

9шт.

5C

135-A62-3650

BAFFLE

SN: 45672-UP

2шт.

5D

135-A62-3660

BAFFLE

SN: 45672-UP

1шт.

5E

144-A62-6380

BAFFLE

SN: 45672-UP

1шт.

6

120-43-39361

DAMPER

SN: 45672-UP

2шт.

7

01580-11008

NUT

SN: 45672-UP

2шт.

8

144-54-51220

FRAME

SN: 45672-UP

1шт.

9

01010-51440

BOLT

SN: 45672-UP

4шт.

10

01602-21442

WASHER,SPRING

SN: 45672-UP

4шт.

11

144-54-71112

GRILLE,(FOR D60E-8B)

SN: 45883-UP

1шт.

11

144-54-71110

GRILLE,(FOR D60E-8B)

SN: 45672-45882

1шт.

11

144-54-71112

GRILLE,(FOR D65E-8D)

SN: 47004-UP

1шт.

11

144-54-71110

GRILLE,(FOR D65E-8D)

SN: 46890-47003

1шт.

12

01010-51635

BOLT

SN: 45672-UP

6шт.

13

01643-31645

WASHER

SN: 45672-UP

6шт.

14

144-54-51160

CATCHER,L.H.

SN: 45672-UP

1шт.

15

144-54-51180

CATCHER,R.H.

SN: 45672-UP

1шт.

16

01010-51220

BOLT

SN: 45672-UP

6шт.

17

01602-21236

WASHER,SPRING

SN: 45672-UP

6шт.

18

144-54-51210

BRACKET

SN: 45672-UP

1шт.

19

01010-50820

BOLT

SN: 45672-UP

2шт.

20

01602-20825

WASHER,SPRING

SN: 45672-UP

2шт.

21

144-811-6210

PLATE

SN: 45672-UP

2шт.

22

140-60-15460

TUBE

SN: 45672-UP

2шт.

23

01010-51245

BOLT

SN: 45672-UP

2шт.

24

01580-11210

NUT

SN: 45672-UP

2шт.

25

04050-08070

PIN,COTTER

SN: 45672-UP

4шт.

Выбрано товаров: 33