Запчасти Komatsu D60E-8 ОСНОВН. МУФТА УСИЛИТЕЛЬ ОСНОВН. МУФТА И ТРАНСМИССИЯ

Схема запчастей Komatsu D60E-8 - ОСНОВН. МУФТА УСИЛИТЕЛЬ ОСНОВН. МУФТА И ТРАНСМИССИЯ
FIT
1:1
100%

Артикул

Название

Примечание

Количество

|$0

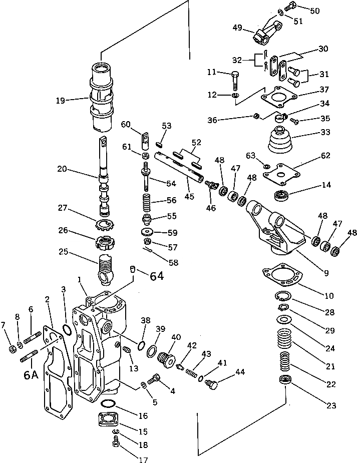
141-10-00602

BOOSTER ASS'Y

SN: 46471-UP

1шт.

|$1

141-10-00600

BOOSTER ASS'Y

SN: 45001-46470

1шт.

1

141-10-34112

HOUSING

SN: 45001-UP

1шт.

2

141-10-34120

GASKET (K3)

SN: 45001-UP

1шт.

3

170-10-15130

O-RING (K3)

SN: 45001-UP

1шт.

4

01010-51030

BOLT

SN: 45001-UP

7шт.

5

01602-31030

WASHER

SN: 45001-UP

7шт.

6

01140-51050

STUD

SN: 46471-UP

2шт.

6

01140-51050

STUD

SN: 45001-46470

3шт.

6A

01140-51065

STUD

SN: 46471-UP

1шт.

7

01582-11008

NUT

SN: 45001-UP

3шт.

8

01602-21030

WASHER,SPRING

SN: 45001-UP

3шт.

9

141-10-34133

BRACKET

SN: 45001-UP

1шт.

10

141-10-34150

GASKET (K3)

SN: 45001-UP

1шт.

11

01010-51055

BOLT

SN: 45001-UP

4шт.

12

01602-21030

WASHER,SPRING

SN: 45001-UP

4шт.

13

07042-20108

PLUG

SN: 45001-UP

1шт.

14

07017-00022

SEAL,OIL (K3)

SN: 45001-UP

1шт.

15

141-10-34320

COVER

SN: 45001-UP

1шт.

16

07000-03040

O-RING (K3)

SN: 45001-UP

1шт.

17

01010-50820

BOLT

SN: 45001-UP

4шт.

18

01602-20825

WASHER,SPRING

SN: 45001-UP

4шт.

19

144-10-11340

PISTON

SN: 45001-UP

1шт.

20

144-10-11330

VALVE

SN: 45001-UP

1шт.

21

131-10-25160

SPRING

SN: 45001-UP

1шт.

22

144-10-11350

SPRING

SN: 45001-UP

1шт.

23

170-10-15281

SPACER

SN: 45001-UP

1шт.

24

170-10-15290

WASHER

SN: 45001-UP

1шт.

25

170-10-15190

COUPLING

SN: 45001-UP

1шт.

26

01530-03912

NUT

SN: 45001-UP

1шт.

27

170-10-15211

WASHER (K3)

SN: 45001-UP

1шт.

28

170-10-15231

RING

SN: 45001-UP

1шт.

29

170-10-15251

RING

SN: 45001-UP

1шт.

30

141-10-34170

LINK

SN: 45001-UP

2шт.

31

170-10-15370

PIN

SN: 45001-UP

2шт.

32

04050-03020

PIN,COTTER (K3)

SN: 45001-UP

2шт.

33

141-10-34222

BOOT

SN: 45001-UP

1шт.

34

150-14-15260

CLAMP

SN: 45001-UP

1шт.

35

01210-40416

SCREW

SN: 45001-UP

1шт.

36

01580-10403

NUT

SN: 45001-UP

1шт.

37

141-10-34230

PLATE

SN: 45001-UP

1шт.

38

141-10-00552

RELIEF VALVE ASS'Y

SN: 45001-UP

1шт.

38

170-10-15330

O-RING (K3)

SN: 45001-UP

1шт.

39

170-10-91130

PACKING (K3)

SN: 45001-UP

1шт.

40

141-10-34280

SEAL

SN: 45001-UP

1шт.

41

07000-02014

O-RING (K3)

SN: 45001-UP

1шт.

42

141-10-34260

VALVE

SN: 45001-UP

1шт.

43

141-10-34141

SPRING

SN: 45001-UP

1шт.

44

141-10-34271

PLUG

SN: 45001-UP

1шт.

45

141-10-35113

SHAFT

SN: 45001-UP

1шт.

46

07020-00675

FITTING,GREASE

SN: 45001-UP

1шт.

47

06120-02216

BEARING

SN: 45001-UP

2шт.

48

06122-02204

SEAL (K3)

SN: 45001-UP

4шт.

49

141-10-35123

LEVER

SN: 45001-UP

1шт.

50

01010-30825

BOLT

SN: 45001-UP

1шт.

51

01602-20825

WASHER,SPRING

SN: 45001-UP

1шт.

52

04000-00538

KEY

SN: 45001-UP

2шт.

53

04000-00522

KEY

SN: 45001-UP

1шт.

54

141-10-33230

ROD

SN: 45001-UP

1шт.

54

141-10-13240

GUIDE,UPPER (WELDED)

SN: 45001-UP

1шт.

55

141-10-33261

GUIDE,LOWER

SN: 45001-UP

1шт.

56

141-10-33251

SPRING

SN: 45001-UP

1шт.

57

01593-11008

NUT

SN: 45001-UP

1шт.

58

04050-12018

PIN,COTTER (K3)

SN: 45001-UP

1шт.

59

141-10-33270

WASHER

SN: 45001-UP

1шт.

60

141-10-33240

JOINT

SN: 45001-UP

1шт.

61

01582-11008

NUT

SN: 45001-UP

1шт.

62

141-10-34310

PLATE

SN: 45001-UP

1шт.

63

01640-21016

WASHER

SN: 45001-UP

4шт.

64

07043-00415

PLUG

SN: 45001-UP

1шт.

Выбрано товаров: 70