Запчасти Komatsu D60E-8 ПОЛ (ШУМОПОДАВЛ. СПЕЦ-Я ДЛЯ EC) (DE-8B)(№7-) ОПЦИОННЫЕ КОМПОНЕНТЫ¤ ИНСТРУМЕНТ И РЕМКОМПЛЕКТЫ

Схема запчастей Komatsu D60E-8 - ПОЛ (ШУМОПОДАВЛ. СПЕЦ-Я ДЛЯ EC) (DE-8B)(№7-) ОПЦИОННЫЕ КОМПОНЕНТЫ¤ ИНСТРУМЕНТ И РЕМКОМПЛЕКТЫ
FIT
1:1
100%

Артикул

Название

Примечание

Количество

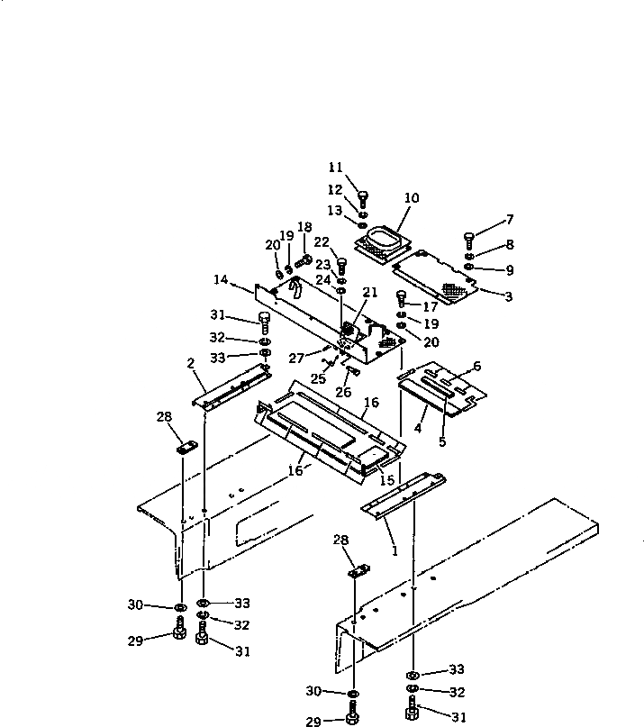
1

130-54-72280

FLOOR,L.H.

SN: 45672-UP

1шт.

2

130-54-72270

FLOOR,R.H.

SN: 45672-UP

1шт.

3

144-A62-8750

FLOOR

SN: 45672-UP

1шт.

4

144-A62-8760

ABSORBER

SN: 45672-UP

1шт.

5

144-A62-8770

ABSORBER

SN: 45672-UP

1шт.

6

144-A62-8410

SEAL

SN: 45672-UP

1шт.

7

01010-51225

BOLT

SN: 45672-UP

4шт.

8

01602-21236

WASHER,SPRING

SN: 45672-UP

4шт.

9

01643-31232

WASHER

SN: 45672-UP

4шт.

10

144-A62-8590

FLOOR

SN: 45672-UP

1шт.

11

01010-51225

BOLT

SN: 45672-UP

2шт.

12

01602-21236

WASHER,SPRING

SN: 45672-UP

2шт.

13

01643-31232

WASHER

SN: 45672-UP

2шт.

14

144-A62-8720

FLOOR

SN: 45672-UP

1шт.

15

144-A62-8730

ABSORBER

SN: 45672-UP

1шт.

16

144-A62-8410

SEAL

SN: 45672-UP

3шт.

17

01010-51225

BOLT

SN: 45672-UP

6шт.

18

01010-51230

BOLT

SN: 45672-UP

3шт.

19

01602-21236

WASHER,SPRING

SN: 45672-UP

9шт.

20

01643-31232

WASHER

SN: 45672-UP

9шт.

21

144-54-26320

COVER

SN: 45672-UP

1шт.

22

01010-51025

BOLT

SN: 45672-UP

2шт.

23

01602-21030

WASHER,SPRING

SN: 45672-UP

2шт.

24

01643-31032

WASHER

SN: 45672-UP

2шт.

25

141-54-12290

SPRING

SN: 45672-UP

1шт.

26

04205-10616

PIN

SN: 45672-UP

2шт.

27

04050-11610

PIN,COTTER

SN: 45672-UP

2шт.

28

120-54-35240

PLATE

SN: 45672-UP

2шт.

29

01010-51645

BOLT

SN: 45672-UP

4шт.

30

01643-31645

WASHER

SN: 45672-UP

4шт.

31

01010-51225

BOLT

SN: 45672-UP

8шт.

32

01602-21236

WASHER,SPRING

SN: 45672-UP

8шт.

33

01643-31232

WASHER

SN: 45672-UP

8шт.

34

144-A62-9270

MAT,(FOR ROPS CAB)

SN: 45672-UP

1шт.

Выбрано товаров: 34