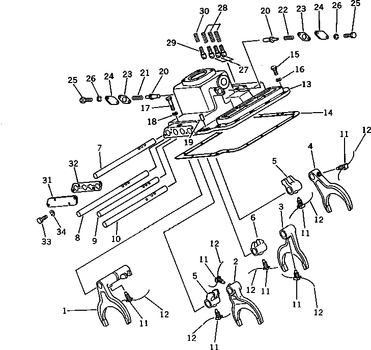
Запчасти Komatsu D60E-8 ПЕРЕКЛЮЧ-Е ПЕРЕДАЧ ВИЛЫ (/) ОСНОВН. МУФТА И ТРАНСМИССИЯ

Схема запчастей Komatsu D60E-8 - ПЕРЕКЛЮЧ-Е ПЕРЕДАЧ ВИЛЫ (/) ОСНОВН. МУФТА И ТРАНСМИССИЯ
FIT
1:1
100%

Артикул

Название

Примечание

Количество

|$0

144-14-00340

TRANSMISSION ASS'Y

SN: 45001-UP

1шт.

|$$2

THIS ASSEMBLY CONSISTS OF ALL PARTS SHOWN IN FIGS.2351 TO 2363.

-1шт.

1

141-14-32117

FORK,F AND R SHIFT

SN: 45001-UP

1шт.

2

141-14-32125

FORK,1ST AND 2ND SHIFT

SN: 45001-UP

1шт.

3

141-14-32134

FORK,3RD AND 4TH SHIFT

SN: 45001-UP

1шт.

4

141-14-32233

FORK,5TH SHIFT

SN: 45001-UP

1шт.

5

141-14-32152

BOSS

SN: 45001-UP

2шт.

6

141-14-32162

BOSS

SN: 45001-UP

1шт.

7

141-14-32175

SHAFT

SN: 45001-UP

1шт.

8

141-14-32184

SHAFT

SN: 45001-UP

1шт.

9

141-14-32194

SHAFT

SN: 45001-UP

1шт.

10

144-14-12114

SHAFT

SN: 45001-UP

1шт.

11

170-14-13222

SCREW

SN: 45001-UP

7шт.

12

04059-01625

WIRE (K4)

SN: 45001-UP

7шт.

13

141-14-32316

CASE

SN: 45001-UP

1шт.

14

141-14-32322

GASKET (K4)

SN: 48555-UP

1шт.

14

0

GASKET (K4)

SN: 45001-48554

1шт.

15

01010-81030

BOLT

SN: 45001-UP

14шт.

16

01602-21030

WASHER,SPRING

SN: 45001-UP

14шт.

17

01010-81065

BOLT

SN: 45001-UP

1шт.

18

01602-21030

WASHER,SPRING

SN: 45001-UP

1шт.

19

141-14-32260

PIN

SN: 45001-UP

2шт.

20

141-14-32331

STOPPER

SN: 45001-UP

2шт.

21

125-15-36170

SPRING

SN: 45001-UP

1шт.

22

144-14-12170

SPRING

SN: 45007-UP

1шт.

22

0

SPRING

SN: 45001-45006

1шт.

23

141-14-32351

GASKET (K4)

SN: 48555-UP

1шт.

23

0

GASKET (K4)

SN: 45001-48554

1шт.

24

141-14-32360

COVER

SN: 45001-UP

2шт.

25

01010-81025

BOLT

SN: 45001-UP

4шт.

26

01602-21030

WASHER,SPRING

SN: 45001-UP

4шт.

27

144-14-12250

PLUNGER

SN: .-UP

3шт.

27

0

PLUNGER

SN: 45001-.

3шт.

28

120-14-35540

SPRING

SN: .-UP

3шт.

28

0

SPRING

SN: 45001-.

3шт.

29

141-14-32270

PLUNGER

SN: 45001-UP

1шт.

30

141-14-32241

SPRING

SN: 45001-UP

1шт.

31

141-14-32510

COVER

SN: 45001-UP

1шт.

32

141-14-32522

GASKET (K4)

SN: 48555-UP

1шт.

32

0

GASKET (K4)

SN: 45001-48554

1шт.

33

01010-81025

BOLT

SN: 45001-UP

4шт.

34

01602-21030

WASHER,SPRING

SN: 45001-UP

4шт.

Выбрано товаров: 42