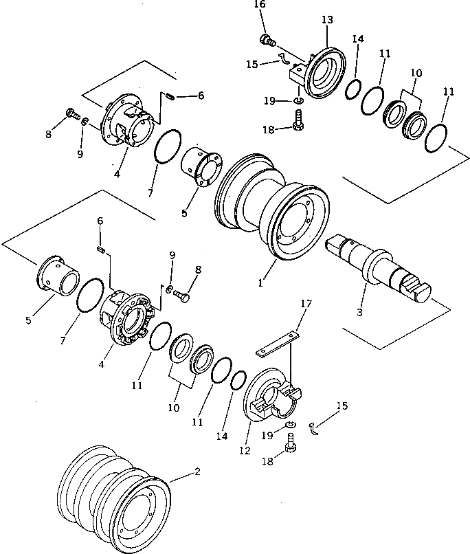
Запчасти Komatsu D60E-8 ОПОРНЫЙ КАТОК(№-7) ГУСЕНИЦЫ

Схема запчастей Komatsu D60E-8 - ОПОРНЫЙ КАТОК(№-7) ГУСЕНИЦЫ
FIT
1:1
100%

Артикул

Название

Примечание

Количество

|$0

14X-30-00080

TRACK ROLLER ASS'Y,SINGLE FLANGE

SN: 47461-@

8шт.

|$1

0

TRACK ROLLER ASS'Y,SINGLE FLANGE

SN: 45007-47460

8шт.

|$2

0

TRACK ROLLER ASS'Y,SINGLE FLANGE

SN: 45001-45006

8шт.

|$3

14X-30-00090

TRACK ROLLER ASS'Y,DOUBLE FLANGE

SN: 47461-@

6шт.

|$4

0

TRACK ROLLER ASS'Y,DOUBLE FLANGE

SN: 45007-47460

6шт.

|$5

0

TRACK ROLLER ASS'Y,DOUBLE FLANGE

SN: 45001-45006

6шт.

1

141-30-36111

ROLLER,SINGLE FLANGE

SN: 46203-47460

1шт.

1

141-30-36360

ROLLER,SINGLE FLANGE

SN: 45001-46202

1шт.

2

141-30-36121

ROLLER,DOUBLE FLANGE

SN: 46203-47460

1шт.

2

141-30-36370

ROLLER,DOUBLE FLANGE

SN: 45001-46202

1шт.

3

141-30-36130

SHAFT

SN: 45001-47460

1шт.

|$11

141-30-00592

BUSHING ASS'Y

SN: 45001-47460

2шт.

4

141-30-36144

BUSHING

SN: 45001-47460

1шт.

5

141-30-36150

BUSHING

SN: 45001-47460

1шт.

6

141-30-36310

PIN

SN: 45001-47460

2шт.

7

07000-05105

O-RING (K11)

SN: 45001-47460

2шт.

8

01010-31030

BOLT

SN: 45001-47460

12шт.

9

01602-21030

WASHER

SN: 45001-47460

12шт.

|$18

141-30-00616

FLOATING SEAL ASS'Y

SN: 45007-47460

2шт.

|$19

0

FLOATING SEAL ASS'Y

SN: 45001-45006

2шт.

10

0

RING

SN: 45007-47460

2шт.

10

0

RING

SN: 45001-45006

2шт.

11

0

O-RING (K11)

SN: 45001-47460

2шт.

12

141-30-36334

COLLAR

SN: 45001-47460

1шт.

13

141-30-36344

COLLAR

SN: 45001-47460

1шт.

14

07000-03052

O-RING (K11)

SN: 45001-47460

2шт.

15

141-30-36190

PIN

SN: 45001-47460

2шт.

16

07052-31624

PLUG

SN: 45001-47460

1шт.

17

141-30-36180

KEY

SN: 45001-47460

14шт.

18

01010-51865

BOLT

SN: 45001-@

56шт.

19

01602-21854

WASHER,SPRING

SN: 45001-47460

56шт.

Выбрано товаров: 0