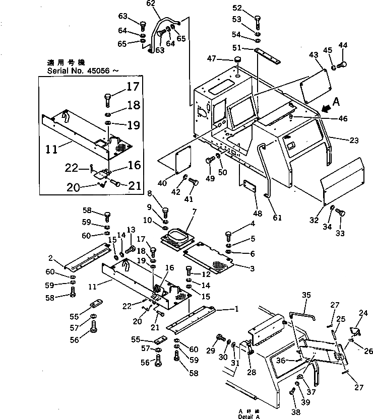
Запчасти Komatsu D60E-8 КОРПУС И ПОЛ ЧАСТИ КОРПУСА

Схема запчастей Komatsu D60E-8 - КОРПУС И ПОЛ ЧАСТИ КОРПУСА
FIT
1:1
100%

Артикул

Название

Примечание

Количество

1

130-54-72280

FLOOR,L.H.

SN: 45001-UP

1шт.

2

130-54-72270

FLOOR,R.H.

SN: 45001-UP

1шт.

3

144-54-26222

FLOOR

SN: 45001-UP

1шт.

4

01010-51225

BOLT

SN: 45001-UP

4шт.

5

01602-21236

WASHER,SPRING

SN: 45001-UP

4шт.

6

01643-31232

WASHER

SN: 45001-UP

4шт.

7

144-54-26230

FLOOR

SN: 45001-UP

1шт.

8

01010-51225

BOLT

SN: 45001-UP

2шт.

9

01602-21236

WASHER,SPRING

SN: 45001-UP

2шт.

10

01643-31232

WASHER

SN: 45001-UP

2шт.

11

144-54-26241

FLOOR

SN: 45056-UP

1шт.

11

144-54-26240

FLOOR

SN: 45001-45055

1шт.

12

01010-51225

BOLT

SN: 45001-UP

6шт.

13

01010-51230

BOLT

SN: 45001-UP

3шт.

14

01602-21236

WASHER,SPRING

SN: 45001-UP

9шт.

15

01643-31232

WASHER

SN: 45001-UP

9шт.

16

144-54-26320

COVER

SN: 45056-UP

1шт.

16

144-54-26250

COVER

SN: 45001-45055

1шт.

17

01010-51025

BOLT

SN: 45001-UP

2шт.

18

01602-21030

WASHER,SPRING

SN: 45001-UP

2шт.

19

01643-31032

WASHER

SN: 45001-UP

2шт.

20

141-54-12290

SPRING

SN: 45001-UP

1шт.

21

04205-10616

PIN

SN: 45001-UP

2шт.

22

04050-11610

PIN,COTTER

SN: 45001-UP

2шт.

23

130-54-72411

BOX

SN: 45001-UP

1шт.

23

120-54-32121

BOX,(FOR ROPS CAB)

SN: 45001-UP

1шт.

24

09461-00021

LEVER

SN: 45001-UP

1шт.

25

09461-00022

PIN

SN: 45001-UP

1шт.

26

09461-00023

SPRING

SN: 45001-UP

1шт.

27

04050-13018

PIN,COTTER

SN: 45001-UP

2шт.

28

124-54-21710

SPRING

SN: 45001-UP

1шт.

29

01010-50816

BOLT

SN: 45001-UP

2шт.

30

01602-20825

WASHER,SPRING

SN: 45001-UP

2шт.

31

01640-20816

WASHER

SN: 45001-UP

2шт.

32

120-54-32141

COVER

SN: 45001-UP

1шт.

33

01010-51225

BOLT

SN: 45001-UP

4шт.

34

01602-21236

WASHER,SPRING

SN: 45001-UP

4шт.

35

120-54-32431

ROD

SN: 45001-UP

1шт.

36

04050-13022

PIN,COTTER

SN: 45001-UP

1шт.

37

20R-54-11460

SPRING

SN: 45001-UP

1шт.

38

01220-40512

SCREW

SN: 45001-UP

1шт.

39

01601-20513

WASHER,SPRING

SN: 45001-UP

1шт.

40

120-54-32151

COVER

SN: 45001-UP

1шт.

41

01010-51225

BOLT

SN: 45001-UP

4шт.

42

01602-21236

WASHER,SPRING

SN: 45001-UP

4шт.

43

120-54-32161

COVER

SN: 45001-UP

1шт.

44

01010-51225

BOLT

SN: 45001-UP

4шт.

45

01602-21236

WASHER,SPRING

SN: 45001-UP

4шт.

46

07049-01215

PLUG

SN: 45001-UP

10шт.

47

09415-03614

CAP

SN: 45001-UP

1шт.

48

120-54-32341

PLATE

SN: 45001-UP

1шт.

49

01010-51230

BOLT

SN: 45001-UP

3шт.

50

01602-21236

WASHER,SPRING

SN: 45001-UP

3шт.

51

120-54-32331

SPACER

SN: 45001-UP

1шт.

52

01010-51270

BOLT

SN: 45001-UP

4шт.

53

01602-21236

WASHER,SPRING

SN: 45001-UP

4шт.

54

01643-31232

WASHER

SN: 45001-UP

4шт.

55

120-54-35240

PLATE

SN: 45001-UP

2шт.

56

01010-51645

BOLT

SN: 45001-UP

4шт.

57

01643-31645

WASHER

SN: 45001-UP

4шт.

58

01010-51225

BOLT

SN: 45001-UP

8шт.

59

01602-21236

WASHER,SPRING

SN: 45001-UP

8шт.

60

01643-31232

WASHER

SN: 45001-UP

8шт.

61

120-54-32252

HANDLE,L.H.

SN: 45001-UP

1шт.

62

144-54-26260

HANDLE,R.H.

SN: 45001-UP

1шт.

63

01010-51230

BOLT

SN: 45001-UP

4шт.

64

01602-21236

WASHER,SPRING

SN: 45001-UP

4шт.

65

01643-31232

WASHER

SN: 45001-UP

4шт.

Выбрано товаров: 68