Запчасти Komatsu D60F-8 РЫЧАГ УПРАВЛ-Я ТРАНСМИССИЕЙ ОСНОВН. МУФТА И ТРАНСМИССИЯ

Схема запчастей Komatsu D60F-8 - РЫЧАГ УПРАВЛ-Я ТРАНСМИССИЕЙ ОСНОВН. МУФТА И ТРАНСМИССИЯ
FIT
1:1
100%

Артикул

Название

Примечание

Количество

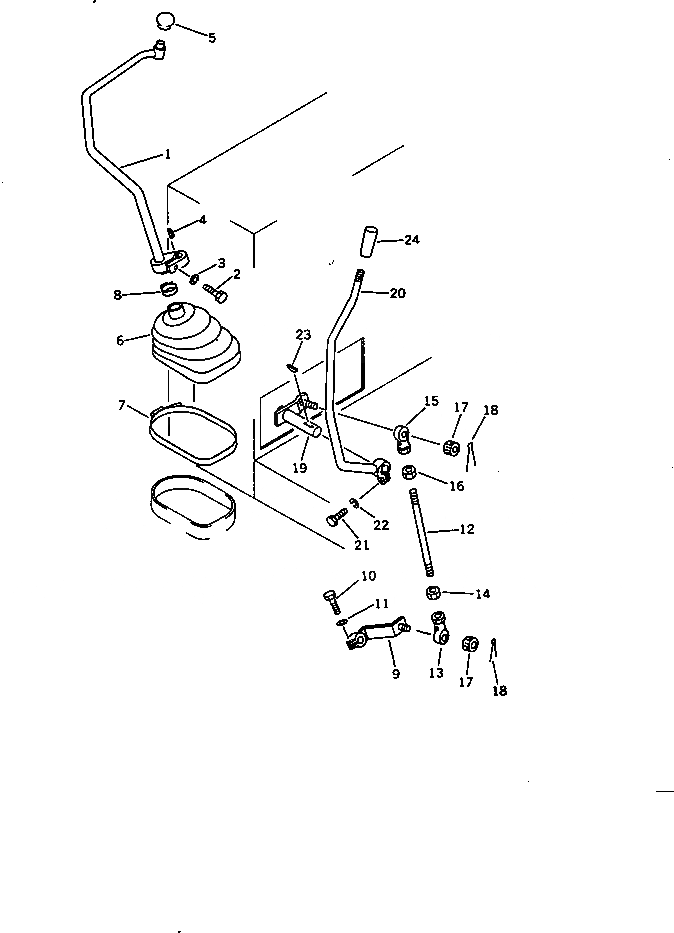
1

144-43-12414

LEVER

SN: 45001-UP

1шт.

2

01010-51240

BOLT

SN: 45001-UP

1шт.

3

01602-21236

WASHER

SN: 45001-UP

1шт.

4

04010-00728

KEY

SN: 45001-UP

1шт.

5

09304-01250

KNOB

SN: 45001-UP

1шт.

6

120-43-36471

BOOT

SN: 45001-UP

1шт.

7

07281-02169

CLAMP

SN: 45001-UP

1шт.

8

07281-00359

CLAMP

SN: 45001-UP

1шт.

9

144-43-12310

LEVER

SN: 45001-UP

1шт.

10

01010-51245

BOLT

SN: 45001-UP

1шт.

11

01602-21236

WASHER

SN: 45001-UP

1шт.

12

04248-31227

ROD

SN: 45001-UP

1шт.

13

04250-41265

END

SN: 45001-UP

1шт.

14

01582-11210

NUT

SN: 45001-UP

1шт.

15

04250-61265

END

SN: 45001-UP

1шт.

16

01508-21207

NUT,L.H. THREAD

SN: 45001-UP

1шт.

17

01593-11210

NUT

SN: 45001-UP

2шт.

18

04050-13020

PIN,COTTER

SN: 45001-UP

2шт.

19

144-43-12320

LEVER

SN: 45001-UP

1шт.

20

144-43-12342

LEVER

SN: 45001-UP

1шт.

21

01010-50830

BOLT

SN: 45001-UP

1шт.

22

01602-20825

WASHER

SN: 45001-UP

1шт.

23

04010-00519

KEY

SN: 45001-UP

1шт.

24

09304-01240

KNOB

SN: 45001-UP

1шт.

Выбрано товаров: 24