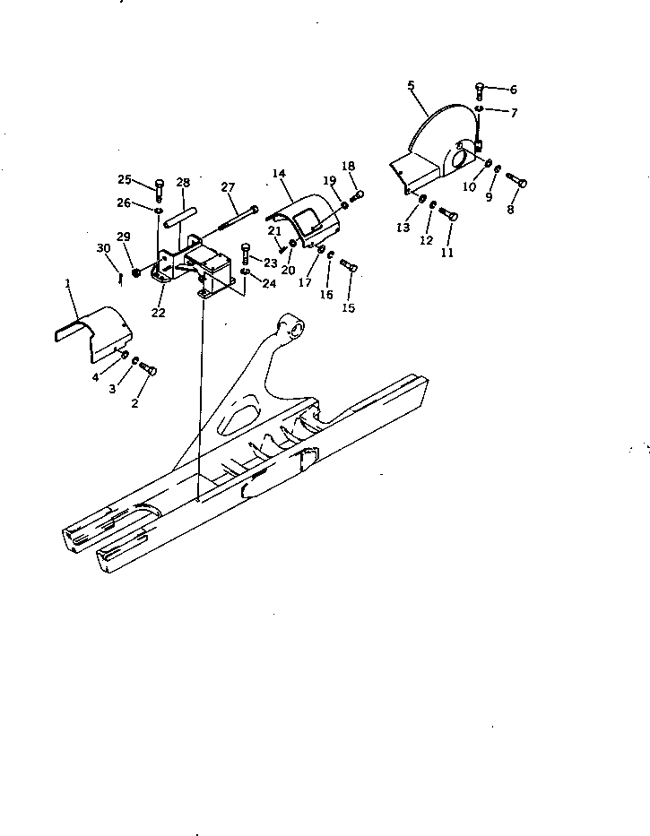
Запчасти Komatsu D60F-8 КРЫШКИ ГУСЕНИЦЫ

Схема запчастей Komatsu D60F-8 - КРЫШКИ ГУСЕНИЦЫ
FIT
1:1
100%

Артикул

Название

Примечание

Количество

1

144-30-37211

COVER,L.H.

SN: 45001-UP

1шт.

1

144-30-37221

COVER,R.H.

SN: 45001-UP

1шт.

2

01010-51430

BOLT

SN: 45001-UP

6шт.

3

01602-21442

WASHER,SPRING

SN: 45001-UP

6шт.

4

01643-31445

WASHER

SN: 45001-UP

6шт.

5

144-30-12150

COVER,L.H.

SN: 45001-UP

1шт.

5

144-30-12160

COVER,R.H.

SN: 45001-UP

1шт.

6

01010-51435

BOLT

SN: 45001-UP

4шт.

7

01602-21442

WASHER,SPRING

SN: 45001-UP

4шт.

8

01010-51455

BOLT

SN: 45001-UP

2шт.

9

01602-21442

WASHER,SPRING

SN: 45001-UP

2шт.

10

01643-31445

WASHER

SN: 45001-UP

2шт.

11

01010-51430

BOLT

SN: 45001-UP

4шт.

12

01602-21442

WASHER,SPRING

SN: 45001-UP

4шт.

13

01643-31445

WASHER

SN: 45001-UP

4шт.

14

144-30-37112

COVER,L.H.

SN: 45001-UP

1шт.

14

144-30-37122

COVER,R.H.

SN: 45001-UP

1шт.

15

01010-51430

BOLT

SN: 45001-UP

8шт.

16

01602-21442

WASHER,SPRING

SN: 45001-UP

8шт.

17

01643-31445

WASHER

SN: 45001-UP

8шт.

18

141-30-17160

BOLT

SN: 45001-UP

2шт.

19

01640-21016

WASHER

SN: 45001-UP

2шт.

20

01641-21016

WASHER

SN: 45001-UP

2шт.

21

04050-03015

PIN,COTTER

SN: 45001-UP

2шт.

22

144-30-37183

SUPPORT,L.H.

SN: 45001-UP

1шт.

22

144-30-37193

SUPPORT,R.H.

SN: 45001-UP

1шт.

23

01010-52250

BOLT

SN: 45001-UP

8шт.

24

01643-32260

WASHER

SN: 45001-UP

8шт.

25

01010-52050

BOLT

SN: 45001-UP

4шт.

26

01602-22060

WASHER,SPRING

SN: 45001-UP

4шт.

27

141-30-37310

BOLT

SN: 45001-UP

2шт.

28

145-30-37240

COLLAR

SN: 45001-UP

2шт.

29

01590-13033

NUT

SN: 45001-UP

2шт.

30

04050-06045

PIN,COTTER

SN: 45001-UP

2шт.

Выбрано товаров: 34