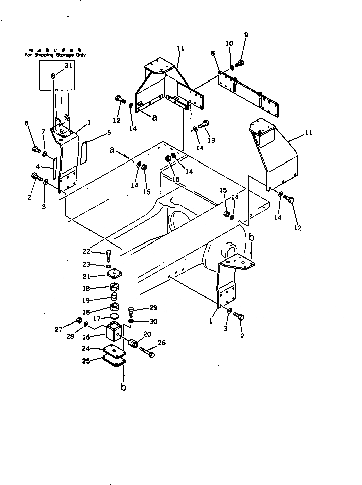
Запчасти Komatsu D60F-8 СИСТЕМА ROPS КРЕПЛЕНИЕ ОПЦИОННЫЕ КОМПОНЕНТЫ

Схема запчастей Komatsu D60F-8 - СИСТЕМА ROPS КРЕПЛЕНИЕ ОПЦИОННЫЕ КОМПОНЕНТЫ
FIT
1:1
100%

Артикул

Название

Примечание

Количество

1

144-978-8841

BRACKET,L.H.

SN: 45001-UP

1шт.

1

144-978-8851

BRACKET,R.H.

SN: 45001-UP

1шт.

2

01010-52065

BOLT

SN: 45001-UP

8шт.

3

01643-32060

WASHER

SN: 45001-UP

8шт.

4

144-978-8340

PLATE

SN: 45001-UP

1шт.

5

144-978-8350

PLATE

SN: 45001-UP

1шт.

6

01010-51230

BOLT

SN: 45001-UP

4шт.

7

01602-21236

WASHER,SPRING

SN: 45001-UP

4шт.

8

144-978-8811

PLATE

SN: 45001-UP

1шт.

9

01010-52050

BOLT

SN: 45001-UP

12шт.

10

01643-32060

WASHER

SN: 45001-UP

12шт.

11

144-978-8821

BRACKET,L.H.

SN: 45001-UP

1шт.

11

144-978-8831

BRACKET,R.H.

SN: 45001-UP

1шт.

12

01010-52060

BOLT

SN: 45001-UP

6шт.

13

01010-52080

BOLT

SN: 45001-UP

6шт.

14

01643-32060

WASHER

SN: 45001-UP

24шт.

15

144-978-8260

NUT

SN: 45001-UP

12шт.

|$17

144-978-8900

MOUNT CUSHION ASS'Y

SN: 45001-UP

4шт.

16

120-Y78-3361

BRACKET

SN: 45001-UP

1шт.

17

120-Y78-3240

PLATE

SN: 45001-UP

1шт.

18

175-978-5180

RUBBER

SN: 45001-UP

2шт.

19

175-978-5160

BLOCK

SN: 45001-UP

1шт.

20

175-978-5170

COLLAR

SN: 45001-UP

1шт.

21

120-Y78-4230

PLATE

SN: 45001-UP

1шт.

22

01010-51230

BOLT

SN: 45001-UP

4шт.

23

01602-21236

WASHER,SPRING

SN: 45001-UP

4шт.

24

144-978-8861

PLATE, 2.3MM

SN: 45001-UP

1шт.

25

144-978-8871

PLATE, 2.3MM

SN: 45001-UP

2шт.

26

175-978-5210

BOLT

SN: 45001-UP

1шт.

27

01580-12722

NUT

SN: 45001-UP

1шт.

28

01643-32780

WASHER

SN: 45001-UP

1шт.

29

01018-52055

BOLT

SN: 45001-UP

4шт.

30

01643-32060

WASHER

SN: 45001-UP

4шт.

31

07049-02025

PLUG,(FOR SHIPPING AND STORAGE ONLY

SN: 45001-UP

16шт.

Выбрано товаров: 34