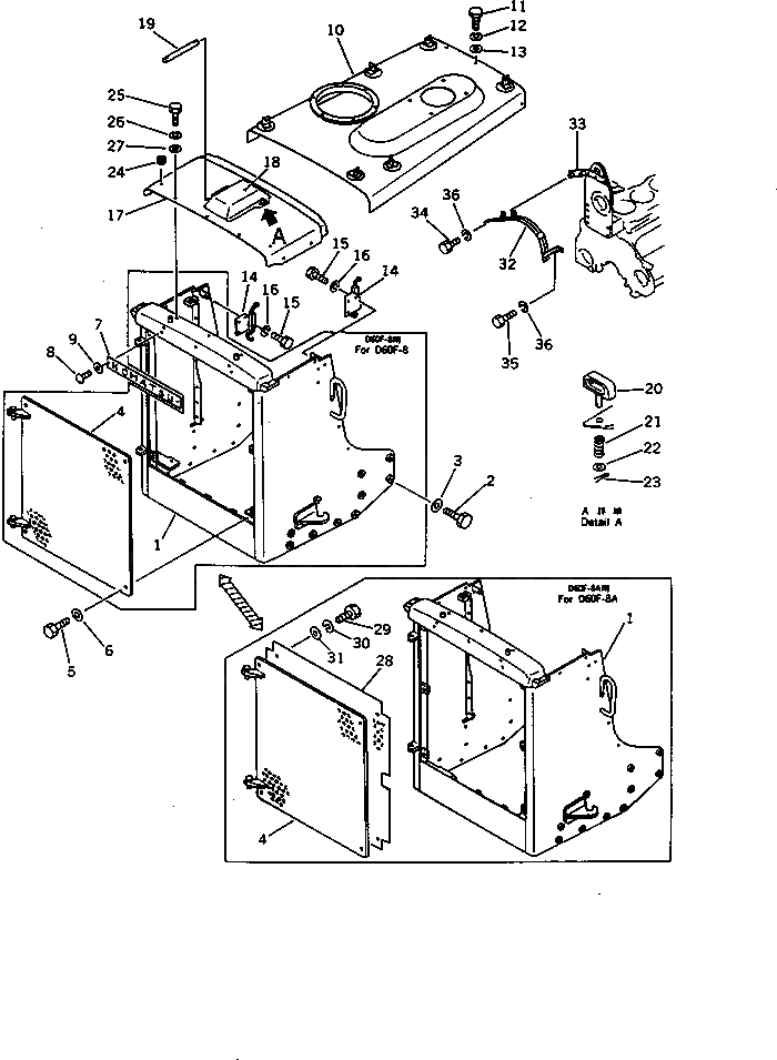
Запчасти Komatsu D60F-8A КАПОТ И ЧАСТИ КОРПУСА ЧАСТИ КОРПУСА

Схема запчастей Komatsu D60F-8A - КАПОТ И ЧАСТИ КОРПУСА ЧАСТИ КОРПУСА
FIT
1:1
100%

Артикул

Название

Примечание

Количество

1

144-54-56110

GUARD,RADIATOR

SN: 45001-UP

1шт.

2

01019-32015

BOLT,RADIATOR

SN: 45001-UP

14шт.

3

01643-32060

WASHER

SN: 45001-UP

14шт.

4

144-54-11980

MASK,FRONT

SN: 45001-UP

1шт.

5

01010-51635

BOLT

SN: 45001-UP

6шт.

6

01643-31645

WASHER

SN: 45001-UP

6шт.

7

144-54-11950

PLATE, MARK

SN: 45001-UP

1шт.

8

175-54-41420

SCREW

SN: 45001-UP

2шт.

9

175-54-41430

WASHER

SN: 45001-UP

2шт.

10

144-54-56120

HOOD

SN: 45001-UP

1шт.

11

01010-51235

BOLT

SN: 45001-UP

5шт.

12

01602-21236

WASHER,SPRING

SN: 45001-UP

5шт.

13

01643-31232

WASHER

SN: 45001-UP

5шт.

14

144-54-56160

CATCHER,L.H.

SN: 45001-UP

1шт.

14

144-54-56180

CATCHER,R.H.

SN: 45001-UP

1шт.

15

01010-51220

BOLT

SN: 45001-UP

6шт.

16

01602-21236

WASHER,SPRING

SN: 45001-UP

6шт.

17

144-54-51120

HOOD

SN: 45001-UP

1шт.

18

144-54-51140

COVER

SN: 45001-UP

1шт.

19

131-54-11270

PIN

SN: 45001-UP

1шт.

20

09459-11033

LOCK

SN: 45001-UP

1шт.

21

09459-01614

SPRING

SN: 45001-UP

1шт.

22

01642-21016

WASHER

SN: 45001-UP

1шт.

23

04050-13015

PIN,COTTER

SN: 45001-UP

1шт.

24

08037-01610

GROMMET

SN: 45001-UP

2шт.

25

01010-51235

BOLT

SN: 45001-UP

7шт.

26

01602-21236

WASHER,SPRING

SN: 45001-UP

7шт.

27

01643-31232

WASHER

SN: 45001-UP

7шт.

28

144-54-41290

MASK

SN: 45001-UP

1шт.

29

01010-51225

BOLT

SN: 45001-UP

4шт.

30

01602-21236

WASHER

SN: 45001-UP

4шт.

31

01643-31232

WASHER

SN: 45001-UP

4шт.

32

144-54-56270

GUARD

SN: 45001-UP

1шт.

33

144-54-56280

BRACKET

SN: 45001-UP

1шт.

34

01010-51020

BOLT

SN: 45001-UP

2шт.

35

01010-51030

BOLT

SN: 45001-UP

1шт.

36

01602-21030

WASHER,SPRING

SN: 45001-UP

3шт.

Выбрано товаров: 37