Запчасти Komatsu D60P-11 ГИДР. БАК. AND ФИЛЬТР. (/) УПРАВЛ-Е РАБОЧИМ ОБОРУДОВАНИЕМ

Схема запчастей Komatsu D60P-11 - ГИДР. БАК. AND ФИЛЬТР. (/) УПРАВЛ-Е РАБОЧИМ ОБОРУДОВАНИЕМ
FIT
1:1
100%

Артикул

Название

Примечание

Количество

|1

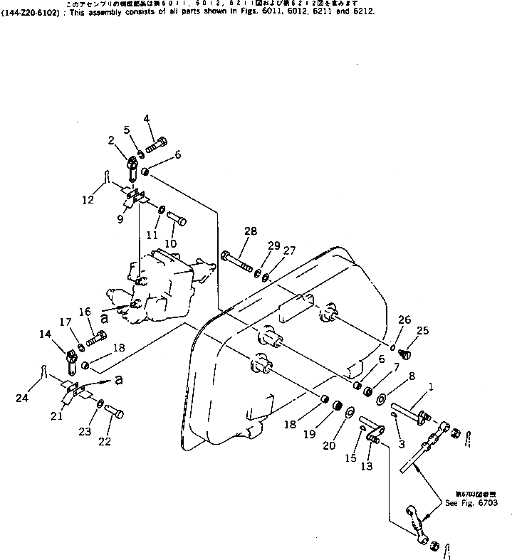
144-Z20-6102

HYDRAULIC TANK ASS'Y

SN: 50001-UP

1шт.

|$$2

THIS ASSEMBLY CONSISTS OF ALL PARTS SHOWN IN FIGS.6011¤6012¤6211 AND 6212.

-1шт.

1

144-60-21140

LEVER

SN: 50001-UP

1шт.

2

141-60-33270

LEVER

SN: 50001-UP

1шт.

3

04010-00519

KEY

SN: 50001-UP

1шт.

4

01010-30830

BOLT

SN: 50001-UP

1шт.

5

01602-00825

WASHER,SPRING

SN: 50001-UP

1шт.

6

06120-02016

BEARING

SN: 50001-UP

2шт.

7

130-09-11450

SEAL,OIL

SN: 50001-UP

1шт.

8

130-60-43150

PLATE

SN: 50001-UP

1шт.

9

141-60-32170

YOKE

SN: 50001-UP

2шт.

10

04205-01028

PIN

SN: 50001-UP

2шт.

11

01641-01016

WASHER

SN: 50001-UP

2шт.

12

04050-03015

PIN,COTTER

SN: 50001-UP

2шт.

13

144-Z20-6121

LEVER

SN: 50001-UP

1шт.

14

141-60-33270

LEVER

SN: 50001-UP

1шт.

15

04010-00519

KEY

SN: 50001-UP

1шт.

16

01010-30830

BOLT

SN: 50001-UP

1шт.

17

01602-00825

WASHER,SPRING

SN: 50001-UP

1шт.

18

06120-02016

BEARING

SN: 50001-UP

2шт.

19

130-09-11450

SEAL,OIL

SN: 50001-UP

1шт.

20

130-60-43150

PLATE

SN: 50001-UP

1шт.

21

141-60-32170

YOKE

SN: 50001-UP

2шт.

22

04205-01028

PIN

SN: 50001-UP

2шт.

23

01641-01016

WASHER

SN: 50001-UP

2шт.

24

04050-03015

PIN,COTTER

SN: 50001-UP

2шт.

25

140-60-13350

PLUG

SN: 50001-UP

1шт.

26

07000-03020

O-RING

SN: 50001-UP

1шт.

27

140-60-13360

COLLAR

SN: 50001-UP

1шт.

28

01010-31090

BOLT

SN: 50001-UP

1шт.

29

01602-01030

WASHER,SPRING

SN: 50001-UP

1шт.

Выбрано товаров: 0