Запчасти Komatsu D60P-11 ГИДР. БАК. AND ФИЛЬТР. (/) (ДЛЯ ВСПОМОГАТЕЛЬН. FРУКОЯТЬING ИНСТРУМЕНТ) УПРАВЛ-Е РАБОЧИМ ОБОРУДОВАНИЕМ

Схема запчастей Komatsu D60P-11 - ГИДР. БАК. AND ФИЛЬТР. (/) (ДЛЯ ВСПОМОГАТЕЛЬН. FРУКОЯТЬING ИНСТРУМЕНТ) УПРАВЛ-Е РАБОЧИМ ОБОРУДОВАНИЕМ
FIT
1:1
100%

Артикул

Название

Примечание

Количество

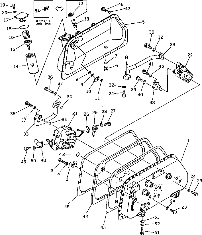
|1

144-921-3202

HYDRAULIC TANK ASS'Y

SN: 50001-UP

1шт.

|$$2

THIS ASSEMBLY CONSISTS OF ALL PARTS SHOWN IN FIGS.6015¤6016¤6211¤6212 AND 6221.

-1шт.

1

144-921-3210

TANK,HYDRAULIC

SN: 50001-UP

1шт.

2

144-60-13311

STRAINER

SN: 50001-UP

1шт.

3

01010-31016

BOLT

SN: 50001-UP

2шт.

4

01602-01030

WASHER,SPRING

SN: 50001-UP

2шт.

5

144-60-21121

TANK,HYDRAULIC

SN: 50001-UP

1шт.

6

07044-13620

PLUG,DRAIN

SN: 50001-UP

1шт.

7

07002-03634

O-RING

SN: 50001-UP

1шт.

8

07715-00651

COVER

SN: 50001-UP

1шт.

9

07715-11257

RING

SN: 50001-UP

1шт.

10

07715-21074

CASE

SN: 50001-UP

1шт.

11

01598-11011

NUT

SN: 50001-UP

4шт.

12

07051-00000

CAP

SN: 50001-UP

1шт.

|12

07051-00003

GASKET

SN: 50001-UP

1шт.

13

141-60-33730

STRAINER

SN: 50001-UP

1шт.

14

144-60-11160

ELEMENT

SN: 50001-UP

1шт.

15

144-60-21160

VALVE ASS'Y

SN: 50001-UP

1шт.

16

125-62-21170

SPRING

SN: 50001-UP

1шт.

17

144-60-21151

COVER

SN: 50001-UP

1шт.

18

07000-02125

O-RING

SN: 50001-UP

1шт.

19

01010-51030

BOLT

SN: 50001-UP

4шт.

20

01602-21030

WASHER,SPRING

SN: 50001-UP

4шт.

21

701-33-12006

CONTROL VALVE ASS'Y

SN: 50001-UP

1шт.

22

701-31-21001

VALVE ASS'Y

SN: 50001-UP

1шт.

23

01010-51225

BOLT

SN: 50001-UP

5шт.

24

01602-21236

WASHER,SPRING

SN: 50001-UP

5шт.

25

144-921-1120

TUBE

SN: 50001-UP

1шт.

26

144-921-1160

PLATE

SN: 50001-UP

1шт.

27

01010-31040

BOLT

SN: 50001-UP

2шт.

28

01602-01030

WASHER,SPRING

SN: 50001-UP

2шт.

29

144-850-7430

PIPE

SN: 50001-UP

1шт.

30

01010-31445

BOLT

SN: 50001-UP

2шт.

31

01010-31440

BOLT

SN: 50001-UP

2шт.

32

01602-01442

WASHER,SPRING

SN: 50001-UP

4шт.

33

144-921-2120

TUBE

SN: 50001-UP

1шт.

34

07000-13042

O-RING

SN: 50001-UP

2шт.

35

01010-31445

BOLT

SN: 50001-UP

3шт.

36

01010-31475

BOLT

SN: 50001-UP

1шт.

37

01602-01442

WASHER,SPRING

SN: 50001-UP

4шт.

38

144-78-13170

FLANGE

SN: 50001-UP

1шт.

39

01011-31220

BOLT

SN: 50001-UP

2шт.

40

01602-01236

WASHER,SPRING

SN: 50001-UP

2шт.

41

01010-30825

BOLT

SN: 50001-UP

1шт.

42

01602-00825

WASHER,SPRING

SN: 50001-UP

1шт.

43

130-Z20-5250

O-RING

SN: 50001-UP

2шт.

44

144-850-7420

SPACER

SN: 50001-UP

1шт.

45

144-60-21130

GASKET

SN: 50001-UP

2шт.

46

01010-51055

BOLT

SN: 50001-UP

49шт.

47

01602-21030

WASHER,SPRING

SN: 50001-UP

49шт.

48

144-920-5142

BAFFLE

SN: 50001-UP

1шт.

49

01010-30825

BOLT

SN: 50001-UP

2шт.

50

01602-00825

WASHER,SPRING

SN: 50001-UP

2шт.

51

01010-51460

BOLT

SN: 50001-UP

5шт.

52

01602-21442

WASHER,SPRING

SN: 50001-UP

5шт.

53

01643-31445

WASHER

SN: 50001-UP

5шт.

Выбрано товаров: 56