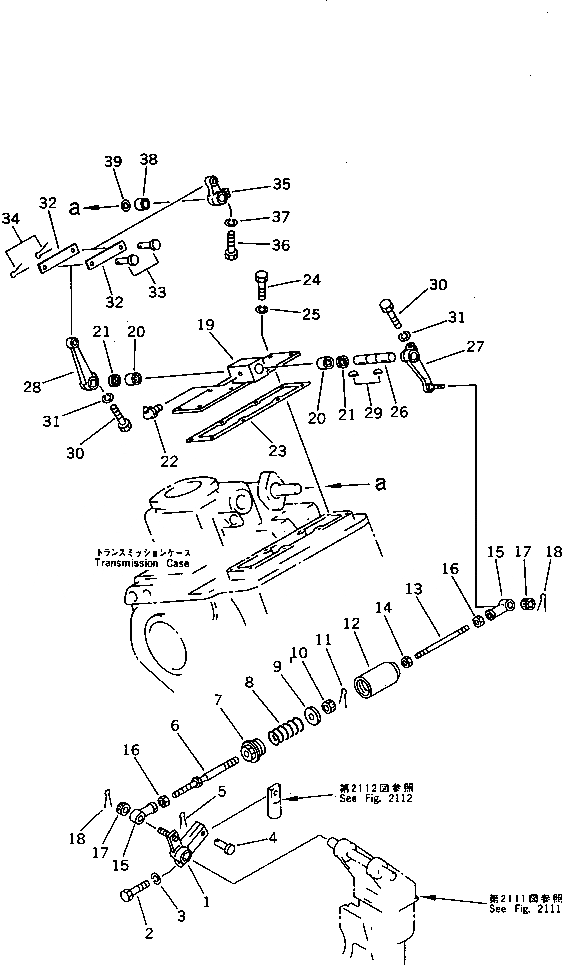
Запчасти Komatsu D60P-11 ОСНОВН. МУФТА МЕХ-М УПРАВЛ-Я СИСТЕМА УПРАВЛЕНИЯ

Схема запчастей Komatsu D60P-11 - ОСНОВН. МУФТА МЕХ-М УПРАВЛ-Я СИСТЕМА УПРАВЛЕНИЯ
FIT
1:1
100%

Артикул

Название

Примечание

Количество

1

144-43-18430

LEVER

SN: 50001-UP

1шт.

2

01010-50830

BOLT

SN: 50001-UP

1шт.

3

01602-20825

WASHER,SPRING

SN: 50001-UP

1шт.

4

04205-11038

PIN

SN: 50898-UP

1шт.

|4

141-43-33660

PIN

SN: 50001-50897

1шт.

5

04050-13015

PIN,COTTER

SN: 50001-UP

1шт.

6

144-43-18450

ROD

SN: 50001-UP

1шт.

7

145-43-34320

PLUG

SN: 50001-UP

1шт.

8

141-43-15270

SPRING

SN: 50001-UP

1шт.

9

141-43-33160

PLATE

SN: 50001-UP

1шт.

10

01590-31215

NUT

SN: 50001-UP

1шт.

11

04050-13020

PIN,COTTER

SN: 50001-UP

1шт.

12

144-43-18460

HOLDER

SN: 50001-UP

1шт.

13

04245-41024

ROD

SN: 50001-UP

1шт.

14

01582-11008

NUT

SN: 50001-UP

1шт.

15

04250-41056

END,ROD

SN: 50001-UP

2шт.

16

01582-11008

NUT

SN: 50001-UP

2шт.

17

01593-11008

NUT

SN: 50001-UP

2шт.

18

04050-12018

PIN,COTTER

SN: 50001-UP

2шт.

19

144-43-18470

BRACKET

SN: 50001-UP

1шт.

20

06120-02016

BEARING,NEEDLE

SN: 50001-UP

2шт.

21

06122-02004

SEAL,BEARING

SN: 50001-UP

2шт.

22

07020-00900

FITTING,GREASE

SN: 50001-UP

1шт.

23

141-14-32462

GASKET

SN: 51617-UP

1шт.

|23

0

GASKET

SN: 50001-51616

1шт.

24

01010-81025

BOLT

SN: 50001-UP

8шт.

25

01602-21030

WASHER,SPRING

SN: 50001-UP

8шт.

26

144-43-18480

SHAFT

SN: 50001-UP

1шт.

27

141-43-33553

LEVER

SN: 50001-UP

1шт.

28

141-43-33542

LEVER

SN: 50001-UP

1шт.

29

04010-00519

KEY

SN: 50001-UP

2шт.

30

01010-80825

BOLT

SN: 50001-UP

2шт.

31

01602-20825

WASHER,SPRING

SN: 50001-UP

2шт.

32

141-43-33640

PLATE

SN: 50001-UP

2шт.

33

04205-11028

PIN

SN: 50001-UP

2шт.

34

04050-13015

PIN,COTTER

SN: 50001-UP

2шт.

35

141-43-33512

LEVER

SN: 50001-UP

1шт.

36

01010-80825

BOLT

SN: 50001-UP

1шт.

37

01602-20825

WASHER,SPRING

SN: 50001-UP

1шт.

38

141-43-33150

SPACER

SN: 50001-UP

1шт.

39

01640-22232

WASHER

SN: 50001-UP

1шт.

Выбрано товаров: 0