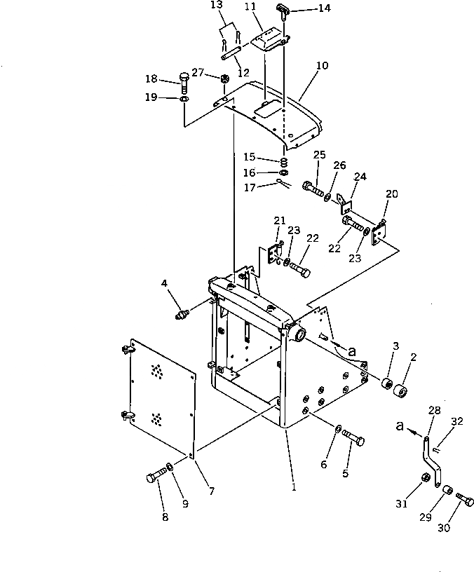
Запчасти Komatsu D60P-11 ЗАЩИТА РАДИАТОРА AND КАПОТ ЧАСТИ КОРПУСА

Схема запчастей Komatsu D60P-11 - ЗАЩИТА РАДИАТОРА AND КАПОТ ЧАСТИ КОРПУСА
FIT
1:1
100%

Артикул

Название

Примечание

Количество

|1

14F-54-00050

GUARD ASS'Y

SN: 50001-UP

1шт.

1

0

GUARD

SN: 50001-UP

1шт.

2

144-70-15181

BUSHING

SN: 50001-UP

2шт.

3

144-70-15171

BUSHING

SN: 50001-UP

2шт.

4

07020-00000

FITTING,GREASE

SN: 50001-UP

2шт.

5

01019-32015

BOLT

SN: 50001-UP

18шт.

6

01643-32060

WASHER

SN: 50001-UP

18шт.

7

144-54-81411

MASK,RADIATOR (D60P)

SN: 50676-UP

1шт.

|7

144-54-81410

MASK,RADIATOR (D60P)

SN: 50001-50677

1шт.

|7

144-54-81411

MASK,RADIATOR (D65P)

SN: 50319-UP

1шт.

|7

144-54-81410

MASK,RADIATOR (D65P)

SN: 50001-50318

1шт.

8

01010-51635

BOLT

SN: 50001-UP

6шт.

9

01643-31645

WASHER

SN: 50001-UP

6шт.

10

144-54-51121

COVER

SN: 50001-UP

1шт.

11

144-54-51140

COVER

SN: 50001-UP

1шт.

12

131-54-11270

PIN

SN: 50001-UP

1шт.

13

04050-11610

PIN,COTTER

SN: 50001-UP

2шт.

14

09459-11033

LOCK

SN: 50001-UP

1шт.

15

09459-01614

SPRING

SN: 50001-UP

1шт.

16

01642-21016

WASHER

SN: 50001-UP

1шт.

17

04050-13015

PIN,COTTER

SN: 50001-UP

1шт.

18

01010-51225

BOLT

SN: 50001-UP

7шт.

19

01643-31232

WASHER

SN: 50001-UP

7шт.

20

144-54-51160

CATCHER,L.H.

SN: 50001-UP

1шт.

21

144-54-51180

CATCHER,R.H.

SN: 50001-UP

1шт.

22

01010-51220

BOLT

SN: 50001-UP

6шт.

23

01643-31232

WASHER

SN: 50001-UP

6шт.

24

144-54-51210

BRACKET

SN: 50001-UP

1шт.

25

01010-50820

BOLT

SN: 50001-UP

2шт.

26

01643-30823

WASHER

SN: 50001-UP

2шт.

27

08037-01610

GROMMET

SN: 50001-UP

2шт.

28

144-811-6210

PLATE

SN: 50001-UP

2шт.

29

140-60-15460

TUBE

SN: 50001-UP

2шт.

30

01010-51245

BOLT

SN: 50001-UP

2шт.

31

01580-11210

NUT

SN: 50001-UP

2шт.

32

04050-13025

PIN,COTTER

SN: 50001-UP

2шт.

Выбрано товаров: 0