Запчасти Komatsu D60P-11D ПАНЕЛЬ УПРАВЛЕНИЯ (ДЛЯ VEHICLE INСПЕЦ-ЯTORIAL) (ПРЯМ. ОТВАЛ-НАКЛОНЯЕМ. ОТВАЛ) КОМПОНЕНТЫ ДВИГАТЕЛЯ И ЭЛЕКТРИКА

Схема запчастей Komatsu D60P-11D - ПАНЕЛЬ УПРАВЛЕНИЯ (ДЛЯ VEHICLE INСПЕЦ-ЯTORIAL) (ПРЯМ. ОТВАЛ-НАКЛОНЯЕМ. ОТВАЛ) КОМПОНЕНТЫ ДВИГАТЕЛЯ И ЭЛЕКТРИКА
FIT
1:1
100%

Артикул

Название

Примечание

Количество

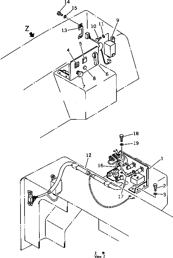
1

144-B60-1150

PANEL

SN: 50001-UP

1шт.

2

01010-51016

BOLT

SN: 50001-UP

2шт.

3

01643-31032

WASHER

SN: 50001-UP

2шт.

4

103-B60-2320

LAMP¤ INDICATOR,WORKING LAMP

SN: 50001-UP

1шт.

|4

08111-12430

BULB¤ 3W

SN: 50001-UP

1шт.

5

103-B60-2330

LAMP¤ INDICATOR,TURN SIGNAL

SN: 50001-UP

1шт.

|5

08111-12430

BULB¤ 3W

SN: 50001-UP

1шт.

6

08075-80000

SWITCH,TURN SIGNAL

SN: 50001-UP

1шт.

7

08061-30030

SWITCH,PARKING

SN: 50001-UP

1шт.

8

09415-00506

CAP

SN: 50001-UP

1шт.

9

08077-22401

FLASHER

SN: 50001-UP

1шт.

10

01010-50612

BOLT

SN: 50001-UP

1шт.

11

01601-20619

WASHER,SPRING

SN: 50001-UP

1шт.

12

144-B60-1240

WIRING HARNESS

SN: 50001-UP

1шт.

13

130-06-64160

PLATE

SN: 50001-UP

1шт.

14

01010-50616

BOLT

SN: 50001-UP

2шт.

15

01643-30623

WASHER

SN: 50001-UP

2шт.

16

103-B60-2340

WIRE ASS'Y

SN: 50001-UP

1шт.

17

130-B60-1340

WIRE

SN: 50001-UP

1шт.

18

01010-50812

BOLT

SN: 50001-UP

1шт.

19

01643-30823

WASHER

SN: 50001-UP

1шт.

Выбрано товаров: 21