Запчасти Komatsu D60P-11D РАБОЧЕЕ ОБОРУДОВАНИЕ КЛАПАН (/) УПРАВЛ-Е РАБОЧИМ ОБОРУДОВАНИЕМ

Схема запчастей Komatsu D60P-11D - РАБОЧЕЕ ОБОРУДОВАНИЕ КЛАПАН (/) УПРАВЛ-Е РАБОЧИМ ОБОРУДОВАНИЕМ
FIT
1:1
100%

Артикул

Название

Примечание

Количество

|1

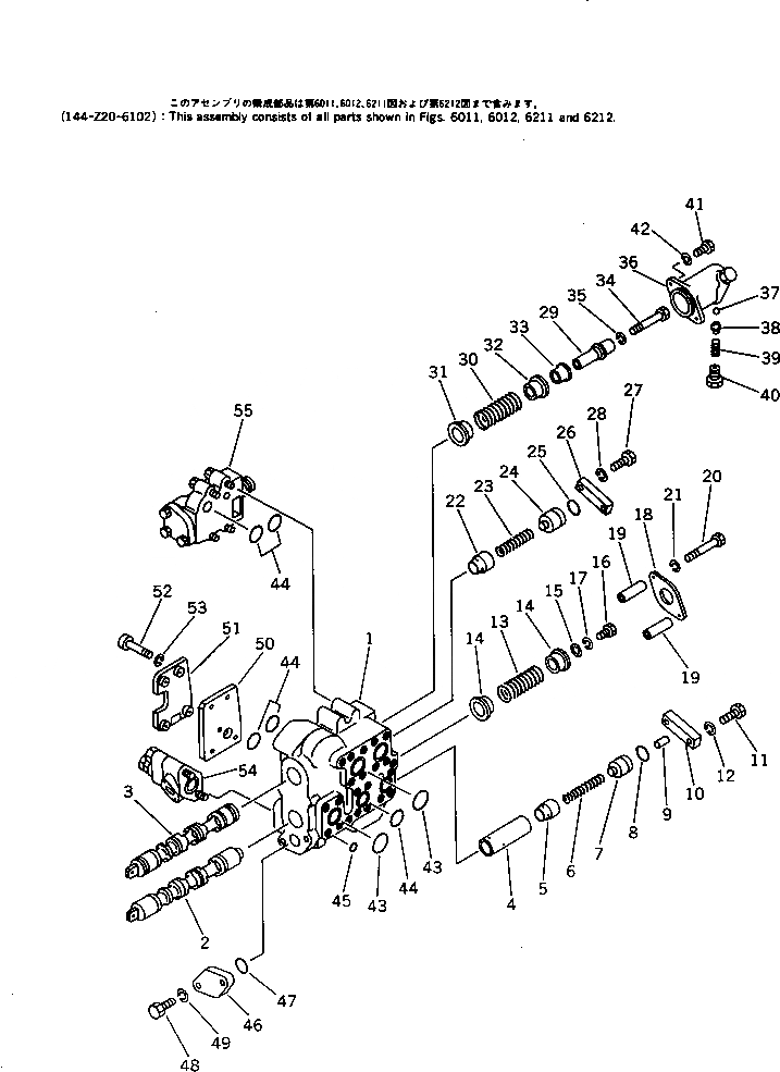
144-Z20-6102

HYDRAULIC TANK ASS'Y,(FOR TILT AND TILT-PITCH)

SN: 50001-UP

1шт.

|$$2

THIS ASSEMBLY CONSISTS OF ALL PARTS SHOWN IN FIGS.6011¤6012¤6211 AND 6212.

-1шт.

|1

144-921-3202

HYDRAULIC TANK ASS'Y,(FOR AUX. FARMING TOOL)

SN: 50001-UP

1шт.

|$$4

THIS ASSEMBLY CONSISTS OF ALL PARTS SHOWN IN FIGS.6015¤6016¤6211¤6212 AND 6221.

-1шт.

|1

701-33-12006

CONTROL VALVE ASS'Y

SN: 50001-UP

1шт.

|1

701-33-32005

BODY ASS'Y

SN: 50001-UP

1шт.

|1

701-33-00012

BODY SUB ASS'Y

SN: 50001-UP

1шт.

1

0

BODY,CONTROL VALVE

SN: 50001-UP

1шт.

2

0

SPOOL

SN: 50001-UP

1шт.

3

0

SPOOL

SN: 50001-UP

1шт.

4

0

COLLAR

SN: 50001-UP

1шт.

5

701-33-32130

VALVE,CHECK

SN: 50001-UP

1шт.

6

701-33-32140

SPRING

SN: 50001-UP

1шт.

7

701-33-32152

SEAT

SN: 50001-UP

1шт.

8

07000-13025

O-RING

SN: 50001-UP

1шт.

9

04020-00514

PIN,DOWEL

SN: 50001-UP

1шт.

10

701-33-32160

PLATE

SN: 50001-UP

1шт.

11

01010-31240

BOLT

SN: 50001-UP

2шт.

12

01602-01236

WASHER,SPRING

SN: 50001-UP

2шт.

13

701-33-32450

SPRING

SN: 50001-UP

1шт.

14

701-33-31370

RETAINER

SN: 50001-UP

2шт.

15

701-33-31210

WASHER

SN: 50001-UP

1шт.

16

01010-31220

BOLT

SN: 50001-UP

1шт.

17

01602-01236

WASHER,SPRING

SN: 50001-UP

1шт.

18

701-33-46340

PLATE

SN: 50001-UP

1шт.

19

701-33-31460

COLLAR

SN: 50001-UP

2шт.

20

01010-31095

BOLT

SN: 50001-UP

2шт.

21

01602-01030

WASHER,SPRING

SN: 50001-UP

2шт.

22

701-33-31120

VALVE,CHECK

SN: 50001-UP

1шт.

23

701-33-31130

SPRING

SN: 50001-UP

1шт.

24

701-33-31150

SEAT

SN: 50001-UP

1шт.

25

07000-13035

O-RING

SN: 50001-UP

1шт.

26

701-33-31160

PLATE

SN: 50001-UP

1шт.

27

01010-31235

BOLT

SN: 50001-UP

2шт.

28

01602-01236

WASHER,SPRING

SN: 50001-UP

2шт.

29

701-31-31121

DETENT

SN: 50001-UP

1шт.

30

701-33-31130

SPRING

SN: 50001-UP

1шт.

31

701-33-31380

RETAINER

SN: 50001-UP

1шт.

32

701-33-31390

RETAINER

SN: 50001-UP

1шт.

33

701-33-31281

COLLAR

SN: 50001-UP

1шт.

34

701-33-31292

BOLT

SN: 50001-UP

1шт.

35

01602-01236

WASHER,SPRING

SN: 50001-UP

1шт.

36

701-33-31311

CASE

SN: 50001-UP

1шт.

37

701-33-31320

BALL

SN: 50001-UP

3шт.

38

701-33-31330

GUIDE

SN: 50001-UP

3шт.

39

701-33-31340

SPRING

SN: 50001-UP

3шт.

40

701-33-31350

PLUG

SN: 50001-UP

3шт.

41

01010-31030

BOLT

SN: 50001-UP

2шт.

42

01602-01030

WASHER,SPRING

SN: 50001-UP

2шт.

43

07000-13045

O-RING

SN: 50001-UP

3шт.

44

07000-13035

O-RING

SN: 50001-UP

6шт.

45

07000-02015

O-RING

SN: 50001-UP

23шт.

46

701-33-31360

PLATE

SN: 50001-UP

1шт.

47

07000-13040

O-RING

SN: 50001-UP

1шт.

48

01010-31440

BOLT

SN: 50001-UP

2шт.

49

01602-01442

WASHER,SPRING

SN: 50001-UP

2шт.

50

701-33-32191

PLATE

SN: 50001-UP

1шт.

51

701-33-32240

BAFFLE

SN: 50001-UP

1шт.

52

01010-31260

BOLT

SN: 50001-UP

4шт.

53

01602-01236

WASHER,SPRING

SN: 50001-UP

4шт.

54

701-30-51002

VALVE ASS'Y,(SEE FIG.6212)

SN: 50001-UP

1шт.

55

701-30-62002

VALVE ASS'Y,(SEE FIG.6212)

SN: 50001-UP

1шт.

Выбрано товаров: 0