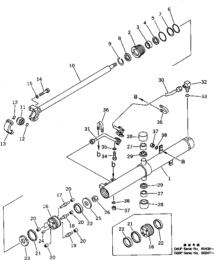
Запчасти Komatsu D60P-11D ЦИЛИНДР ПОДЪЕМА ОТВАЛА УПРАВЛ-Е РАБОЧИМ ОБОРУДОВАНИЕМ

Схема запчастей Komatsu D60P-11D - ЦИЛИНДР ПОДЪЕМА ОТВАЛА УПРАВЛ-Е РАБОЧИМ ОБОРУДОВАНИЕМ
FIT
1:1
100%

Артикул

Название

Примечание

Количество

G-1

0

CYLINDER GROUP,LIFT¤ L.H.

SN: 50898-UP

1шт.

G-1

0

CYLINDER GROUP,LIFT¤ L.H.

SN: 50709-50897

1шт.

G-1

0

CYLINDER GROUP,LIFT¤ L.H.

SN: 50435-50708

1шт.

G-1

0

CYLINDER GROUP,LIFT¤ L.H.

SN: 50001-50434

1шт.

G-1

0

CYLINDER GROUP,LIFT¤ R.H.

SN: 50898-UP

1шт.

G-1

0

CYLINDER GROUP,LIFT¤ R.H.

SN: 50709-50897

1шт.

G-1

0

CYLINDER GROUP,LIFT¤ R.H.

SN: 50435-50708

1шт.

G-1

0

CYLINDER GROUP,LIFT¤ R.H.

SN: 50001-50434

1шт.

|$$9

====================

-1шт.

|1

14F-63-03010

CYLINDER ASS'Y,LIFT¤ L.H.

SN: 50898-UP

1шт.

|1

0

CYLINDER ASS'Y,LIFT¤ L.H.

SN: 50709-50897

1шт.

|1

0

CYLINDER ASS'Y,LIFT¤ L.H.

SN: 50435-50708

1шт.

|1

0

CYLINDER ASS'Y,LIFT¤ L.H.

SN: 50001-50434

1шт.

|1

14F-63-03020

CYLINDER ASS'Y,LIFT¤ R.H.

SN: 50898-UP

1шт.

|1

0

CYLINDER ASS'Y,LIFT¤ R.H.

SN: 50709-50897

1шт.

|1

0

CYLINDER ASS'Y,LIFT¤ R.H.

SN: 50435-50708

1шт.

|1

0

CYLINDER ASS'Y,LIFT¤ R.H.

SN: 50001-50434

1шт.

1

14F-63-12142

CYLINDER,L.H.

SN: 50898-UP

1шт.

|1

0

CYLINDER,L.H.

SN: 50001-50897

1шт.

|1

14F-63-12242

CYLINDER,R.H.

SN: 50898-UP

1шт.

|1

0

CYLINDER,R.H.

SN: 50001-50897

1шт.

2

707-29-11950

HEAD,CYLINDER

SN: 50001-UP

1шт.

3

07177-06530

BUSHING

SN: 50001-UP

1шт.

4

707-51-65210

PACKING,ROD (K1)

SN: 50001-UP

1шт.

5

07000-02110

O-RING (K1)

SN: 50001-UP

1шт.

6

07000-12105

O-RING (K1)

SN: 50001-UP

1шт.

7

707-35-91100

RING,BACK-UP (K1)

SN: 50001-UP

1шт.

8

144-63-92170

SEAL,DUST (K1)

SN: 50001-UP

1шт.

9

07179-12079

RING,SNAP

SN: 50001-UP

1шт.

10

14F-63-12120

ROD,PISTON

SN: 50001-UP

1шт.

11

07137-04006

BUSHING

SN: 50001-UP

1шт.

|11

07137-00040

SEAL

SN: 50001-UP

2шт.

12

07000-03040

O-RING (K1)

SN: 50001-UP

2шт.

13

144-63-13370

CAP

SN: 50001-UP

1шт.

14

01010-82085

BOLT

SN: 50001-UP

4шт.

15

01643-32060

WASHER

SN: 50001-UP

4шт.

|16

14F-63-12230

PISTON SUB ASS'Y

SN: 50709-UP

1шт.

|16

14F-63-12131

PISTON SUB ASS'Y

SN: 50435-50708

1шт.

|16

14F-63-12130

PISTON SUB ASS'Y

SN: 50001-50434

1шт.

16

0

PISTON

SN: 50709-UP

1шт.

|16

0

PISTON

SN: 50435-50708

1шт.

|16

0

PISTON

SN: 50001-50434

1шт.

17

0

VALVE¤ 62MM

SN: 50001-UP

1шт.

18

0

VALVE¤ 59MM

SN: 50001-UP

2шт.

19

0

VALVE¤ 56MM

SN: 50001-UP

1шт.

20

0

SEAT,VALVE

SN: 50001-UP

8шт.

21

707-44-11180

RING,PISTON (K1)

SN: 50709-UP

1шт.

|21

07161-10110

RING,PISTON

SN: 50001-50708

1шт.

22

707-39-11110

RING (K1)

SN: 50435-UP

2шт.

|22

07155-01125

RING,WEAR

SN: 50001-50434

1шт.

23

707-40-11050

RETAINER

SN: 50001-UP

1шт.

24

04020-00616

PIN,DOWEL

SN: 50001-UP

1шт.

25

707-40-11060

RETAINER

SN: 50001-UP

1шт.

26

07165-13638

NUT

SN: 50001-UP

1шт.

27

144-60-15450

BUSHING

SN: 50001-UP

2шт.

28

144-60-15431

BUSHING

SN: 50001-UP

2шт.

29

07145-00055

SEAL,DUST (K1)

SN: 50001-UP

2шт.

30

14F-63-12181

TUBE,L.H.

SN: 50001-UP

1шт.

|30

14F-63-12281

TUBE,R.H.

SN: 50001-UP

1шт.

31

14F-63-12171

TUBE,L.H.

SN: 50001-UP

1шт.

|31

14F-63-12271

TUBE,R.H.

SN: 50001-UP

1шт.

32

07235-10628

ELBOW

SN: 50001-UP

1шт.

33

07002-12434

O-RING (K1)

SN: 50001-UP

1шт.

34

01010-51040

BOLT

SN: 50001-UP

2шт.

35

01643-31032

WASHER

SN: 50001-UP

2шт.

36

07283-22738

CLIP

SN: 50001-UP

2шт.

37

01599-01011

NUT

SN: 50001-UP

4шт.

38

01643-31032

WASHER

SN: 50001-UP

4шт.

|$$69

====================

-1шт.

Выбрано товаров: 69