Запчасти Komatsu D60P-11D ПРЯМ. ОТВАЛ ОТВАЛ (ПРЯМ. ОТВАЛ-НАКЛОНЯЕМ. ОТВАЛ) РАБОЧЕЕ ОБОРУДОВАНИЕ

Схема запчастей Komatsu D60P-11D - ПРЯМ. ОТВАЛ ОТВАЛ (ПРЯМ. ОТВАЛ-НАКЛОНЯЕМ. ОТВАЛ) РАБОЧЕЕ ОБОРУДОВАНИЕ
FIT
1:1
100%

Артикул

Название

Примечание

Количество

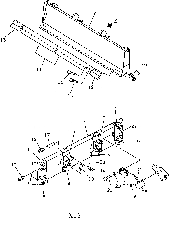
1

14F-70-81111

BLADE,(FOR D60P)

SN: 51126-UP

1шт.

|1

14F-70-81110

BLADE,(FOR D60P)

SN: 50001-51125

1шт.

|1

14F-70-81111

BLADE,(FOR D65P)

SN: 50474-UP

1шт.

|1

14F-70-81110

BLADE,(FOR D65P)

SN: 50001-50473

1шт.

2

144-Z17-1120

BRACKET,L.H. (WELDED)

SN: 50001-UP

1шт.

3

144-Z17-1130

BRACKET,R.H. (WELDED)

SN: 50001-UP

1шт.

4

14F-70-81120

BRACKET,L.H. (WELDED)

SN: 50001-UP

1шт.

5

14F-70-81130

BRACKET,R.H. (WELDED)

SN: 50001-UP

1шт.

6

144-917-1140

BRACKET,L.H. (WELDED)

SN: 50001-UP

1шт.

7

14F-70-81140

BRACKET,R.H. (WELDED)

SN: 50001-UP

1шт.

8

144-920-1760

BRACKET,L.H. (WELDED)

SN: 50001-UP

1шт.

9

144-920-1770

BRACKET,R.H. (WELDED)

SN: 50001-UP

1шт.

10

07020-00000

FITTING,GREASE

SN: 50001-UP

4шт.

11

144-70-11131

EDGE,CUTTING

SN: 50001-UP

2шт.

12

13F-Z27-1581

BIT,END¤ L.H.

SN: 50001-UP

1шт.

13

13F-Z27-1571

BIT,END¤ R.H.

SN: 50001-UP

1шт.

14

02090-11270

BOLT

SN: 50001-UP

28шт.

15

02091-11210

BOLT

SN: 50001-UP

4шт.

16

02290-11219

NUT

SN: 50001-UP

32шт.

17

144-Z17-1140

SHAFT

SN: 50001-UP

2шт.

18

07020-00000

FITTING,GREASE

SN: 50001-UP

2шт.

19

140-70-14230

PIN

SN: 50001-UP

2шт.

20

04050-13015

PIN,COTTER

SN: 50001-UP

2шт.

21

14F-70-81320

PLATE

SN: 50001-UP

1шт.

22

01010-51235

BOLT

SN: 50001-UP

2шт.

23

01643-31232

WASHER

SN: 50001-UP

2шт.

24

14F-70-81330

LEVER

SN: 50001-UP

1шт.

25

01641-21626

WASHER

SN: 50001-UP

2шт.

26

04050-14028

PIN,COTTER

SN: 50001-UP

1шт.

27

09601-00835

PLATE¤ NAME,(LIMITED SUPPLY)

SN: 50001-UP

1шт.

|27

04418-13060

SCREW

SN: 50001-UP

4шт.

Выбрано товаров: 31