Запчасти Komatsu D60P-11D ПЕРЕДН. ЛЕНИВЕЦ (ДЛЯ VEHICLE INСПЕЦ-ЯTORIAL) (ПРЯМ. ОТВАЛ-PITCH DOZER) ГУСЕНИЦЫ

Схема запчастей Komatsu D60P-11D - ПЕРЕДН. ЛЕНИВЕЦ (ДЛЯ VEHICLE INСПЕЦ-ЯTORIAL) (ПРЯМ. ОТВАЛ-PITCH DOZER) ГУСЕНИЦЫ
FIT
1:1
100%

Артикул

Название

Примечание

Количество

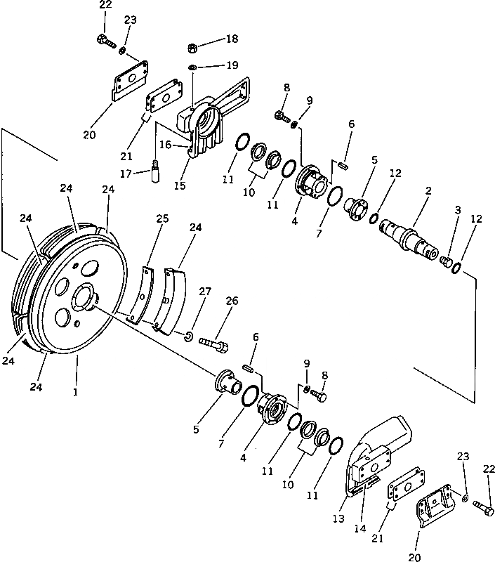
|1

144-862-0040

FRONT IDLER ASS'Y

SN: 50001-UP

2шт.

1

144-862-4330

IDLER

SN: 50001-UP

1шт.

2

141-30-33122

SHAFT

SN: 50001-UP

1шт.

3

07052-31624

PLUG

SN: 50001-UP

1шт.

|4

141-30-00592

BUSHING ASS'Y

SN: 50001-UP

2шт.

4

0

BUSHING

SN: 50001-UP

1шт.

5

141-30-36150

BUSHING

SN: 50001-UP

1шт.

6

141-30-36310

PIN,SPRING

SN: 50001-UP

2шт.

7

07000-05105

O-RING

SN: 50001-UP

2шт.

8

01010-51030

BOLT

SN: 50001-UP

12шт.

9

01643-31032

WASHER

SN: 50001-UP

12шт.

|10

141-30-00616

FLOATING SEAL ASS'Y

SN: 50001-UP

2шт.

10

0

RING,SEAL

SN: 50001-UP

2шт.

11

0

O-RING

SN: 50001-UP

2шт.

12

07000-03052

O-RING

SN: 50001-UP

2шт.

13

141-30-33134

BRACKET ASS'Y

SN: 50001-UP

1шт.

14

141-30-33170

PLATE (WELDED)

SN: 50001-UP

1шт.

15

141-30-33144

BRACKET ASS'Y

SN: 50001-UP

1шт.

16

144-30-33170

PLATE (WELDED)

SN: 50001-UP

1шт.

17

130-30-13170

BOLT

SN: 50001-UP

2шт.

18

01582-11613

NUT

SN: 50001-UP

2шт.

19

01643-31645

WASHER

SN: 50001-UP

2шт.

20

141-30-33182

COVER

SN: 50001-UP

2шт.

21

141-30-33220

SHIM¤ 1.0MM

SN: 50001-UP

20шт.

22

01010-51655

BOLT

SN: 50001-UP

8шт.

23

01643-31645

WASHER

SN: 50001-UP

8шт.

24

144-862-4310

CUSHION

SN: 50001-UP

12шт.

25

144-862-4320

SPACER

SN: 50001-UP

12шт.

26

01010-51030

BOLT

SN: 50001-UP

24шт.

27

01602-21030

WASHER,SPRING

SN: 50001-UP

24шт.

Выбрано товаров: 0