Запчасти Komatsu D60P-11D РУЛЕВ. УПРАВЛЕНИЕ РАЗГРУЗ. КЛАПАН СИСТЕМА УПРАВЛЕНИЯ

Схема запчастей Komatsu D60P-11D - РУЛЕВ. УПРАВЛЕНИЕ РАЗГРУЗ. КЛАПАН СИСТЕМА УПРАВЛЕНИЯ
FIT
1:1
100%

Артикул

Название

Примечание

Количество

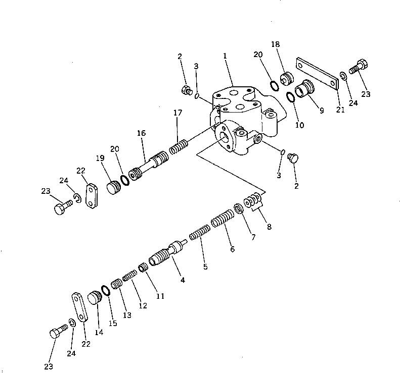
|1

144-49-00050

RELIEF VALVE ASS'Y

SN: 50001-UP

1шт.

1

0

BODY

SN: 50001-UP

1шт.

2

07040-10807

PLUG

SN: 50001-UP

2шт.

3

07002-00823

O-RING

SN: 50001-UP

2шт.

4

144-49-16170

SPOOL,RELIEF

SN: 50001-UP

1шт.

5

104-15-25280

SPRING

SN: 50001-UP

1шт.

6

104-15-25290

SPRING¤ (L= 62.0)

SN: 50001-UP

1шт.

7

104-15-25260

SPACER

SN: 50001-UP

1шт.

8

113-15-00710

SHIM KIT

SN: 50001-UP

1шт.

|8

0

SHIM¤ 0.2MM

SN: 50001-UP

2шт.

|8

0

SHIM¤ 0.5MM

SN: 50001-UP

4шт.

9

144-49-16121

PLUG

SN: 50001-UP

1шт.

10

07000-02020

O-RING

SN: 50001-UP

1шт.

11

104-15-25490

VALVE

SN: 50001-UP

1шт.

12

125-15-15290

SPRING

SN: 50001-UP

1шт.

13

104-15-25480

VALVE

SN: 50001-UP

1шт.

14

144-49-16130

PLUG

SN: 50001-UP

1шт.

15

07000-02020

O-RING

SN: 50001-UP

1шт.

16

144-49-16180

VALVE,COOLER BYPASS

SN: 50001-UP

1шт.

17

144-40-21621

SPRING

SN: 50001-UP

1шт.

18

144-49-16140

PLUG

SN: 50001-UP

1шт.

19

144-49-16150

PLUG

SN: 50001-UP

1шт.

20

07000-02020

O-RING

SN: 50001-UP

2шт.

21

113-15-25350

PLATE

SN: 50001-UP

1шт.

22

144-49-16160

PLATE

SN: 50001-UP

2шт.

23

01010-50816

BOLT

SN: 50001-UP

6шт.

24

01602-20825

WASHER,SPRING

SN: 50001-UP

6шт.

Выбрано товаров: 27