Запчасти Komatsu D60P-12-E ПОДЛОКОТНИК КРЫШКА(ВЕРХН.) (DP) КАБИНА ОПЕРАТОРА И СИСТЕМА УПРАВЛЕНИЯ

Схема запчастей Komatsu D60P-12-E - ПОДЛОКОТНИК КРЫШКА(ВЕРХН.) (DP) КАБИНА ОПЕРАТОРА И СИСТЕМА УПРАВЛЕНИЯ
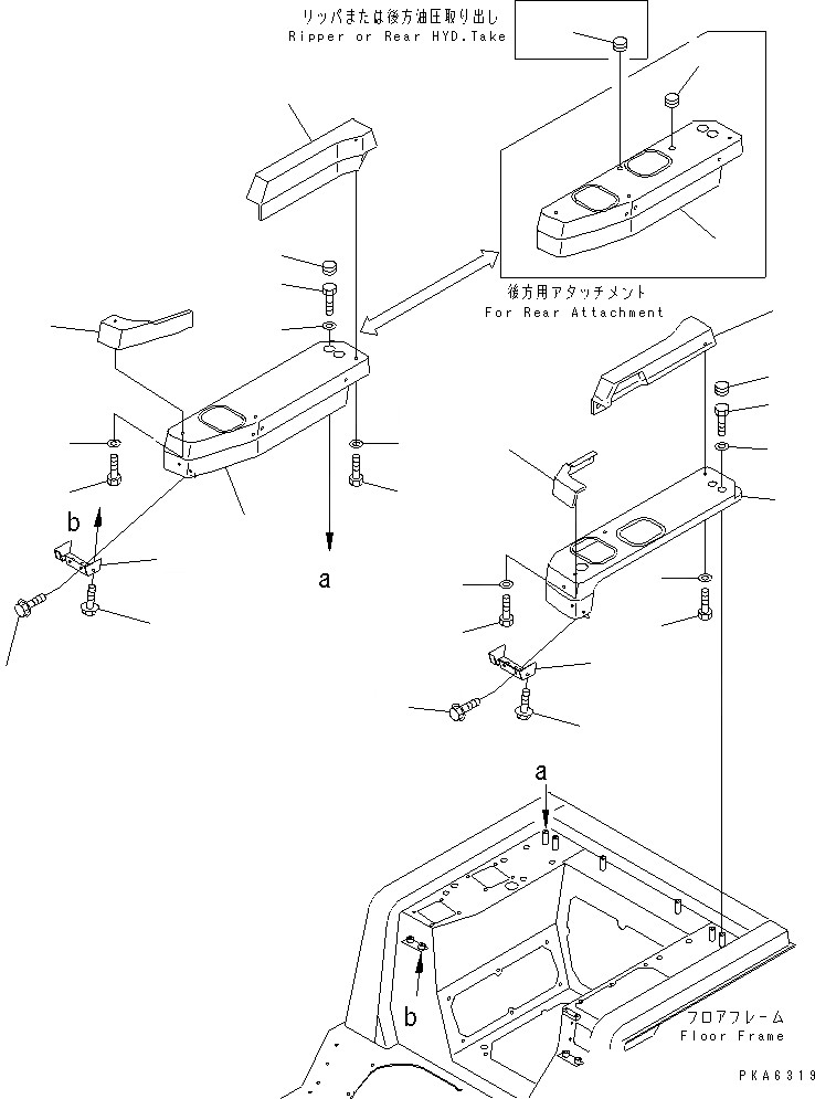
1
2
3
3
4
4
5
6
7
7
8
8
9
10
11
12
13
14
14
15
15
16
17
18
19
20
21
22
22
FIT
1:1
100%

Артикул

Название

Примечание

Количество

1

14X-54-16532

ARM REST,L.H.

SN: 60884-UP

1шт.

2

14X-54-16542

ARM REST,R.H.

SN: 60884-UP

1шт.

3

01010-80812

BOLT

SN: 60884-UP

8шт.

4

01643-30823

WASHER

SN: 60884-UP

8шт.

5

14X-54-16611

PAD,L.H.

SN: 60884-UP

1шт.

6

14X-54-16621

PAD,R.H.

SN: 60884-UP

1шт.

7

01010-80812

BOLT

SN: 60884-UP

6шт.

8

01643-30823

WASHER

SN: 60884-UP

6шт.

9

14X-54-16462

COVER,L.H.

SN: 60884-UP

1шт.

10

01010-81020

BOLT

SN: 60884-UP

2шт.

11

01643-31032

WASHER

SN: 60884-UP

2шт.

12

09415-02512

CAP

SN: 60884-UP

2шт.

13

14X-54-16442

COVER

SN: 60884-UP

1шт.

14

01439-00814

BOLT

SN: 60884-UP

4шт.

15

17A-54-16870

COVER,R.H.

SN: 60884-UP

1шт.

|15

14X-54-16912

COVER,R.H. (FOR REAR ATTACHMENT)

SN: 60884-UP

1шт.

16

01010-81020

BOLT

SN: 60884-UP

2шт.

17

01643-31032

WASHER

SN: 60884-UP

2шт.

18

09415-02512

CAP

SN: 60884-UP

2шт.

19

09415-01008

CAP,(FOR RIPPER OR REAR HYD. TAKE)

SN: 60884-UP

1шт.

20

09415-01610

CAP,(FOR REAR ATTACHMENT)

SN: 60884-UP

1шт.

21

14X-54-16452

COVER,R.H.

SN: 60884-UP

1шт.

22

01439-00814

BOLT

SN: 60884-UP

4шт.

Выбрано товаров: 23