Запчасти Komatsu D60P-12 ОСНОВН. РАМА ОСНОВН. РАМА И КОМПОНЕНТЫ

Схема запчастей Komatsu D60P-12 - ОСНОВН. РАМА ОСНОВН. РАМА И КОМПОНЕНТЫ
FIT
1:1
100%

Артикул

Название

Примечание

Количество

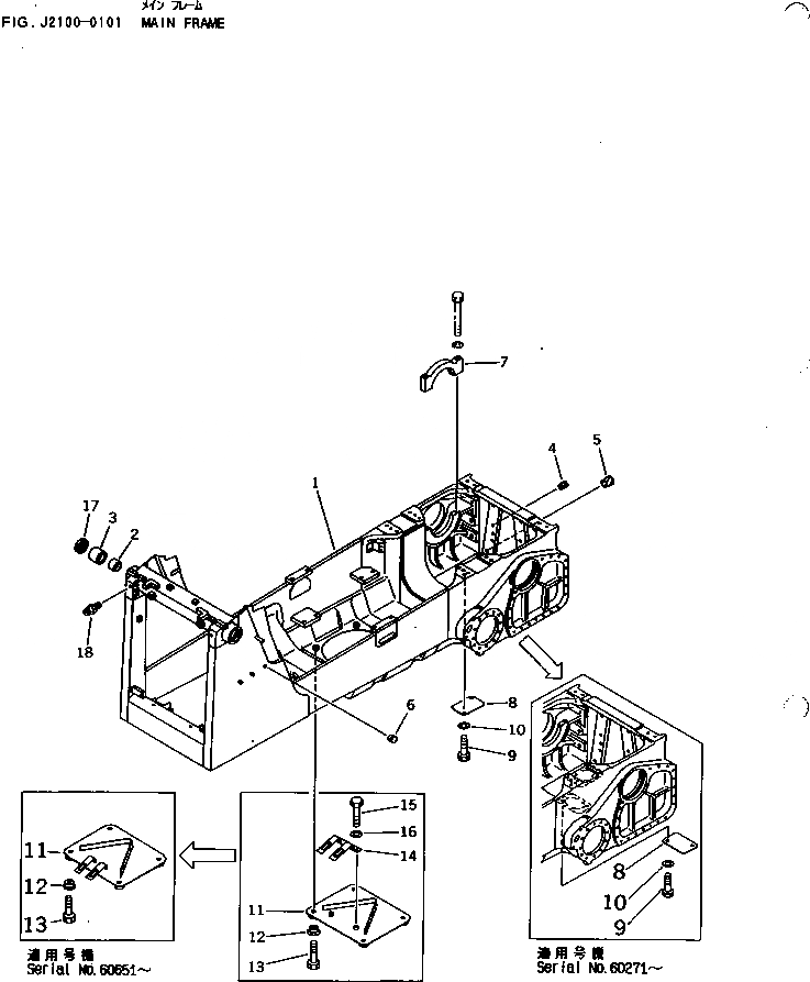
1

14Y-21-11004

FRAME ASS'Y

SN: 60651-UP

1шт.

|1

0

FRAME ASS'Y

SN: 60516-60650

1шт.

|1

0

FRAME ASS'Y

SN: 60271-60515

1шт.

|1

0

FRAME ASS'Y

SN: 60001-60270

1шт.

|$$5

(14Y-21-11002{14Y-21-14120¤}

-1шт.

|$$6

01010-51225(2){01643-31232(2))}

-1шт.

2

144-70-15171

BUSHING

SN: 60001-UP

2шт.

3

144-70-15181

BUSHING

SN: 60001-UP

2шт.

4

07049-02430

PLUG

SN: 60001-UP

14шт.

5

07049-03342

PLUG

SN: 60001-UP

6шт.

6

09415-02520

CAP

SN: 60001-UP

2шт.

7

14Y-21-13110

CAP

SN: 60001-UP

2шт.

8

14Y-21-14120

PLATE

SN: 60271-UP

2шт.

|8

14Y-21-14120

PLATE

SN: 60001-60270

1шт.

9

01010-51225

BOLT

SN: 60271-UP

4шт.

|9

01010-51225

BOLT

SN: 60001-60270

2шт.

10

01643-31232

WASHER

SN: 60271-UP

4шт.

|10

01643-31232

WASHER

SN: 60001-60270

2шт.

11

14Y-21-14114

COVER

SN: 60651-UP

1шт.

|11

14Y-21-14113

COVER

SN: 60001-60650

1шт.

12

14Y-21-14141

BOSS

SN: 60001-UP

4шт.

13

01010-51645

BOLT

SN: 60001-UP

4шт.

14

14Y-21-14131

BRACKET

SN: 60001-60650

1шт.

15

01010-51025

BOLT

SN: 60001-60650

2шт.

16

01643-31032

WASHER

SN: 60001-60650

2шт.

17

130-09-12370

SEAL

SN: 60001-UP

2шт.

18

07020-00000

FITTING,GREASE

SN: 60001-UP

2шт.

Выбрано товаров: 0