Запчасти Komatsu D60P-6 LINING ОТВАЛ ОПЦИОННЫЕ КОМПОНЕНТЫ

Схема запчастей Komatsu D60P-6 - LINING ОТВАЛ ОПЦИОННЫЕ КОМПОНЕНТЫ
FIT
1:1
100%

Артикул

Название

Примечание

Количество

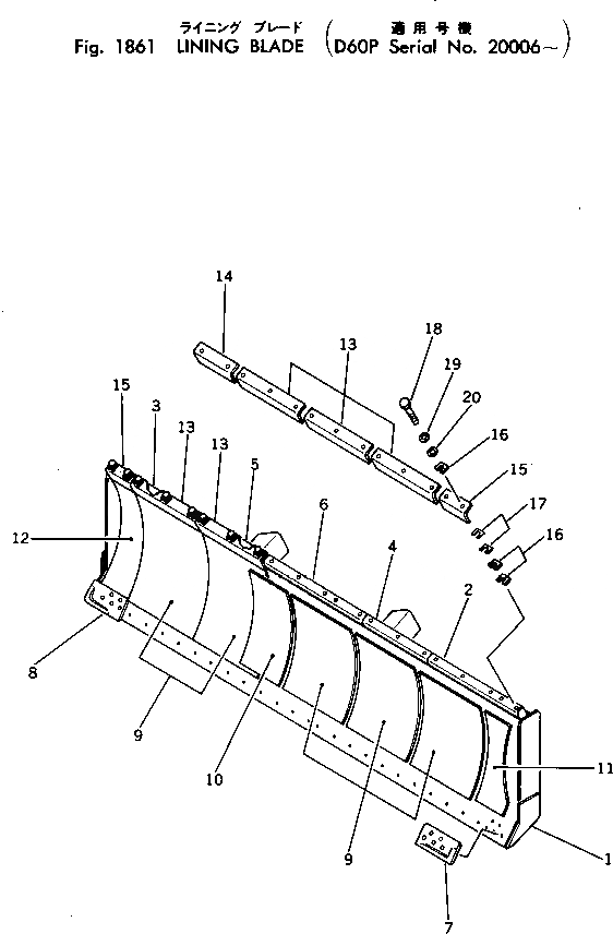
1

144-917-4210

BLADE ASS'Y

SN: 20006-UP

1шт.

2

144-917-4280

PLATE,L.H. (WELDED)

SN: 20006-UP

1шт.

3

144-917-4290

PLATE,R.H. (WELDED)

SN: 20006-UP

1шт.

4

144-917-4310

PLATE,L.H. (WELDED)

SN: 20006-UP

1шт.

5

144-917-4320

PLATE,R.H. (WELDED)

SN: 20006-UP

1шт.

6

144-917-4330

PLATE (WELDED)

SN: 20006-UP

1шт.

7

13F-Z27-1830

BIT,END¤ L.H.

SN: 20006-UP

1шт.

8

13F-Z27-1840

BIT,END¤ R.H.

SN: 20006-UP

1шт.

9

144-917-4220

PLATE

SN: 20006-UP

5шт.

10

144-917-4230

PLATE

SN: 20006-UP

1шт.

11

144-917-4240

PLATE,L.H.

SN: 20006-UP

1шт.

12

144-917-4250

PLATE,R.H.

SN: 20006-UP

1шт.

13

13F-Z27-1770

PLATE

SN: 20006-UP

5шт.

14

144-917-4260

PLATE

SN: 20006-UP

1шт.

15

144-917-4270

PLATE

SN: 20006-UP

2шт.

16

13F-Z27-1810

PLATE¤ 4.5MM

SN: 20006-UP

63шт.

17

13F-Z27-1820

PLATE¤ 2.3MM

SN: 20006-UP

42шт.

18

01010-31255

BOLT

SN: 20006-UP

21шт.

19

01602-01236

WASHER

SN: 20006-UP

21шт.

20

01643-31232

WASHER

SN: 20006-UP

21шт.

Выбрано товаров: 20