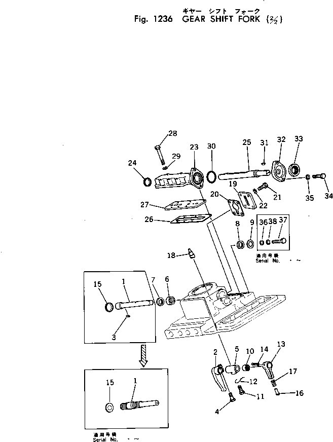
Запчасти Komatsu D60P-6 ПЕРЕКЛЮЧ-Е ПЕРЕДАЧ ВИЛЫ (/) ОСНОВН. МУФТА И ТРАНСМИССИЯ

Схема запчастей Komatsu D60P-6 - ПЕРЕКЛЮЧ-Е ПЕРЕДАЧ ВИЛЫ (/) ОСНОВН. МУФТА И ТРАНСМИССИЯ
FIT
1:1
100%

Артикул

Название

Примечание

Количество

|1

144-14-00018

TRANSMISSION ASS'Y

SN: 30393-UP

1шт.

|1

144-14-00017

TRANSMISSION ASS'Y

SN: 28523-30392

1шт.

|1

144-14-00016

TRANSMISSION ASS'Y

SN: 24731-28522

1шт.

|1

0

TRANSMISSION ASS'Y

SN: 23016-24730

1шт.

|1

0

TRANSMISSION ASS'Y

SN: 22388-23015

1шт.

|1

0

TRANSMISSION ASS'Y

SN: 20054-22387

1шт.

|1

0

TRANSMISSION ASS'Y

SN: 20032-20053

1шт.

|1

0

TRANSMISSION ASS'Y

SN: 20024-20031

1шт.

|1

0

TRANSMISSION ASS'Y

SN: 20006-20021

1шт.

1

144-14-12155

SHAFT

SN: .-UP

1шт.

|1

144-14-12154

SHAFT

SN: 24731-.

1шт.

|1

0

SHAFT

SN: 20032-24730

1шт.

|$$13

(144-14-12154{141-14-32824)}

-1шт.

|1

144-14-12152

SHAFT

SN: 20024-20031

1шт.

|1

144-14-12160

SHAFT

SN: 20006-20021

1шт.

2

141-14-32825

LEVER

SN: .-UP

1шт.

|2

141-14-32824

LEVER

SN: 24731-.

1шт.

|2

0

LEVER

SN: 20054-24730

1шт.

|$$19

(141-14-32824{144-14-12154)}

-1шт.

|2

141-14-32840

LEVER

SN: 20032-20053

1шт.

|2

141-14-32821

LEVER

SN: 20024-20031

1шт.

|2

141-14-32820

LEVER

SN: 20006-20021

1шт.

3

04010-00725

KEY

SN: 20032-.

2шт.

|3

04010-00522

KEY

SN: 20024-20031

2шт.

|3

04010-00725

KEY

SN: 20006-20021

2шт.

4

01010-31240

BOLT

SN: 20024-UP

1шт.

|4

01040-31235

BOLT

SN: 20006-20021

1шт.

5

01602-01236

WASHER

SN: 20024-UP

1шт.

|5

141-14-32830

COLLAR

SN: 20006-20021

1шт.

6

06120-02520

BEARING

SN: .-UP

1шт.

|6

06120-02216

BEARING

SN: 20024-.

1шт.

|6

06120-02820

BEARING

SN: 20006-20021

1шт.

7

07012-00025

SEAL

SN: .-UP

1шт.

|7

06122-02804

SEAL

SN: 20006-20021

1шт.

8

07012-00022

SEAL

SN: .-UP

1шт.

|8

07012-00022

SEAL

SN: 20024-.

2шт.

|8

07012-00028

SEAL

SN: 20006-20021

1шт.

9

141-14-32920

WASHER

SN: .-UP

1шт.

|9

141-14-32920

WASHER

SN: 20024-.

2шт.

|9

01640-22845

WASHER

SN: 20006-20021

1шт.

10

06120-02216

BEARING

SN: 20006-UP

1шт.

11

131-14-43160

BOLT

SN: 20006-UP

1шт.

12

04059-01025

WIRE

SN: 20006-UP

1шт.

13

144-14-12141

LEVER

SN: 20024-UP

1шт.

|13

144-14-12140

LEVER

SN: 20006-20021

1шт.

14

04025-00640

PIN

SN: 20006-20021

1шт.

|14

131-14-43160

BOLT

SN: 20022-UP

1шт.

|14

04059-01025

WIRE

SN: 20022-UP

1шт.

15

141-14-32860

WASHER

SN: .-UP

1шт.

|15

07046-04020

PLUG

SN: 20006-20021

1шт.

16

144-14-12120

PLUNGER

SN: 20006-UP

1шт.

17

144-14-12130

SPRING

SN: 20006-UP

1шт.

18

141-14-32270

PLUNGER

SN: 20054-UP

1шт.

19

141-14-32530

COVER

SN: 20054-UP

1шт.

20

141-14-32540

GASKET

SN: 20054-UP

1шт.

21

01010-30820

BOLT

SN: 22388-UP

4шт.

|21

0

BOLT

SN: 20054-22387

4шт.

22

01602-00825

WASHER

SN: 20054-UP

4шт.

23

141-14-32412

COVER

SN: 20006-UP

1шт.

24

07046-03520

PLUG

SN: 20006-UP

1шт.

25

141-14-32421

SHAFT

SN: 20006-UP

1шт.

26

141-14-32432

GASKET

SN: 20006-UP

2шт.

27

141-14-32471

PLATE

SN: 20006-UP

1шт.

28

01010-31070

BOLT

SN: 20006-UP

6шт.

29

01602-01030

WASHER

SN: 20006-UP

6шт.

30

07000-03048

O-RING

SN: 20006-UP

1шт.

31

04010-00519

KEY

SN: 20006-UP

1шт.

32

141-14-32441

FLANGE

SN: 20006-UP

1шт.

33

07011-00020

SEAL

SN: 20006-UP

1шт.

34

01010-31035

BOLT

SN: 20006-UP

2шт.

35

01602-01030

WASHER

SN: 20006-UP

2шт.

36

141-14-32850

WASHER

SN: .-UP

1шт.

37

01010-30816

BOLT

SN: .-UP

1шт.

38

01010-00825

BOLT

SN: .-UP

1шт.

Выбрано товаров: 74