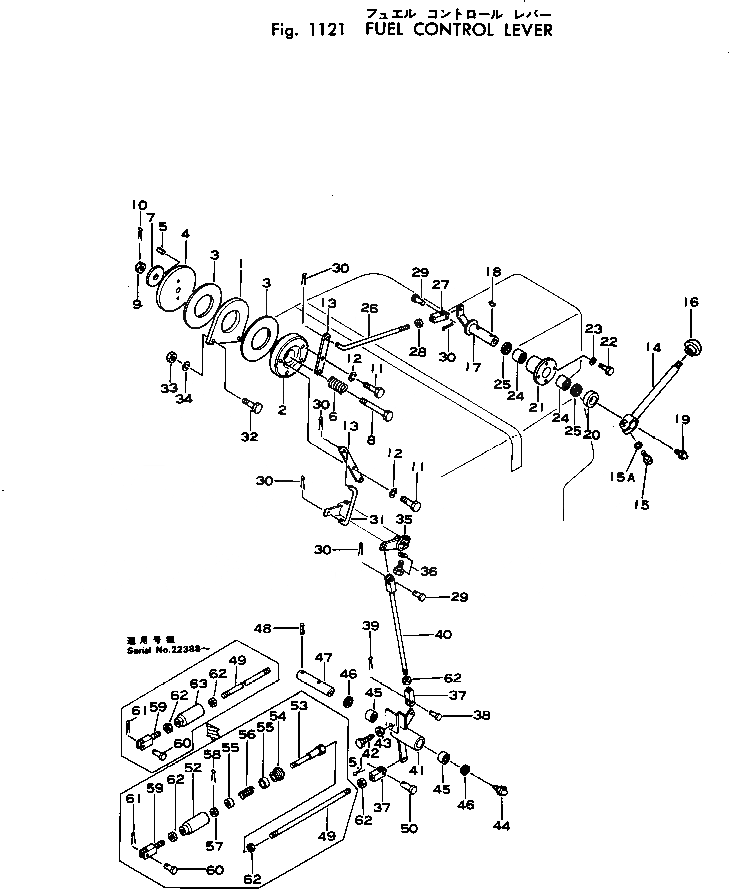
Запчасти Komatsu D60P-6 РЫЧАГ УПРАВЛ-Я ПОДАЧЕЙ ТОПЛИВА КОМПОНЕНТЫ ДВИГАТЕЛЯ И ЭЛЕКТРИКА

Схема запчастей Komatsu D60P-6 - РЫЧАГ УПРАВЛ-Я ПОДАЧЕЙ ТОПЛИВА КОМПОНЕНТЫ ДВИГАТЕЛЯ И ЭЛЕКТРИКА
FIT
1:1
100%

Артикул

Название

Примечание

Количество

1

145-43-15250

DISC

SN: 20006-UP

1шт.

2

131-43-48210

DISC

SN: 20006-UP

1шт.

3

145-43-15260

FACING

SN: 20006-UP

2шт.

4

135-43-15241

DISC

SN: 20006-UP

1шт.

5

04025-00620

PIN

SN: 20006-UP

2шт.

6

130-43-18134

SPRING

SN: 20006-UP

1шт.

7

135-43-15290

WASHER

SN: 20006-UP

1шт.

8

01052-31285

BOLT

SN: 20006-UP

1шт.

9

01593-01210

NUT

SN: 20006-UP

1шт.

10

04050-03025

PIN

SN: 20006-UP

1шт.

11

01010-30816

BOLT

SN: 22388-UP

4шт.

|11

0

BOLT

SN: 20006-22387

4шт.

12

01602-00825

WASHER

SN: 20006-UP

4шт.

13

145-43-15210

LEVER

SN: 20006-UP

2шт.

14

144-43-25110

LEVER

SN: 20006-UP

1шт.

15

01010-30825

BOLT

SN: 22388-UP

1шт.

|15

0

BOLT

SN: 20006-22387

1шт.

15A

01602-00825

WASHER

SN: 22388-UP

1шт.

16

09304-01250

KNOB

SN: 20006-UP

1шт.

17

144-43-25120

SHAFT

SN: 20006-UP

1шт.

18

04010-00516

KEY

SN: 20006-UP

1шт.

19

07020-00000

FITTING

SN: 20006-UP

1шт.

20

140-43-16130

COLLAR

SN: 20006-UP

1шт.

21

140-43-16120

HOLDER

SN: 20006-UP

1шт.

22

01010-30616

BOLT

SN: 20006-UP

4шт.

23

01602-00619

WASHER

SN: 20006-UP

4шт.

24

06120-02016

BEARING

SN: 20006-UP

2шт.

25

06122-02004

SEAL

SN: 20006-UP

2шт.

26

144-43-25130

ROD

SN: 20006-UP

1шт.

27

04211-00844

YOKE

SN: 20006-UP

1шт.

28

01580-00806

NUT

SN: 22388-UP

1шт.

|28

01501-30805

NUT

SN: 20006-22387

1шт.

29

04205-00822

PIN

SN: 20006-UP

1шт.

30

04050-02015

PIN

SN: 20006-UP

4шт.

31

144-43-25140

ROD

SN: 20006-UP

1шт.

32

01010-30830

BOLT

SN: 22388-UP

2шт.

|32

0

BOLT

SN: 20006-22387

2шт.

33

01580-00806

NUT

SN: 22388-UP

2шт.

|33

01500-30807

NUT

SN: 20006-22387

2шт.

34

01602-00825

WASHER

SN: 20006-UP

2шт.

35

144-43-25150

LEVER

SN: 20006-UP

2шт.

36

01010-30825

BOLT

SN: 22388-UP

2шт.

|36

0

BOLT

SN: 20006-22387

2шт.

36A

01602-00825

WASHER

SN: 22388-UP

2шт.

37

04211-00844

YOKE

SN: 20006-UP

2шт.

38

04205-00822

PIN

SN: 20006-UP

2шт.

39

04050-02012

PIN

SN: 20006-UP

2шт.

40

04244-10827

ROD

SN: 20006-UP

1шт.

41

144-43-25160

LEVER

SN: 20006-UP

1шт.

42

135-43-15310

BOLT

SN: 20006-UP

1шт.

43

01582-01008

NUT

SN: 20006-UP

1шт.

44

07020-00000

FITTING

SN: 20006-UP

1шт.

45

06120-01612

BEARING

SN: 20006-UP

2шт.

46

06122-01603

SEAL

SN: 20006-UP

2шт.

47

144-43-25170

SHAFT

SN: 20006-UP

1шт.

48

04025-00524

PIN

SN: 20006-UP

1шт.

49

04245-00852

ROD

SN: 20006-UP

1шт.

50

04205-00822

PIN

SN: 20006-UP

2шт.

51

04050-02012

PIN

SN: 20006-UP

2шт.

52

141-43-16451

GUIDE

SN: 20006-22387

1шт.

53

141-43-16411

ROD

SN: 20006-22387

1шт.

54

145-43-15610

BOLT

SN: 20006-22387

1шт.

55

141-43-16421

LINER

SN: 20006-22387

2шт.

56

141-43-16431

SPRING

SN: 20006-22387

1шт.

57

01511-30808

NUT

SN: 20006-22387

1шт.

58

04050-02018

PIN

SN: 20006-22387

1шт.

59

141-43-16460

JOINT

SN: 20006-UP

1шт.

60

04205-00822

PIN

SN: 20006-UP

1шт.

61

04050-02012

PIN

SN: 20006-UP

1шт.

62

01580-00806

NUT

SN: 22388-UP

4шт.

|62

01501-30805

NUT

SN: 20006-22387

4шт.

63

09290-10000

ABSORBER

SN: 22388-UP

1шт.

Выбрано товаров: 72