Запчасти Komatsu D60P-6 СИСТЕМА ТРУБ РАДИАТОРА И COVER(№-) КОМПОНЕНТЫ ДВИГАТЕЛЯ И ЭЛЕКТРИКА

Схема запчастей Komatsu D60P-6 - СИСТЕМА ТРУБ РАДИАТОРА И COVER(№-) КОМПОНЕНТЫ ДВИГАТЕЛЯ И ЭЛЕКТРИКА
FIT
1:1
100%

Артикул

Название

Примечание

Количество

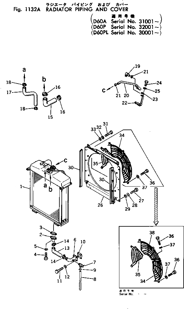
1

144-03-00017

RADIATOR ASS'Y

SN: .-UP

1шт.

|1

0

RADIATOR ASS'Y

SN: 32001-.

1шт.

2

144-03-12133

TUBE

SN: 20054-UP

1шт.

3

144-03-12170

PACKING

SN: 22388-UP

1шт.

4

01010-31235

BOLT

SN: 20006-UP

2шт.

5

01602-01236

WASHER

SN: 20006-UP

2шт.

6

144-03-13142

TUBE

SN: 28523-UP

1шт.

7

07730-30004

VALVE

SN: 28523-UP

1шт.

8

07270-01530

TUBE

SN: 32001-UP

1шт.

9

04059-01010

WIRE

SN: 22388-UP

1шт.

10

144-03-12160

PACKING

SN: 20006-UP

1шт.

11

01010-31030

BOLT

SN: 20006-UP

4шт.

12

01602-01030

WASHER

SN: 20006-UP

4шт.

13

144-03-13150

HOSE

SN: 20024-UP

1шт.

14

07281-00809

CLAMP

SN: 29174-UP

2шт.

15

144-03-11251

HOSE

SN: 29174-UP

1шт.

16

07281-00809

CLAMP

SN: 29174-UP

2шт.

17

144-03-11241

HOSE

SN: 29174-UP

1шт.

18

07281-00419

CLAMP

SN: 32001-UP

2шт.

19

6631-11-6231

ELBOW

SN: 20006-UP

1шт.

20

07260-00970

HOSE

SN: 20006-UP

1шт.

21

07280-01920

CLAMP

SN: 21388-UP

2шт.

22

144-03-12211

BRACKET

SN: 20006-UP

1шт.

23

141-03-13380

CLIP

SN: 20006-UP

1шт.

24

01010-31222

BOLT

SN: 20006-UP

1шт.

25

01602-01236

WASHER

SN: 20006-UP

1шт.

26

144-03-11355

SHROUD

SN: 32001-UP

1шт.

27

01010-31230

BOLT

SN: 20006-UP

8шт.

28

01602-01236

WASHER

SN: 20006-UP

8шт.

29

01643-31232

WASHER

SN: 20006-UP

8шт.

30

144-03-11321

COVER

SN: 20006-UP

2шт.

31

01010-31025

BOLT

SN: 20006-UP

2шт.

32

01602-01030

WASHER

SN: 20006-UP

2шт.

33

01642-21016

WASHER

SN: 20006-UP

2шт.

34

144-03-11440

NET

SN: .-UP

1шт.

|34

0

NET

SN: 29174-.

1шт.

|$$37

(144-03-11440{144-03-11430¤}

-1шт.

|$$38

01010-31020(9){01602-01030(9))}

-1шт.

35

144-03-11374

NET

SN: 29174-UP

1шт.

36

01010-31020

BOLT

SN: .-UP

9шт.

|36

01010-31020

BOLT

SN: 29174-.

7шт.

37

01602-01030

WASHER

SN: .-UP

9шт.

|37

01602-01030

WASHER

SN: 29174-.

7шт.

38

144-03-11430

NET

SN: .-UP

1шт.

Выбрано товаров: 44