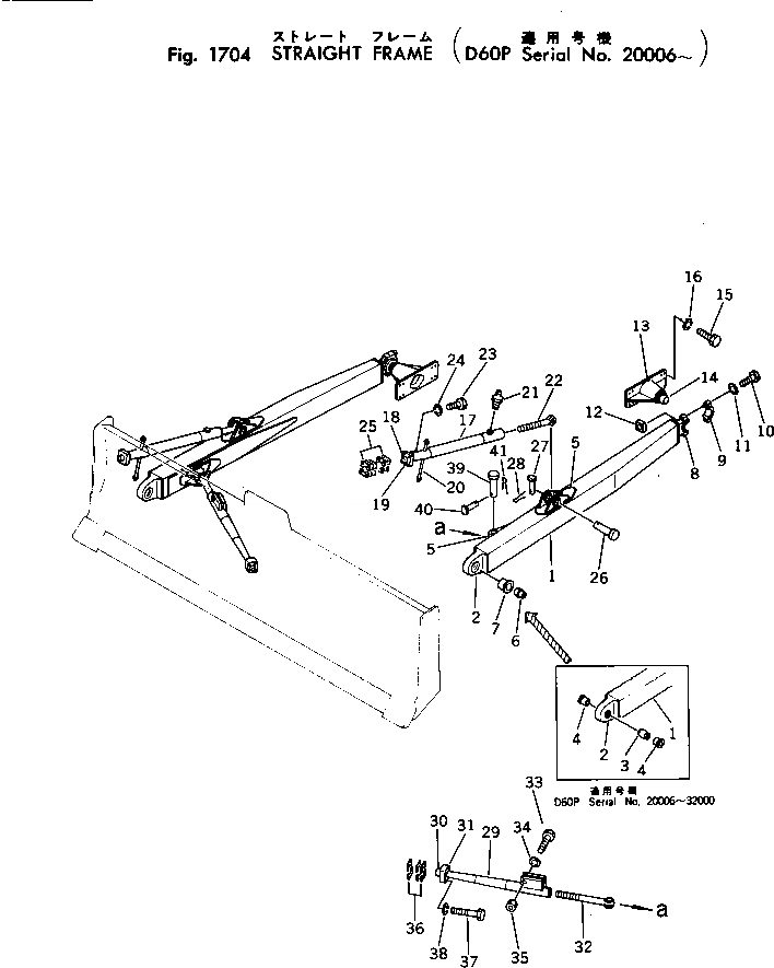
Запчасти Komatsu D60P-6 ПРЯМ. РАМА РАБОЧЕЕ ОБОРУДОВАНИЕ

Схема запчастей Komatsu D60P-6 - ПРЯМ. РАМА РАБОЧЕЕ ОБОРУДОВАНИЕ
FIT
1:1
100%

Артикул

Название

Примечание

Количество

|1

144-917-0402

FRAME ASS'Y,L.H.

SN: 32001-UP

1шт.

|1

144-817-0041

FRAME ASS'Y,L.H.

SN: 24711-32000

1шт.

|1

0

FRAME ASS'Y,L.H.

SN: 20006-24710

1шт.

|$$4

(144-817-0041{144-817-2312¤}

-1шт.

|$$5

144-817-2343{144-817-2323)}

-1шт.

|1

144-917-0502

FRAME ASS'Y,R.H.

SN: 32001-UP

1шт.

|1

144-817-0051

FRAME ASS'Y,R.H.

SN: 24711-32000

1шт.

|1

0

FRAME ASS'Y,R.H.

SN: 20006-24710

1шт.

|$$9

(144-817-0051{144-817-2312¤}

-1шт.

|$$10

144-817-2343{144-817-2323)}

-1шт.

1

144-917-3213

FRAME,L.H.

SN: 32001-UP

1шт.

|1

144-917-3211

FRAME,L.H.

SN: 28523-32000

1шт.

|1

0

FRAME,L.H.

SN: 24711-28522

1шт.

|1

0

FRAME,L.H.

SN: 20006-24710

1шт.

|$$15

(144-817-3115{144-817-2312¤}

-1шт.

|$$16

144-817-2343{144-817-2323)}

-1шт.

|1

144-917-3223

FRAME,R.H.

SN: 32001-UP

1шт.

|1

144-917-3221

FRAME,R.H.

SN: 28523-32000

1шт.

|1

0

FRAME,R.H.

SN: 24711-28522

1шт.

|1

0

FRAME,R.H.

SN: 20006-24710

1шт.

|$$21

(144-817-3125{144-817-2312¤}

-1шт.

|$$22

144-817-2343{144-817-2323)}

-1шт.

2

144-917-3232

JOINT

SN: 32001-UP

1шт.

|2

144-917-3230

JOINT

SN: 28523-32000

1шт.

|2

144-817-3131

JOINT

SN: 20006-28522

1шт.

3

144-817-3150

BUSHING

SN: 20006-32000

1шт.

4

140-920-3180

BUSHING

SN: 20006-32000

2шт.

5

144-920-3172

BRACKET

SN: 24711-UP

2шт.

|5

144-920-3171

BRACKET

SN: 20006-24710

2шт.

6

13F-Z27-2260

BUSHING

SN: 32001-UP

1шт.

7

13F-Z27-2250

BUSHING

SN: 32001-UP

1шт.

|8

140-70-00032

PIVOT ASS'Y

SN: 22388-UP

1шт.

|8

140-70-00031

PIVOT ASS'Y

SN: 20006-22387

1шт.

8

0

PIVOT

SN: 20006-UP

1шт.

9

0

CAP

SN: 20006-UP

1шт.

10

01011-62430

BOLT

SN: 22388-UP

2шт.

|10

01041-62430

BOLT

SN: 20006-22387

2шт.

11

01602-02472

WASHER

SN: 20006-UP

2шт.

12

130-70-13241

NUT

SN: 20006-UP

2шт.

13

144-817-3170

TRUNNION

SN: 20006-UP

2шт.

14

140-817-3150

SHAFT (WELDED)

SN: 20006-UP

1шт.

15

01010-32050

BOLT

SN: 22388-UP

16шт.

|15

01040-32050

BOLT

SN: 20006-22387

16шт.

16

01602-02060

WASHER

SN: 20006-UP

16шт.

|17

144-817-0033

BRACE ASS'Y

SN: 24711-UP

2шт.

|17

0

BRACE ASS'Y

SN: 22388-24710

2шт.

|$$47

(144-817-0033(2){144-920-3172(2))}

-1шт.

|17

144-817-0031

BRACE ASS'Y

SN: 20054-22387

2шт.

|17

144-817-0030

BRACE ASS'Y

SN: 20006-20053

2шт.

17

144-817-2343

BRACE

SN: 24711-UP

1шт.

|17

0

BRACE

SN: 20054-24710

1шт.

|$$52

(144-817-2343{144-817-2312¤}

-1шт.

|$$53

144-920-3172(2))

-1шт.

|17

144-817-2341

BRACE

SN: 20006-20053

1шт.

18

144-817-2171

JOINT

SN: 20054-UP

1шт.

|18

144-817-2170

JOINT

SN: 20006-20053

1шт.

19

144-817-2361

RETAINER

SN: 20054-UP

1шт.

|19

144-817-2360

RETAINER

SN: 20006-20053

1шт.

20

144-817-2280

ROD

SN: 20006-UP

1шт.

21

07020-00000

FITTING

SN: 20006-UP

1шт.

22

144-817-2312

JOINT

SN: 24711-UP

1шт.

|22

144-817-2311

JOINT

SN: 20006-24710

1шт.

23

01010-31865

BOLT

SN: 22388-UP

-1шт.

|23

01040-31865

BOLT

SN: 20006-22387

4шт.

24

01602-01854

WASHER

SN: 20006-UP

4шт.

25

144-817-0620

SHIM ASS'Y

SN: 20006-UP

1шт.

|25

144-817-2250

SHIM¤ 1.0MM

SN: 20006-UP

8шт.

|25

144-817-2260

SHIM¤ 0.5MM

SN: 20006-UP

6шт.

26

144-817-3161

PIN

SN: 20006-UP

1шт.

27

170-70-12240

PIN

SN: 20006-UP

1шт.

28

04050-04025

PIN

SN: 20006-UP

1шт.

|29

144-817-0023

BRACE ASS'Y

SN: 29849-UP

2шт.

|29

144-817-0022

BRACE ASS'Y

SN: 24711-29848

2шт.

|29

0

BRACE ASS'Y

SN: 20054-24710

2шт.

|$$75

(144-817-0022(2){144-920-3172(2))}

-1шт.

|29

144-817-0020

BRACE ASS'Y

SN: 20006-20053

2шт.

29

144-817-2324

BRACE

SN: 29849-UP

1шт.

|29

0

BRACE

SN: 24711-29848

1шт.

|$$79

(144-817-2324{144-817-2570)}

-1шт.

|29

0

BRACE

SN: 20054-24710

1шт.

|$$81

(144-817-2323{144-817-2312¤}

-1шт.

|$$82

144-920-3172(2))

-1шт.

|29

144-817-2321

BRACE

SN: 20006-20053

1шт.

30

144-920-2610

JOINT

SN: 20054-UP

1шт.

|30

144-817-2331

JOINT

SN: 20006-20053

1шт.

31

144-817-2420

RETAINER

SN: .-UP

1шт.

|31

0

RETAINER

SN: 20006-.

1шт.

32

144-817-2570

JOINT

SN: 29849-UP

1шт.

|32

0

JOINT

SN: 24711-29848

1шт.

|$$90

(144-817-2570{144-817-2324)}

-1шт.

|32

144-817-2311

JOINT

SN: 20054-24710

1шт.

|32

144-817-2310

JOINT

SN: 20006-20053

1шт.

33

01011-32025

BOLT

SN: 29849-UP

1шт.

|33

01051-32225

BOLT

SN: 20054-29848

2шт.

|33

01001-32025

BOLT

SN: 20006-20053

2шт.

34

01643-32060

WASHER

SN: 29849-UP

1шт.

|34

01602-02268

WASHER

SN: 20054-29848

2шт.

|34

01602-02060

WASHER

SN: 20006-20053

2шт.

35

01580-02016

NUT

SN: 29849-UP

1шт.

|35

01582-02218

NUT

SN: 20054-29848

2шт.

|35

01500-32016

NUT

SN: 20006-20053

2шт.

36

144-817-0611

SHIM ASS'Y

SN: .-UP

1шт.

|36

0

SHIM ASS'Y

SN: 20006-.

1шт.

|36

144-817-2381

SHIM¤ 1.0MM

SN: 20006-UP

6шт.

|36

144-817-2391

SHIM¤ 0.5MM

SN: 20006-UP

4шт.

37

01010-32070

BOLT

SN: 22388-UP

4шт.

|37

01040-32070

BOLT

SN: 20006-22387

4шт.

38

01643-32060

WASHER

SN: 29849-UP

4шт.

|38

01602-02060

WASHER

SN: 20006-29848

4шт.

39

144-817-3161

PIN

SN: 20006-UP

1шт.

40

170-70-12240

PIN

SN: 20006-UP

1шт.

41

04050-04025

PIN

SN: 20006-UP

1шт.

Выбрано товаров: 112