Запчасти Komatsu D60P-8 РАДИАТОР КОМПОНЕНТЫ ДВИГАТЕЛЯ И ЭЛЕКТРИКА

Схема запчастей Komatsu D60P-8 - РАДИАТОР КОМПОНЕНТЫ ДВИГАТЕЛЯ И ЭЛЕКТРИКА
FIT
1:1
100%

Артикул

Название

Примечание

Количество

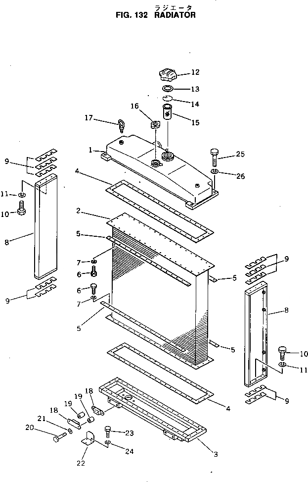
|1

14G-03-00131

RADIATOR ASS'Y

SN: .-UP

1шт.

|1

0

RADIATOR ASS'Y

SN: 45001-.

1шт.

|1

144-03-00350

RADIATOR ASS'Y,(WITH MAIN CLUTCH COOLER) (D60P)

SN: 45001-UP

1шт.

1

14G-03-21110

TANK,UPPER

SN: 45001-UP

1шт.

2

14G-03-11110

CORE

SN: 45001-UP

1шт.

3

14G-03-21610

TANK,LOWER

SN: 45001-UP

1шт.

|3

140-03-52110

TANK,LOWER(WITH MAIN CLUTCH COOLER) (D60P)

SN: 45001-UP

1шт.

4

144-03-15160

PACKING

SN: 45001-UP

2шт.

5

144-03-15150

PLATE

SN: 45001-UP

4шт.

6

01010-51025

BOLT

SN: 45001-UP

64шт.

7

01602-21030

WASHER,SPRING

SN: 45001-UP

64шт.

8

144-03-15140

SUPPORT

SN: 45001-UP

2шт.

9

144-03-15170

SHIM¤ 0.6MM

SN: 45001-UP

10шт.

10

01010-51235

BOLT

SN: 45001-UP

12шт.

11

01602-21236

WASHER,SPRING

SN: 45001-UP

12шт.

12

07053-10000

CAP

SN: 45001-UP

1шт.

13

07053-00002

GASKET

SN: 45001-UP

1шт.

14

07057-03271

RING

SN: 45001-UP

1шт.

15

07056-00048

STRAINER

SN: 45001-UP

1шт.

16

125-03-21210

CAP

SN: 45001-UP

1шт.

17

04530-11018

BOLT

SN: 45001-.

2шт.

|17

04530-11018

BOLT,(WITH MAIN CLUTCH COOLER) (D60P)

SN: 45001-UP

2шт.

18

6675-61-7770

DAMPER

SN: 45001-UP

4шт.

19

6675-61-7780

SPACER

SN: 45001-UP

4шт.

20

01010-51260

BOLT

SN: 45001-UP

4шт.

21

01602-21236

WASHER,SPRING

SN: 45001-UP

4шт.

22

14G-03-11231

BRACKET

SN: 45001-UP

2шт.

23

01010-51035

BOLT

SN: 45001-UP

6шт.

24

01602-21030

WASHER,SPRING

SN: 45001-UP

6шт.

25

01010-51240

BOLT

SN: 45001-UP

4шт.

26

01602-21236

WASHER,SPRING

SN: 45001-UP

4шт.

Выбрано товаров: 31