Запчасти Komatsu D60P-8 РАЗГРУЗ. КЛАПАН СИСТЕМАУПРАВЛЕНИЯ ПОВОРОТОМ И КОНЕЧНАЯ ПЕРЕДАЧА

Схема запчастей Komatsu D60P-8 - РАЗГРУЗ. КЛАПАН СИСТЕМАУПРАВЛЕНИЯ ПОВОРОТОМ И КОНЕЧНАЯ ПЕРЕДАЧА
FIT
1:1
100%

Артикул

Название

Примечание

Количество

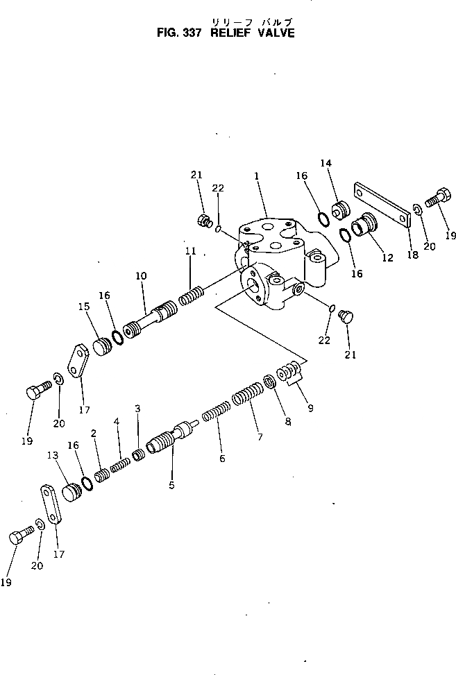
|1

144-49-16102

RELIEF VALVE ASS'Y

SN: 45001-UP

1шт.

1

144-49-16110

BODY

SN: 45001-UP

1шт.

2

104-15-25480

VALVE

SN: 45001-UP

1шт.

3

104-15-25490

VALVE

SN: 45001-UP

1шт.

4

125-15-15290

SPRING

SN: 45001-UP

1шт.

5

144-49-16170

SPOOL

SN: 45001-UP

1шт.

6

104-15-25280

SPRING

SN: 45001-UP

1шт.

7

104-15-25290

SPRING¤ (L= 62.0)

SN: 45001-UP

1шт.

8

104-15-25260

SPACER

SN: 45001-UP

1шт.

9

113-15-25260

SHIM¤ 0.5MM

SN: 45001-UP

4шт.

|9

113-15-25270

SHIM¤ 0.2MM

SN: 45001-UP

2шт.

10

144-49-16180

VALVE

SN: 45001-UP

1шт.

11

144-40-21621

SPRING

SN: 45001-UP

1шт.

12

144-49-16121

PLUG

SN: 45001-UP

1шт.

13

144-49-16130

PLUG

SN: 45001-UP

1шт.

14

144-49-16140

PLUG

SN: 45001-UP

1шт.

15

144-49-16150

PLUG

SN: 45001-UP

1шт.

16

07000-02020

O-RING

SN: 45001-UP

4шт.

17

144-49-16160

PLATE

SN: 45001-UP

2шт.

18

113-15-25350

PLATE

SN: 45001-UP

1шт.

19

01010-50816

BOLT

SN: 45001-UP

6шт.

20

01602-20825

WASHER,SPRING

SN: 45001-UP

6шт.

21

07040-10807

PLUG

SN: 45001-UP

2шт.

22

07002-00823

O-RING

SN: 45001-UP

2шт.

Выбрано товаров: 24