Запчасти Komatsu D60P-8 ПОДДЕРЖИВАЮЩИЙ КАТОК(№-7) ГУСЕНИЦЫ

Схема запчастей Komatsu D60P-8 - ПОДДЕРЖИВАЮЩИЙ КАТОК(№-7) ГУСЕНИЦЫ
FIT
1:1
100%

Артикул

Название

Примечание

Количество

|1

14X-30-00140

CARRIER ROLLER ASS'Y

SN: 46077-@

4шт.

|1

0

CARRIER ROLLER ASS'Y

SN: 45264-46076

4шт.

|1

0

CARRIER ROLLER ASS'Y

SN: 45001-45263

4шт.

1

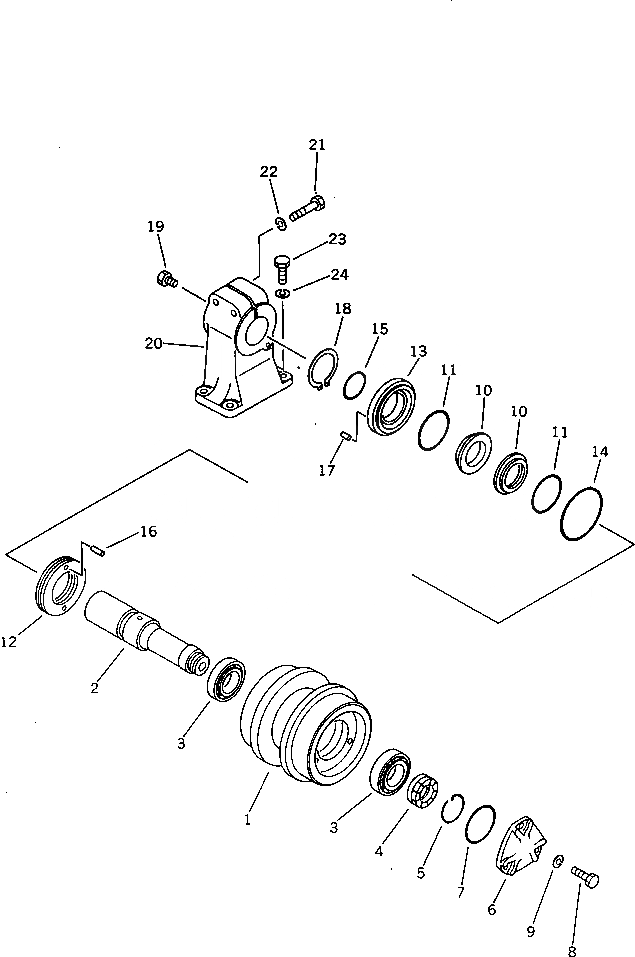
141-30-35110

ROLLER

SN: 45001-46076

1шт.

2

141-30-35120

SHAFT

SN: 45001-46076

1шт.

3

06002-30210

BEARING

SN: 45001-46076

2шт.

4

141-30-35140

NUT

SN: 45001-46076

1шт.

5

141-30-35150

RING

SN: 45001-46076

1шт.

6

141-30-35130

COVER

SN: 45001-46076

1шт.

7

07000-03085

O-RING (K10)

SN: 45001-46076

1шт.

8

01010-51025

BOLT

SN: 45001-46076

3шт.

9

01602-21030

WASHER,SPRING

SN: 45001-46076

3шт.

|10

141-30-00616

FLOATING SEAL ASS'Y

SN: 45264-@

1шт.

|10

0

FLOATING SEAL ASS'Y

SN: 45001-45263

1шт.

10

0

RING

SN: 45264-@

2шт.

|10

0

RING

SN: 45001-45263

2шт.

11

0

O-RING (K10)

SN: 45001-@

2шт.

12

141-30-35162

SEAL

SN: 45001-46076

1шт.

13

141-30-35172

COLLAR

SN: 45001-46076

1шт.

14

07000-03120

O-RING (K10)

SN: 45001-46076

1шт.

15

07000-03052

O-RING (K10)

SN: 45001-46076

1шт.

16

04020-00616

PIN

SN: 45001-46076

2шт.

17

04020-00616

PIN

SN: 45001-46076

1шт.

18

04064-06020

RING,SNAP

SN: 45001-46076

1шт.

19

07052-21624

PLUG

SN: 45001-46076

1шт.

20

141-30-35181

SUPPORT

SN: 45001-@

4шт.

21

01010-51885

BOLT

SN: 45001-@

8шт.

22

01602-21854

WASHER,SPRING

SN: 45001-@

8шт.

23

01010-51645

BOLT

SN: 45001-@

16шт.

24

01602-21648

WASHER,SPRING

SN: 45001-@

16шт.

Выбрано товаров: 0