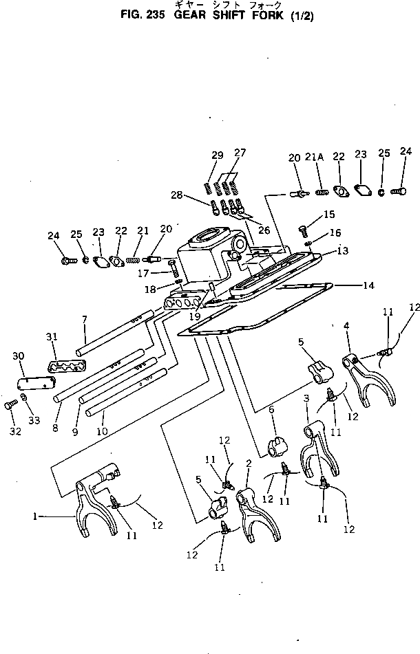
Запчасти Komatsu D60P-8 ПЕРЕКЛЮЧ-Е ПЕРЕДАЧ ВИЛЫ (/) ОСНОВН. МУФТА И ТРАНСМИССИЯ

Схема запчастей Komatsu D60P-8 - ПЕРЕКЛЮЧ-Е ПЕРЕДАЧ ВИЛЫ (/) ОСНОВН. МУФТА И ТРАНСМИССИЯ
FIT
1:1
100%

Артикул

Название

Примечание

Количество

|$0

144-14-00300

TRANSMISSION ASS'Y,(FOR D60P)

SN: 45001-UP

1шт.

|$1

14F-14-00300

TRANSMISSION ASS'Y,(FOR D60PL)

SN: 45001-UP

1шт.

|$$3

THESE ASSEMBLIES CONSIST OF ALL PARTS SHOWN IN FIGS.231 TO 237.

-1шт.

|$$4

SERIAL NO. 46079 INDICATES D60P-8. SERIAL NO. 45205 INDICATES D60PL-8.

-1шт.

1

141-14-32117

FORK,FORWARD AND REVERSE

SN: 45001-UP

1шт.

2

141-14-32125

FORK,1ST AND 2ND

SN: 45001-UP

1шт.

3

141-14-32134

FORK,3RD AND 4TH

SN: 45001-UP

1шт.

4

141-14-32233

FORK,5TH

SN: 45001-UP

1шт.

5

141-14-32152

BOSS

SN: 45001-UP

2шт.

6

141-14-32162

BOSS

SN: 45001-UP

1шт.

7

141-14-32175

SHAFT

SN: 45001-UP

1шт.

8

141-14-32184

SHAFT

SN: 45001-UP

1шт.

9

141-14-32194

SHAFT

SN: 45001-UP

1шт.

10

144-14-12114

SHAFT

SN: 45001-UP

1шт.

11

170-14-13222

SCREW

SN: 45001-UP

7шт.

12

04059-01625

WIRE (K2)

SN: 45001-UP

7шт.

13

141-14-32316

CASE

SN: 45001-UP

1шт.

14

141-14-32322

GASKET (K2)

SN: 46079-UP

1шт.

14

0

GASKET (K2)

SN: 45001-46078

1шт.

15

01010-81030

BOLT

SN: 45001-UP

14шт.

16

01602-21030

WASHER,SPRING

SN: 45001-UP

14шт.

17

01010-81065

BOLT

SN: 45001-UP

1шт.

18

01602-21030

WASHER,SPRING

SN: 45001-UP

1шт.

19

141-14-32260

PIN

SN: 45001-UP

2шт.

20

141-14-32331

STOPPER

SN: 45001-UP

2шт.

21

125-15-36170

SPRING

SN: 45001-UP

1шт.

21A

144-14-12170

SPRING,(FOR D60P)

SN: 45264-UP

1шт.

21A

0

SPRING,(FOR D60P)

SN: 45001-45263

1шт.

21A

144-14-12170

SPRING,(FOR D60PL)

SN: 45021-UP

1шт.

21A

0

SPRING,(FOR D60PL)

SN: 45001-45020

1шт.

22

141-14-32351

GASKET (K2)

SN: 46079-UP

2шт.

22

0

GASKET (K2)

SN: 45001-46078

2шт.

23

141-14-32360

COVER

SN: 45001-UP

2шт.

24

01010-51025

BOLT

SN: 45001-UP

4шт.

25

01602-21030

WASHER,SPRING

SN: 45001-UP

4шт.

26

144-14-12250

PLUNGER,(FOR D60P)

SN: 45848-UP

3шт.

26

0

PLUNGER,(FOR D60P)

SN: 45001-45847

3шт.

26

144-14-12250

PLUNGER,(FOR D60PL)

SN: 45115-UP

3шт.

26

0

PLUNGER,(FOR D60PL)

SN: 45001-45114

3шт.

27

120-14-35540

SPRING,(FOR D60P)

SN: 45848-UP

3шт.

27

0

SPRING,(FOR D60P)

SN: 45001-45847

3шт.

27

120-14-35540

SPRING,(FOR D60PL)

SN: 45115-UP

3шт.

27

0

SPRING,(FOR D60PL)

SN: 45001-45114

3шт.

28

141-14-32270

PLUNGER

SN: 45001-UP

1шт.

29

141-14-32241

SPRING

SN: 45001-UP

1шт.

30

141-14-32510

COVER

SN: 45001-UP

1шт.

31

141-14-32522

GASKET (K2)

SN: 46079-UP

1шт.

31

0

GASKET (K2)

SN: 45001-46078

1шт.

32

01010-81025

BOLT

SN: 45001-UP

4шт.

33

01602-21030

WASHER,SPRING

SN: 45001-UP

4шт.

Выбрано товаров: 50