Запчасти Komatsu D60P-8 РЫЧАГ УПРАВЛ-Я ПОДАЧЕЙ ТОПЛИВА КОМПОНЕНТЫ ДВИГАТЕЛЯ И ЭЛЕКТРИКА

Схема запчастей Komatsu D60P-8 - РЫЧАГ УПРАВЛ-Я ПОДАЧЕЙ ТОПЛИВА КОМПОНЕНТЫ ДВИГАТЕЛЯ И ЭЛЕКТРИКА
FIT
1:1
100%

Артикул

Название

Примечание

Количество

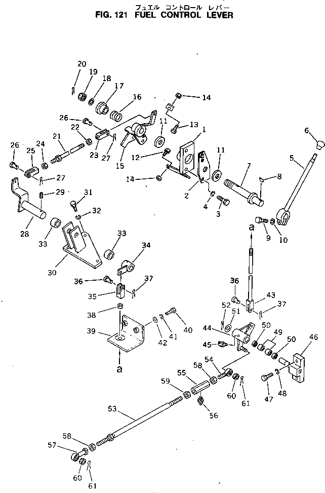
1

120-43-32311

BRACKET

SN: 45001-UP

1шт.

2

130-43-64270

BRACKET

SN: 45001-UP

1шт.

3

01010-51016

BOLT

SN: 45001-UP

2шт.

4

01602-21030

WASHER,SPRING

SN: 45001-UP

2шт.

5

124-43-26470

LEVER

SN: 45001-UP

1шт.

6

09304-00835

KNOB

SN: 45001-UP

1шт.

7

10E-43-11141

SHAFT

SN: 45001-UP

1шт.

8

04010-00516

KEY

SN: 45001-UP

1шт.

9

01010-50830

BOLT

SN: 45001-UP

1шт.

10

01602-20825

WASHER,SPRING

SN: 45001-UP

1шт.

11

10E-43-11160

FACING

SN: 45001-UP

2шт.

12

01016-50835

BOLT

SN: 45001-UP

1шт.

13

01016-50830

BOLT

SN: 45001-UP

1шт.

14

01580-10806

NUT

SN: 45001-UP

2шт.

15

144-43-25230

LEVER

SN: 45001-UP

1шт.

16

10E-43-11190

SPRING

SN: 45001-UP

1шт.

17

10E-43-11180

RETAINER

SN: 45001-UP

1шт.

18

01641-21223

WASHER

SN: 45001-UP

1шт.

19

01590-11215

NUT

SN: 45001-UP

1шт.

20

04050-03022

PIN,COTTER

SN: 45001-UP

1шт.

21

04248-10819

ROD

SN: 45001-UP

1шт.

22

01580-10806

NUT

SN: 45001-UP

1шт.

23

04211-20844

YOKE

SN: 45001-UP

1шт.

24

01508-20805

NUT,L.H. THREAD

SN: 45001-UP

1шт.

25

04221-20844

YOKE,L.H. THREAD

SN: 45001-UP

1шт.

26

04205-10822

PIN

SN: 45001-UP

2шт.

27

04050-12012

PIN,COTTER

SN: 45001-UP

2шт.

28

144-43-25240

LEVER

SN: 45001-UP

1шт.

29

01322-40812

SCREW

SN: 45001-UP

1шт.

30

120-43-32342

BRACKET

SN: 45001-UP

1шт.

31

01010-51230

BOLT

SN: 45001-UP

3шт.

32

01602-21236

WASHER,SPRING

SN: 45001-UP

3шт.

33

09350-02015

BUSHING

SN: 45001-UP

2шт.

34

144-43-51170

LEVER

SN: 45001-UP

1шт.

35

04211-20844

YOKE

SN: 45001-UP

2шт.

36

04205-10822

PIN

SN: 45001-UP

2шт.

37

04050-12012

PIN,COTTER

SN: 45001-UP

2шт.

38

01580-10806

NUT

SN: 45001-UP

1шт.

39

144-43-25360

BRACKET

SN: 45001-UP

1шт.

40

01010-51030

BOLT

SN: 45001-UP

2шт.

41

01602-21030

WASHER,SPRING

SN: 45001-UP

2шт.

42

01643-31032

WASHER

SN: 45001-UP

2шт.

43

04244-50833

ROD

SN: 45001-UP

1шт.

44

144-43-51110

LEVER

SN: 45001-UP

1шт.

45

07020-00900

FITTING,GREASE

SN: 45001-UP

1шт.

46

144-43-25320

BRACKET

SN: 45001-UP

1шт.

47

01010-51240

BOLT

SN: 45001-UP

2шт.

48

01602-21236

WASHER,SPRING

SN: 45001-UP

2шт.

49

06120-01612

BEARING

SN: 45001-UP

2шт.

50

06122-01603

SEAL

SN: 45001-UP

2шт.

51

01643-31645

WASHER

SN: 45001-UP

1шт.

52

04050-14025

PIN,COTTER

SN: 45001-UP

1шт.

53

144-43-51160

ROD,(FOR D60P)

SN: 45001-UP

1шт.

53

14F-43-21110

ROD,(FOR D60PL)

SN: 45001-UP

1шт.

54

04252-00853

END

SN: 45001-UP

1шт.

55

144-43-51130

JOINT

SN: 45001-UP

1шт.

56

07020-00000

FITTING,GREASE

SN: 45001-UP

1шт.

57

04250-50847

END

SN: 45001-UP

2шт.

58

01508-10805

NUT, L.H. THREAD,L.H. THREAD

SN: 45001-UP

2шт.

59

01580-20806

NUT

SN: 45001-UP

1шт.

60

01590-10809

NUT

SN: 45001-UP

2шт.

61

04050-12015

PIN,COTTER

SN: 45001-UP

2шт.

Выбрано товаров: 62