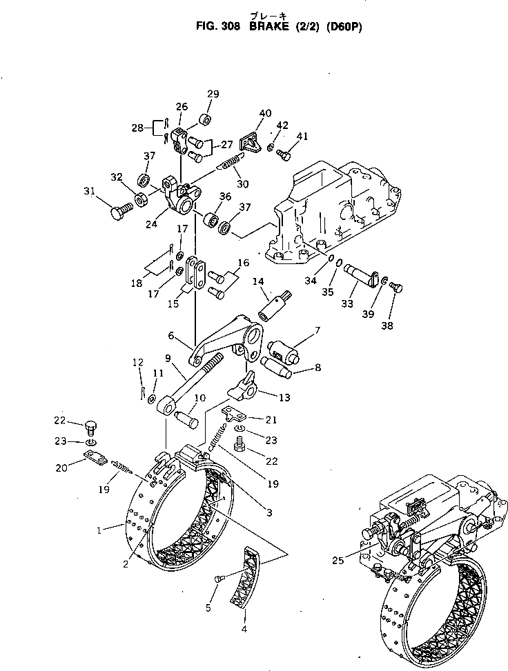
Запчасти Komatsu D60P-8 ТОРМОЗ. (/) СИСТЕМАУПРАВЛЕНИЯ ПОВОРОТОМ И КОНЕЧНАЯ ПЕРЕДАЧА

Схема запчастей Komatsu D60P-8 - ТОРМОЗ. (/) СИСТЕМАУПРАВЛЕНИЯ ПОВОРОТОМ И КОНЕЧНАЯ ПЕРЕДАЧА
FIT
1:1
100%

Артикул

Название

Примечание

Количество

|$0

144-33-52111

BRAKE BAND ASS'Y

SN: 45313-UP

2шт.

|$1

144-33-05071

SERVICE KIT (K4)

SN: 45001-45312

2шт.

|$2

0

BRAKE BAND ASS'Y

SN: (45001-45312)

2шт.

1

144-33-51551

BAND,BRAKE

SN: 45313-UP

1шт.

1

144-33-51710

BAND,BRAKE (K4)

SN: 45001-45312

1шт.

1

0

BAND,BRAKE

SN: (45001-45312)

1шт.

2

144-33-51610

LINING,BRAKE (K4,5)

SN: 45001-UP

2шт.

3

144-33-51610

LINING,BRAKE (K5)

SN: 45313-UP

2шт.

3

144-33-51620

LINING,BRAKE (K5)

SN: 45001-45312

2шт.

4

144-33-51630

LINING,BRAKE (K4,5)

SN: 45001-UP

6шт.

5

04412-00512

RIVET (K4,5)

SN: 45313-UP

64шт.

5

04412-00512

RIVET (K5)

SN: 45001-45312

62шт.

6

144-33-51180

LEVER

SN: 45313-UP

2шт.

6

0

LEVER

SN: 45001-45312

2шт.

7

144-33-11310

PIN

SN: 45001-UP

2шт.

8

144-33-11280

PIN

SN: 45001-UP

2шт.

9

144-33-51210

ROD

SN: 45001-UP

2шт.

10

144-33-51330

PIN

SN: 45001-UP

2шт.

11

01640-21626

WASHER

SN: 45001-UP

2шт.

12

04050-24028

PIN,COTTER (K3)

SN: 45001-UP

2шт.

13

144-33-51190

END

SN: 45313-UP

2шт.

13

0

END

SN: 45001-45312

2шт.

14

144-33-21220

NUT

SN: 45001-UP

2шт.

15

144-33-21230

PLATE

SN: 45001-UP

4шт.

16

04205-01848

PIN

SN: 45001-UP

4шт.

17

01640-21826

WASHER

SN: 45001-UP

4шт.

18

04050-24028

PIN,COTTER (K3)

SN: 45001-UP

4шт.

19

144-33-11260

SPRING

SN: 45001-UP

4шт.

20

144-33-51230

HANGER (K4)

SN: 45313-UP

2шт.

20

144-33-11240

HANGER

SN: 45001-45312

2шт.

21

144-33-51220

PLATE (K4)

SN: 45313-UP

2шт.

21

144-33-21350

PLATE

SN: 45001-45312

2шт.

22

01010-51425

BOLT

SN: 45001-UP

8шт.

23

01602-21442

WASHER,SPRING

SN: 45001-UP

8шт.

24

144-33-21250

LEVER,R.H.

SN: 45001-UP

1шт.

25

144-33-21240

LEVER,L.H.

SN: 45001-UP

1шт.

26

144-33-21260

LEVER

SN: 45001-UP

2шт.

27

04205-01638

PIN

SN: 45001-UP

4шт.

28

04050-24028

PIN,COTTER (K3)

SN: 45001-UP

4шт.

29

170-33-13330

ROLLER

SN: 45001-UP

2шт.

30

135-43-21480

SPRING

SN: 45001-UP

2шт.

31

144-33-21290

BOLT

SN: 45001-UP

2шт.

32

01583-12012

NUT

SN: 45001-UP

2шт.

33

144-33-21280

SHAFT

SN: 45001-UP

2шт.

34

07000-03022

O-RING (K3)

SN: 45001-UP

2шт.

35

07000-03025

O-RING (K3)

SN: 45001-UP

2шт.

36

144-33-21370

BEARING

SN: 45001-UP

2шт.

37

144-33-21380

COLLAR

SN: 45001-UP

4шт.

38

01010-51025

BOLT

SN: 45001-UP

4шт.

39

01602-21030

WASHER,SPRING

SN: 45001-UP

4шт.

40

130-33-62250

BRACKET

SN: 45001-UP

2шт.

41

01010-51025

BOLT

SN: 45001-UP

2шт.

42

01602-21030

WASHER,SPRING

SN: 45001-UP

2шт.

Выбрано товаров: 53