Запчасти Komatsu D60P-8 РУЛЕВ. УПРАВЛЕНИЕ И ОСНОВН. МУФТА НАСОС СИСТЕМАУПРАВЛЕНИЯ ПОВОРОТОМ И КОНЕЧНАЯ ПЕРЕДАЧА

Схема запчастей Komatsu D60P-8 - РУЛЕВ. УПРАВЛЕНИЕ И ОСНОВН. МУФТА НАСОС СИСТЕМАУПРАВЛЕНИЯ ПОВОРОТОМ И КОНЕЧНАЯ ПЕРЕДАЧА
FIT
1:1
100%

Артикул

Название

Примечание

Количество

|$0

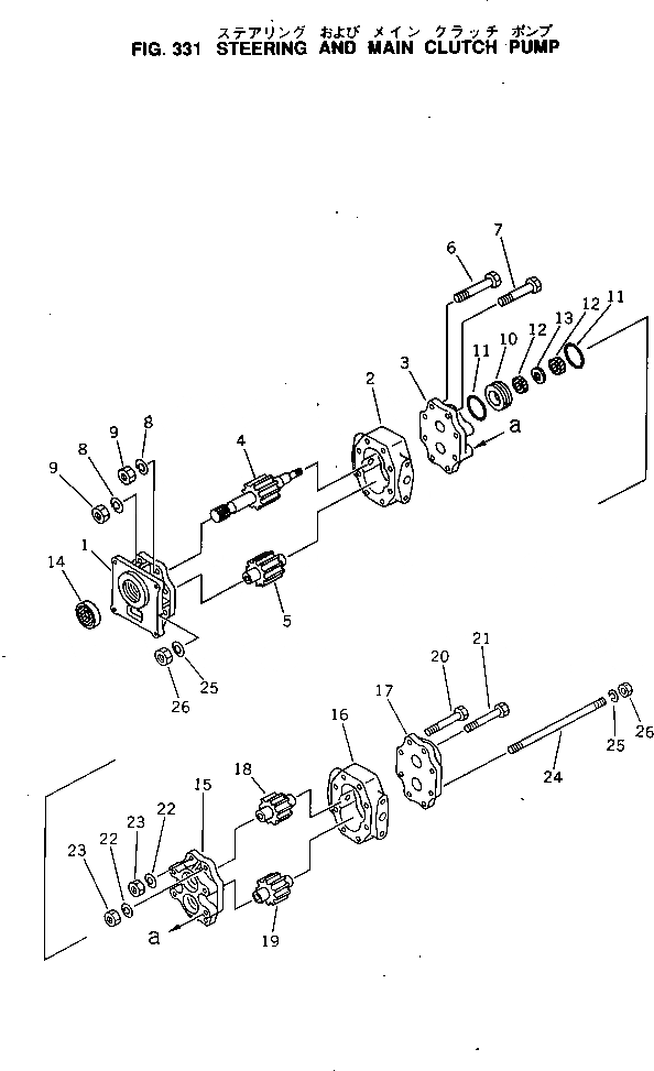
07400-40500

PUMP ASS'Y,TANDEM

SN: 45001-UP

1шт.

|$1

07430-72301

PUMP ASS'Y,(FAR032)

SN: 45001-UP

1шт.

1

0

BRACKET

SN: 45001-UP

1шт.

2

0

CASE

SN: 45001-UP

1шт.

3

0

CARRIER ASS'Y

SN: 45001-UP

1шт.

4

0

GEAR,DRIVE

SN: 45001-UP

1шт.

5

0

GEAR,DRIVEN

SN: 45001-UP

1шт.

6

0

BOLT

SN: 45001-UP

2шт.

7

0

BOLT

SN: 45001-UP

2шт.

8

0

WASHER,SPRING

SN: 45001-UP

4шт.

9

0

NUT

SN: 45001-UP

4шт.

10

07430-71370

COLLAR

SN: 45001-UP

1шт.

11

07430-71380

O-RING

SN: 45001-UP

2шт.

12

07430-71360

SEAL,OIL

SN: 45001-UP

2шт.

13

704-17-01870

PLATE

SN: 45001-UP

1шт.

14

07430-71160

SEAL,OIL

SN: 45001-UP

1шт.

|$16

07433-72400

PUMP ASS'Y,(FAR045)

SN: 45001-UP

1шт.

15

0

CARRIER ASS'Y

SN: 45001-UP

1шт.

16

0

CASE

SN: 45001-UP

1шт.

17

0

HOUSING

SN: 45001-UP

1шт.

18

0

GEAR,DRIVE

SN: 45001-UP

1шт.

19

0

GEAR,DRIVEN

SN: 45001-UP

1шт.

20

0

BOLT

SN: 45001-UP

2шт.

21

0

BOLT

SN: 45001-UP

2шт.

22

0

WASHER,SPRING

SN: 45001-UP

4шт.

23

0

NUT

SN: 45001-UP

4шт.

24

07430-72090

STUD

SN: 45001-UP

4шт.

25

01602-21236

WASHER,SPRING

SN: 45001-UP

8шт.

26

01582-11210

NUT

SN: 45001-UP

8шт.

Выбрано товаров: 29