Запчасти Komatsu D60P-8 ТОПЛИВН. БАК. КОМПОНЕНТЫ ДВИГАТЕЛЯ И ЭЛЕКТРИКА

Схема запчастей Komatsu D60P-8 - ТОПЛИВН. БАК. КОМПОНЕНТЫ ДВИГАТЕЛЯ И ЭЛЕКТРИКА
FIT
1:1
100%

Артикул

Название

Примечание

Количество

|$0

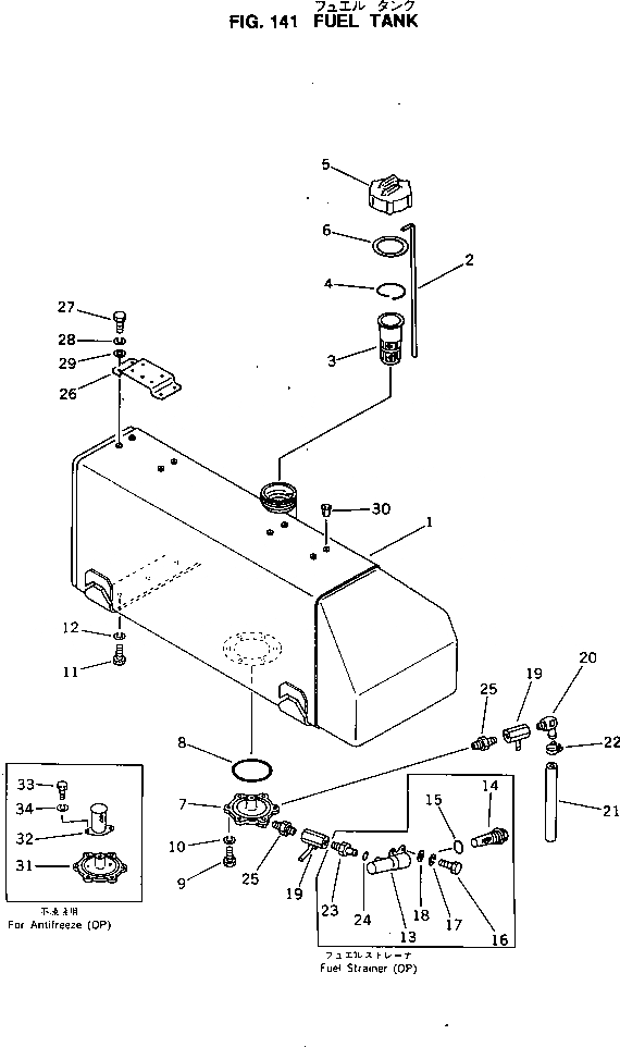
144-04-00500

FUEL TANK ASS'Y

SN: 45001-UP

1шт.

1

0

TANK

SN: 45001-UP

1шт.

2

144-04-12310

GAUGE

SN: 45001-UP

1шт.

3

07056-18416

STRAINER

SN: 45001-UP

1шт.

4

07057-04087

RING

SN: 45001-UP

1шт.

5

07050-41200

CAP

SN: 45001-UP

1шт.

6

07050-21202

GASKET

SN: 45001-UP

1шт.

7

141-04-33110

FLANGE

SN: 45001-UP

1шт.

8

07000-02135

O-RING

SN: 45001-UP

1шт.

9

01010-31025

BOLT

SN: 45001-UP

6шт.

10

01602-01030

WASHER,SPRING

SN: 45001-UP

6шт.

11

01010-31435

BOLT

SN: 45001-UP

6шт.

12

01602-01442

WASHER,SPRING

SN: 45001-UP

6шт.

|$13

144-04-00320

STRAINER ASS'Y,(WITH FUEL STRAINER)

SN: 45001-UP

1шт.

13

141-04-33120

CASE,(WITH FUEL STRAINER)

SN: 45001-UP

1шт.

14

154-04-12531

STRAINER,(WITH FUEL STRAINER)

SN: 45001-UP

1шт.

15

07000-03038

O-RING,(WITH FUEL STRAINER)

SN: 45001-UP

1шт.

16

01010-31030

BOLT,(WITH FUEL STRAINER)

SN: 45001-UP

2шт.

17

01602-01030

WASHER,(WITH FUEL STRAINER)

SN: 45001-UP

2шт.

18

01643-31032

WASHER,(WITH FUEL STRAINER)

SN: 45001-UP

2шт.

19

07700-40460

VALVE

SN: 45001-UP

2шт.

20

131-04-54130

ELBOW

SN: 45001-UP

1шт.

21

07270-01260

TUBE

SN: 45001-UP

1шт.

21

07270-31260

TUBE,(FOR COLD WEATHER)

SN: 45001-UP

1шт.

22

07280-01620

CLAMP

SN: 45001-UP

1шт.

23

135-04-13151

NIPPLE,(WITH FUEL STRAINER)

SN: 45001-UP

1шт.

24

07000-02015

O-RING,(WITH FUEL STRAINER)

SN: 45001-UP

1шт.

25

131-04-54120

NIPPLE

SN: 45001-UP

2шт.

26

120-04-31141

BRACKET

SN: 45001-UP

1шт.

27

01010-31225

BOLT

SN: 45001-UP

4шт.

28

01602-01236

WASHER,SPRING

SN: 45001-UP

4шт.

29

01643-31232

WASHER

SN: 45001-UP

4шт.

30

07049-01215

PLUG

SN: 45001-UP

4шт.

31

141-04-33310

FLANGE,(FOR ANTIFREEZE)

SN: 45001-UP

1шт.

32

141-04-33320

STRAINER,(FOR ANTIFREEZE)

SN: 45001-UP

1шт.

33

01010-50812

BOLT,(FOR ANTIFREEZE)

SN: 45001-UP

2шт.

34

01602-20825

WASHER,(FOR ANTIFREEZE)

SN: 45001-UP

2шт.

Выбрано товаров: 0