Запчасти Komatsu D60PL-6 КАПОТ И ЧАСТИ КОРПУСА (/) ЧАСТИ КОРПУСА

Схема запчастей Komatsu D60PL-6 - КАПОТ И ЧАСТИ КОРПУСА (/) ЧАСТИ КОРПУСА
FIT
1:1
100%

Артикул

Название

Примечание

Количество

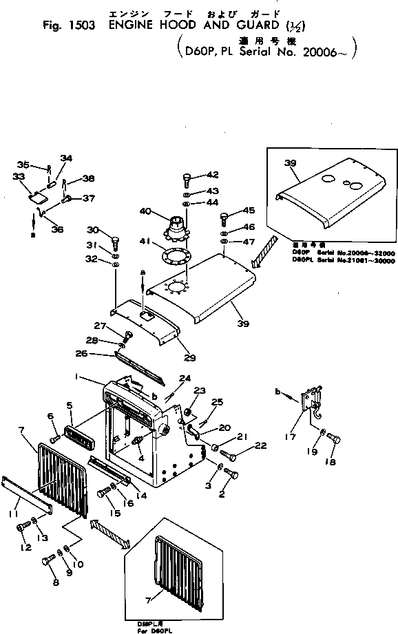
1

144-811-1310

GUARD,(FOR TILT DOZER)

SN: 20000-20000

1шт.

|1

144-811-6111

GUARD,(FOR STRAIGHT DOZER)

SN: 20000-20000

1шт.

|1

144-811-6110

GUARD

SN: 20000-20000

1шт.

|1

144-811-1116

GUARD

SN: 20000-20000

1шт.

|1

144-811-1114

GUARD

SN: 20000-20000

1шт.

|1

144-811-1113

GUARD

SN: 20000-20000

1шт.

|1

144-811-1112

GUARD

SN: 20000-20000

1шт.

|1

144-870-1512

GUARD

SN: 28061-UP

1шт.

|1

144-870-1511

GUARD

SN: 21081-28060

1шт.

2

01019-22015

BOLT

SN: 22388-UP

18шт.

|2

01049-22015

BOLT

SN: 20024-22387

18шт.

|2

144-54-11260

BOLT

SN: 20006-20021

18шт.

3

01602-02060

WASHER

SN: 20006-UP

18шт.

4

07020-00000

FITTING

SN: 20006-UP

2шт.

5

141-54-31211

PLATE¤ MARK

SN: 20000-20000

1шт.

|5

144-54-11340

PLATE¤ MARK

SN: 20000-20000

1шт.

|5

144-54-11341

PLATE¤ MARK

SN: 20000-20000

1шт.

|5

144-54-11340

PLATE¤ MARK

SN: 21081-UP

1шт.

6

01225-20830

SCREW

SN: 20000-20000

2шт.

|6

01225-20830

SCREW

SN: 21081-UP

4шт.

|6

01225-20830

SCREW

SN: 20000-20000

2шт.

7

144-54-11520

GRILLE

SN: 29849-UP

1шт.

|7

144-54-11314

GRILLE

SN: 20114-29848

1шт.

|7

144-54-11313

GRILLE

SN: 20054-20113

1шт.

|7

144-54-11312

GRILLE

SN: 20024-20053

1шт.

|7

144-54-11311

GRILLE

SN: 20006-20021

1шт.

8

01010-31425

BOLT

SN: 22388-UP

4шт.

|8

01040-31425

BOLT

SN: 20054-23387

4шт.

|8

01040-31430

BOLT

SN: 20006-20053

4шт.

9

01602-01442

WASHER

SN: 20006-UP

4шт.

10

01643-31445

WASHER

SN: 20006-UP

4шт.

11

144-54-11291

BUMPER

SN: 20032-UP

1шт.

|11

144-54-11290

BUMPER

SN: 20024-20031

1шт.

12

01252-21230

BOLT

SN: 20032-UP

4шт.

|12

01252-31240

BOLT

SN: 20024-20031

4шт.

13

01602-01236

WASHER

SN: 20024-UP

4шт.

14

144-54-11422

PLATE

SN: 20488-UP

1шт.

|14

0

PLATE

SN: 20054-20487

1шт.

|$$39

(144-54-11422{144-03-11122¤}

-1шт.

|$$40

01010-30814(3))

-1шт.

|14

144-54-11420

COVER

SN: 20006-20053

1шт.

15

01010-30814

BOLT

SN: 20488-UP

3шт.

|15

01000-30820

BOLT

SN: 20006-20487

3шт.

16

01602-00825

WASHER

SN: 20006-UP

3шт.

17

144-54-11200

CATCHER ASS'Y,R.H.

SN: 20006-UP

1шт.

|17

144-54-11300

CATCHER ASS'Y,L.H.

SN: 20006-UP

1шт.

18

01010-31220

BOLT

SN: 20032-UP

6шт.

|18

01040-31020

BOLT

SN: 20006-20031

6шт.

19

01602-01236

WASHER

SN: 20032-UP

6шт.

|19

01602-01030

WASHER

SN: 20006-20031

6шт.

20

144-811-6210

PLATE

SN: 28073-UP

2шт.

|20

144-811-1221

PLATE

SN: 20024-28072

2шт.

|20

141-811-1220

PLATE

SN: 20006-20021

2шт.

21

140-60-15460

TUBE

SN: 20006-UP

2шт.

22

01012-31245

BOLT

SN: 20006-UP

2шт.

23

01590-01215

NUT

SN: 20006-UP

2шт.

24

04050-03025

PIN

SN: 20006-UP

2шт.

25

04050-00060

PIN

SN: 20006-UP

2шт.

26

144-54-11413

COVER

SN: 20054-UP

1шт.

|26

144-54-11412

COVER

SN: 20024-20053

1шт.

|26

144-54-11411

COVER

SN: 20006-20021

1шт.

27

01010-31220

BOLT

SN: 20054-UP

4шт.

|27

01040-31016

BOLT

SN: 20006-20053

4шт.

28

01602-01236

WASHER

SN: 20054-UP

4шт.

|28

01602-01030

WASHER

SN: 20006-20053

4шт.

29

144-811-6150

COVER

SN: 28073-UP

1шт.

|29

144-54-11122

COVER

SN: 20024-20053

1шт.

|29

144-54-11121

COVER

SN: 20054-28072

1шт.

30

01010-31225

BOLT

SN: 20006-UP

8шт.

31

01602-01236

WASHER

SN: 20006-UP

8шт.

32

01643-31232

WASHER

SN: 20006-UP

8шт.

33

141-54-11170

COVER

SN: 20006-UP

1шт.

34

131-54-11270

PIN

SN: 20006-UP

1шт.

35

04050-01610

PIN

SN: 20006-UP

2шт.

36

131-54-11150

SPRING

SN: 20006-UP

2шт.

37

04205-00618

PIN

SN: 20006-UP

2шт.

38

04050-01610

PIN

SN: 20006-UP

2шт.

39

144-54-11134

HOOD

SN: 30001-UP

1шт.

|39

144-54-11133

HOOD

SN: 28061-30000

1шт.

|39

144-54-11131

HOOD

SN: 20054-28060

1шт.

|39

144-54-11132

HOOD

SN: 20024-20053

1шт.

40

144-54-11250

BRACKET

SN: 30001-UP

1шт.

41

145-54-41280

PLATE

SN: 30001-UP

1шт.

42

01010-31235

BOLT

SN: 30001-UP

9шт.

43

01602-01236

WASHER

SN: 30001-UP

9шт.

44

01643-31232

WASHER

SN: 30001-UP

9шт.

45

01010-31225

BOLT

SN: 20006-UP

5шт.

46

01602-01236

WASHER

SN: 20006-UP

5шт.

47

01643-31232

WASHER

SN: 20006-UP

5шт.

Выбрано товаров: 89