Запчасти Komatsu D60PL-6 МАРКИРОВКА ЧАСТИ КОРПУСА

Схема запчастей Komatsu D60PL-6 - МАРКИРОВКА ЧАСТИ КОРПУСА
FIT
1:1
100%

Артикул

Название

Примечание

Количество

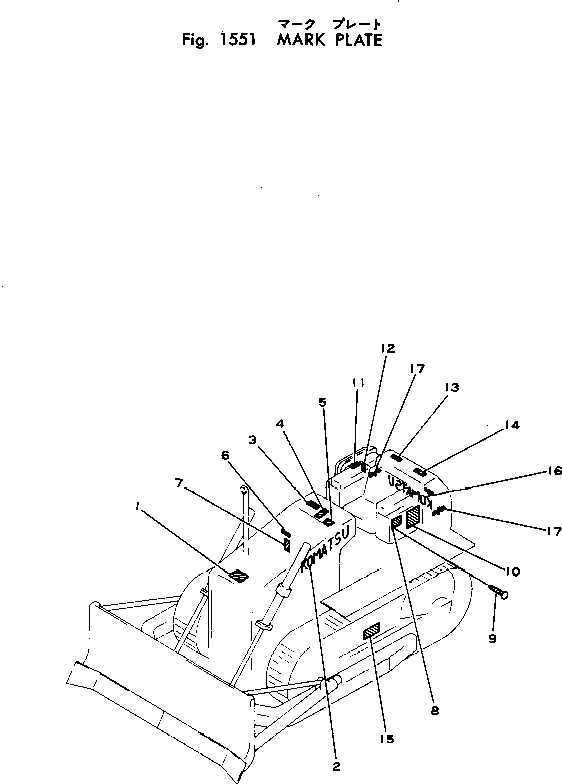
1

09650-00101

PLATE¤ INSTRUCTION,RADIATOR

SN: 28013-UP

1шт.

2

09690-00900

PLATE¤ MARK

SN: 20006-UP

2шт.

3

09654-00060

PLATE¤ SAFETY,STARTING AND LEAVING SEAT

SN: 20006-UP

1шт.

4

144-54-18120

PLATE¤ OPERATING,SHIFT

SN: 20006-UP

1шт.

5

144-819-1161

PLATE¤ DATA

SN: 20000-20000

1шт.

|5

144-819-1160

PLATE¤ DATA

SN: 20000-20000

1шт.

|5

144-870-1680

PLATE¤ DATA

SN: 28007-UP

1шт.

6

09683-00050

PLATE¤ NAME,STARTING SWITCH

SN: 20006-UP

1шт.

7

09682-00021

PLATE¤ OPERATING,DECOMPRESSION LEVER

SN: 20006-UP

1шт.

8

09602-01635

PLATE¤ NAME,(LIMITED SUPPLY)

SN: 20006-UP

1шт.

9

04418-03060

SCREW

SN: 20006-UP

4шт.

10

144-819-1150

CHART

SN: 20000-20000

1шт.

|10

144-870-1690

CHART¤ OIL

SN: 20006-UP

1шт.

11

09653-00080

PLATE¤ SAFETY,HYDRAULIC TANK

SN: 20006-UP

1шт.

12

09655-00120

PLATE¤ INSTRUCTION,OIL FILTER

SN: 20006-UP

1шт.

13

09656-00080

PLATE¤ INSTRUCTION,FUEL TANK STRAINER

SN: 20006-UP

1шт.

14

09652-00100

PLATE¤ CAUTION,FUEL TANK

SN: 20006-UP

1шт.

15

09657-00125

PLATE¤ SAFETY,TRACK SHOE ADJUSTING

SN: 20006-UP

1шт.

16

09692-05604

PLATE¤ MARK

SN: 20000-20000

1шт.

|16

09692-49060

PLATE¤ MARK

SN: 20006-UP

1шт.

17

09691-05604

PLATE¤ MARK

SN: 20000-20000

2шт.

|17

09691-41608

PLATE¤ MARK

SN: 20006-UP

2шт.

Выбрано товаров: 22